LEXUS PARKING ASSIST-SENSOR SYSTEM PARTS LOCATION

A01FC3YE01
Text in Illustration
*1 ECM *2 Front Corner No. 1 Ultrasonic Sensor RH
*3 Front Center No. 1 Ultrasonic Sensor RH *4 Front Center No. 1 Ultrasonic Sensor LH
*5 Front Corner No. 1 Ultrasonic Sensor LH *6 Rear Corner No. 1 Ultrasonic Sensor LH
*7 Rear Center No. 1 Ultrasonic Sensor LH *8 Rear Center No. 1 Ultrasonic Sensor RH
*9 Rear Corner No. 1 Ultrasonic Sensor RH - -
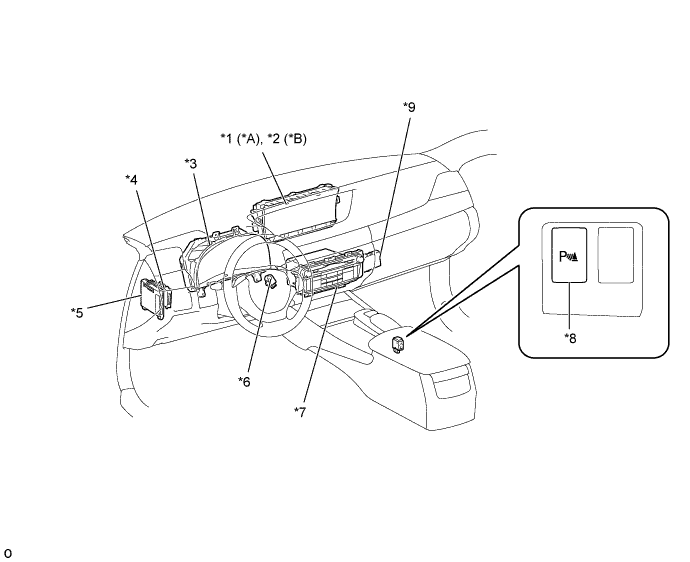
A01FC5YE01
Text in Illustration
*A Models with 8-inch Display *B Models with 12.3-inch Display
*1 Multi-display *2 Accessory Meter Assembly
*3 Combination Meter Assembly *4 Clearance Warning ECU Assembly
*5 Main Body ECU (Multiplex Network Body ECU) *6 No. 1 Clearance Warning Buzzer
*7 Multi-media Module Receiver Assembly *8 Back Sonar or Clearance Sonar Switch Assembly
*9 Network Gateway ECU - -