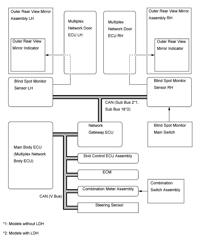
BLIND SPOT MONITOR SYSTEM SYSTEM DIAGRAM

A01FC8JE02