PARKING ASSIST MONITOR SYSTEM DETAILS


  1. FUNCTION OF MAIN COMPONENTS

    Component Function
    Multi-display*1 Receives visual signals representing of the area behind the vehicle with parking assist guide lines overlaid from the multi-media module receiver assembly, and displays them on the display panel.
    Accessory Meter Assembly*2
    Multi-media Module Receiver Assembly Receives signals from the remote touch and outputs a signal to the multi-display.
    Rear Television Camera Assembly Captures images of the area behind the vehicle and outputs visual signals to the multi-media module receiver assembly.
    Remote Touch Switches the assist modes.
    Skid Control ECU Assembly Detects the angle of the steering wheel and sends the resulting signals to the multimedia module receiver assembly.
    ECM Transmits the shift position signal to the multi-media module receiver assembly.
    Park/Neutral Position Switch Assembly Transmits the shift position signal to the ECM.
    Steering Sensor Detects the steering angle and transmits signals to the multi-media module receiver assembly.
    Main Body ECU (Multiplex Network Body ECU) Outputs the luggage compartment door courtesy switch signal to the multi-media module receiver assembly.
    Rear Steering Control ECU*3 Transmits the DRS signal to the network gateway ECU.
    Front Steering Control ECU*3 Transmits the VGRS signal to the multi-media module receiver assembly.
    Network Gateway ECU Receives and handles each type of signal, and sends them to the multi-media module receiver assembly.

    • *1: Models with 8-inch display

    • *2: Models with 12.3-inch display

    • *3: Models with Lexus dynamic handling system

  2. OPERATING CONDITION


    1. Parking Assist Monitor System


      1. Parking assist monitor system operates when all of the following conditions are met:


        • The engine switch is on (IG).

        • The shift lever is moved to R.

        • The luggage compartment door is closed.

  3. FUNCTION


    1. Area Displayed on Screen


      1. Rear Television Camera Assembly


        • On the display, objects on the right of the vehicle appear on the right side of the display panel, and objects on the left of the vehicle appear on the left side of the display panel.

        • The rear television camera assembly uses a wide-angle lens. The perceived distance from images that appear on the screen differs from the actual distance.

          A01FBNC

          Tech Tips

          The area displayed on the screen may vary in accordance with vehicle status or road conditions. The area covered by the rear television camera assembly is limited. The rear television camera assembly does not show objects close to either corner of the bumper or under the bumper.

    2. Warning Message


      1. A warning message appears at the bottom, side or center of the screen under the following conditions. The warning message appears in the same language that has been selected by the language selector of the multi display.

        Message Appearing at Bottom or Side of Screen
        Warning Message Condition
        Check surroundings for safety During system operation.
        System Initializing When the system is restarted after the multi-media module receiver assembly detects that a battery terminal has been disconnected and subsequently reconnected.
        Guidance Unavailable When an error in the steering angle sensor occurs.
        Message Appearing at Center of Screen
        Warning Message Condition
        System not ready When the system is not initialized.
  4. CONSTRUCTION


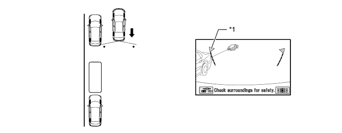
    1. Rear Television Camera Assembly


      1. The rear television camera assembly consists of a wide-angle lens and a Complementary Metal Oxide Semiconductor (CMOS).

        A01FCBXE01
        Text in Illustration
        *1 Rear Television Camera Assembly - -
    2. Multi-display (Parking Assist Monitor Display)


      1. Perpendicular Parking Mode


        • Perpendicular parking mode consists of A: parking guide line mode, B: guide line deletion mode and C: estimated guide line mode. The initial (default) setting for manual assist is estimated guide line mode.

        • Each mode can be changed by pressing the display mode switch screen button.

        • When perpendicular parking mode is operating, fixed guide lines appear superimposed on a view of the area behind the vehicle. These guide lines can be used to assist the driver while backing the vehicle up.

          A01FC9XE01
          Text in Illustration
          *1 Display Mode Switch Screen Button - -
          *a Parking Assist Guide Line Display Mode *b Distance Guide Line Display Mode
          *c Estimated Course Display Mode - -
        • A description of the parking guide line mode display is provided in the following diagram:

          A01FBXYE01
          Item Description
          *1 Parking Assist Guide Line (Blue) Indicates the path the vehicle will follow if the driver turns the steering wheel fully.
          *2 Vehicle Width Extension Guide Line (Blue) Indicates the estimated vehicle width.
          *3 Distance Guide Line (Red) Indicates a position on the ground approx. 0.5 m (1.6 ft.) behind the rear bumper.
          *4 Display Mode Switch Screen Button Pressing this button changes the rear view monitor mode.
          *5 Warning Message Display Area Indicates the area where warning messages are displayed.
          *6 Parking Mode Switch Screen Button Pressing this button turns parallel parking assist mode on.
        • A description of the guide line deletion mode display is provided in the following diagram:

          A01FBRFE01
          Item Description
          *1 Distance Guide Line (Red) Indicates a position on the ground approx. 0.5 m (1.6 ft.) behind the rear bumper.
          *2 Display Mode Switch Screen Button Pressing this button changes the rear view monitor mode.
          *3 Warning Message Display Area Indicates the area where warning messages are displayed.
          *4 Parking Mode Switch Screen Button Pressing this button turns parallel parking assist mode on.
        • A description of the estimated guide line display is provided in the following diagram:

          A01FC2TE01
          Item Description
          *1 Estimated Course Line (Yellow) Moves in sync with the steering wheel to indicate the estimated reverse course of the vehicle.
          *2 Vehicle Width Extension Guide Line (Blue) Indicates the estimated vehicle width.
          *3 Display Mode Switch Screen Button Pressing this button changes the rear view monitor mode.
          *4 Warning Message Display Area Indicated the area where warning messages are displayed.
          *5 Parking Mode Switch Screen Button Pressing this button turns parallel parking assist mode on.
          *6 Distance Guide Line (Blue) Indicates a position on the ground approx. 0.5 m (1.6 ft.) behind the rear bumper.
          *7 Distance Guide Line (Red) Moves together with estimated guide lines in sync with the steering wheel. The center of the line indicates a position on the ground approx. 0.5 m (1.6 ft.) behind the rear bumper.
          *8 Distance Guide Line (Yellow) Moves together with estimated guide lines in sync with the steering wheel. The center of the line indicates a position on the ground approx. 1.0 m (3.3 ft.) behind the rear bumper.
      2. Parallel Parking Assist Mode


        • Parallel parking assist is available with the following 2 display modes: standard mode and narrow mode.

        • Narrow mode is designed for situations in which the parking space is narrower than the standard mode.

        • Initial (default) parallel parking assist is standard mode.

          A01FBWSE01
          Text in Illustration
          *A Standard Mode *B Narrow Mode
          *1 Space Needed for Parking *2 Display Status
        • Parallel parking assist will display standard mode and narrow mode using the same design.

        • The guide lines displayed for parallel parking assist mode change in accordance with parking maneuvers.

          A01FBUAE01
          Item Description
          *1 Black and Yellow Vertical Pole Serves as a reference position for starting parallel parking.
          *2 Blue Outline
          • Serves as a reference position for the intended parking space.

          • Disappears once the vehicle starts moving backward.

          *3 Curved Blue Line (Blue) Indicates part of the prospective outer path of the vehicle when the steering is turned fully to the right or left side.
          *4 Narrow Mode Screen On-off Button Changes between standard and narrow modes.
          *5 Warning Message Display Area Indicated the area where warning messages are displayed.
          *6 Parking Mode Switch Screen Button Changes between parallel parking assist mode and perpendicular parking mode.
          *7 Estimated Course Line Moves in sync with the steering wheel to indicate the estimated reverse course of the vehicle.
          *8 Distance Guide Line (Yellow) Moves together with estimated guide lines in sync with the steering wheel. The center of the line indicates a position on the ground approx. 1.0 m (3.3 ft.) behind the rear bumper.
          *9 Vehicle Width Extension Guide Line (Blue) Indicates the estimated vehicle width.
          *10 Distance Guide Line (Red) Moves together with estimated guide lines in sync with the steering wheel. The center of the line indicates a position on the ground approx. 0.5 m (1.6 ft.) behind the rear bumper.
  5. OPERATION


    1. Parking Guide Line Mode (Perpendicular Parking) of Parking Assist Monitor System


      1. To use parking assist guide line display mode in perpendicular parking when parking the vehicle in a parking space, perform the following procedure:


        1. Move the shift lever to R.

        2. Select perpendicular parking mode.

        3. Select guide line mode.

        4. An image appears on the display panel as illustrated below:

          A01FCER
        5. Back the vehicle up and stop at the position in which the parking guide line comes in contact with the left side of the intended parking position.

        6. Turn the steering wheel fully to the right and back the vehicle up.

          A01FBR4
        7. Continue backing the vehicle up until the vehicle is parallel to the plotted lines.

        8. Once the vehicle is parallel, aim the steering wheel straight ahead and back the vehicle up to the target stop position.

          A01FCDZ
    2. Projected Path Guidance Mode (Perpendicular Parking) of Rear Parking Assist Monitor System


      1. To use estimated guide line mode in perpendicular parking when parking the vehicle in a parking space, perform the following procedure:


        1. Move the shift lever to R.

        2. Select manual assist mode.

        3. Select estimated guide line mode.

        4. An image appears on the display panel as illustrated below:

          A01FC09
        5. Turn the steering wheel so that the project path guide line are within the parking space, and back up carefully.

          A01FBWU
        6. When the rear of the vehicle is within the parking space, turn the steering wheel in order to equalize the left and right intervals between the vehicle width extension lines and the parking space sidelines.

        7. When the vehicle width extension guide lines and the parking space sidelines are parallel, straighten the steering wheel and then carefully back up until the entire vehicle is within the parking space.

          A01FBNS
    3. Parallel Parking Assist Mode of Parking Assist Monitor System


      1. To use parallel parking assist mode to park the vehicle in the parking space, perform the following procedure:


        1. Stop the vehicle parallel to the road or the curb, at a side-to-side clearance of approximately 1 m (3.3 ft.) from the parked vehicle, approximately one-half car length forward of the parked vehicle.

          A01FBSNE02
          Text in Illustration
          *a Target Parking Position *b Approximately 1 m (3.3 ft.)
        2. Aim the steering wheel straight ahead and move the shift lever to R.

        3. Select parallel parking assist mode.

        4. An image shows on the display panel as illustrated below:

          A01FCBR
        5. Drive the vehicle straight back and stop when the black and yellow vertical pole of the target parking position is aligned with the rear end of the parked vehicle.

          A01FC1XE01
          Text in Illustration
          *1 Black and Yellow Vertical Pole - -
        6. When the steering wheel is turned, the blue outline will appear. At this time, the blue vertical line opposite to the target parking position will disappear when the steering wheel is turned more than 90 degrees.

          A01FCB3E01
          Text in Illustration
          *1 Blue Outline - -
        7. Continue turning the steering wheel, and the blue outline will move in the direction of the target parking position, while the outline changes into a shape as illustrated below. Keep turning the steering wheel until the blue outline reaches the target parking position.

          A01FBL0E01
          Text in Illustration
          *1 Blue Outline - -
        8. However, if the steering wheel is turned too much, the message as shown in the illustration below is displayed and the blue outline will change to red to inform the driver that the assist operation is not possible. Also, when the vehicle is too far away from the shoulder, the same condition will occur even when adjusting the blue outline to a normal position.

          A01FBZGE01
          Text in Illustration
          *1 The blue outline changes to red - -
        9. Keep the steering wheel in the same position and start backing up. The blue vertical line and blue outline will disappear, and a parking guide line appears in the direction of the target parking position.

          A01FBLHE01
          Text in Illustration
          *1 Curved Blue Line - -
        10. Keep the steering wheel in the same position and back up. Stop when the parking guide line reaches the left end of the target parking position.

          A01FC3S
        11. With the vehicle at a standstill, fully turn the steering wheel in the opposite direction.

          A01FCAM
        12. Using the distance guide line slowly back the vehicle until the vehicle up is parallel to the road or curb, while paying attention to the vehicles in front and in back. The parking maneuver is completed once the vehicle is parallel.

          A01FBXK
  6. DIAGNOSIS


    1. The parking assist monitor system is equipped with a diagnosis function which can display the diagnosis menus. The method for entering the diagnosis menu screen is the same as the method used for the multi display. For details, refer to the Repair Manual.