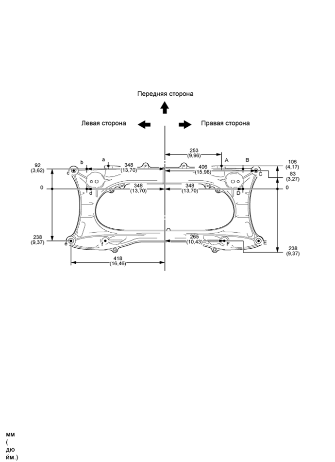
ПОПЕРЕЧИНА ПЕРЕДНЕЙ ПОДВЕСКИ РАЗМЕРЫ В ДВУМЕРНОЙ СИСТЕМЕ КООРДИНАТ

Tech Tips


  • Размеры указываются в местах, где стрелки, исходящие из нулевой точки, пересекают линии, которые выходят из каждой точки и продолжаются за пределы рисунка.

  • Если указан только один размер, значит левая и правая стороны симметричны.


  • В обозначениях прописные буквы соответствуют правой стороне автомобиля, а строчные – левой стороне (если смотреть сзади).

Наименования контрольных точек
Схематическое обозначение Наименование

Диаметр отверстия

мм (дюйм.)

A, a Отверстие для крепления картера механизма рулевого управления с усилителем φ14,5 (0,57)
B, b Отверстие для крепления нижнего рычага передней подвески φ14,5 (0,57)
C Отверстие для крепления подрамника передней подвески φ17,5 (0,69)
c Отверстие для крепления подрамника передней подвески 22X17,5 (0,87X0,69)
D, d Отверстие для крепления нижнего рычага передней подвески φ14,5 (0,57)
E, e Отверстие для крепления подрамника передней подвески φ23 (0,91)
F, f Отверстие для крепления нижнего рычага передней подвески φ12,3 (0,48)
Допуск
Площадка для крепления элемента передней подвески В пределах +/-2,0 мм (0,079 дюйма)
Площадка для крепления рычага тяги В пределах +/-1,5 мм (0,059 дюйма)
A01104QE01
A01108UE01