НАРУЖНАЯ ПАНЕЛЬ ПЕРЕДНЕЙ ДВЕРИ ЗАМЕНА УЗЛА

A01212W

  1. СНЯТИЕ

    Значения символов
    A01211A Точки сварки при снятии

      ТОЧКА СНЯТИЯ

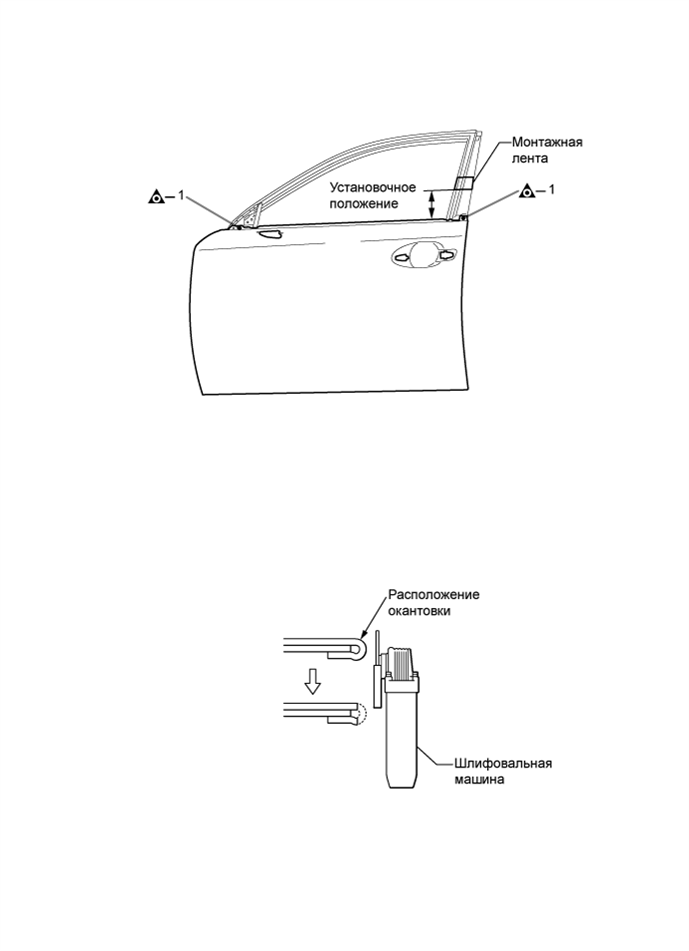
    1. Перед снятием наружной панели отметьте ее положение с помощью монтажной ленты.

    2. Перед снятием наружной панели с помощью, например, маркера отметьте ее точное положение относительно окна.

    3. Срежьте окантовку и снимите наружную панель.

    A0120YDE01
  2. УСТАНОВКА

    Значения символов
    A01212K Сварка электрозаклепкой
    A01216U Точечная сварка MIG
    A01210D Герметик для кузова

      ТОЧКА УСТАНОВКИ

    1. Перед тем, как временно установить новые детали, нанесите герметик для кузова на усилитель, боковой защитный брус, а также на обратную сторону новых деталей.

      Note

      Не закрывайте сливное отверстие.

      Tech Tips

      Нанесите герметик равномерно по кругу на расстоянии около 10 мм (0,39 дюйма) от фланца и 3 мм (0,12 дюйма) от края наружной панели, а также нанесите небольшое количество герметика на усилитель и защитный брус, достаточное для уплотнения места соединения.

    2. Согните край панели под углом примерно 30° с помощью молотка и шаблона для правки. Затем плотно закрепите с помощью приспособления для формования окантовки.

      Tech Tips


      • Обжимку окантовки следует производить в три приема, соблюдая осторожность во избежание повреждения панели.

      • В случае невозможности использования приспособления для формования окантовки, сожмите ее с помощью молотка и шаблона для правки.

    3. После сварки нанесите герметик для кузова на соответствующие детали (См. раздел "Лакокрасочное покрытие".)

    4. После нанесения верхнего слоя покрытия нанесите антикоррозийное средство на сварные точки несущих рабочую нагрузку швов замкнутого профиля с внутренней стороны панели.

    A0120YCE01