ROCKER PANEL(for Hatchback, Wagon) CUT AND JOIN REPLACEMENT SECTIONS

A0031MX


Spot weld Pressure 2940 N (300 kgf, 661 lbf)
Weld current 10000 A
Weld time 16 Cyc. (0.27 Sec.)
Plug weld Plug diameter 10 mm (0.39 in.)
Wire type AWS A5.18 ER70S-3
Shield gas Metal active gas

Plug weld Plug diameter Same as the standard method (See the introduction)
Wire type AWS A5.18 ER70S-3
Shield gas Metal active gas

Note

Be sure to use Metal active gas (Ar 80% + CO220%) as the shield gas when plug welding. Sufficient weld strength cannot be assured when using 100% CO2shield gas.


  1. REMOVAL

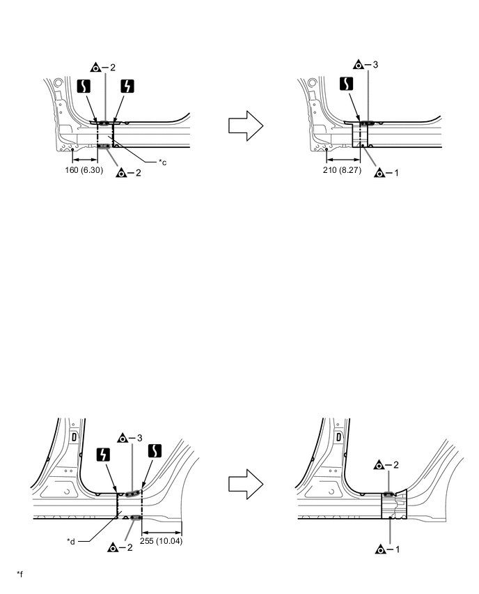
    Symbol Meaning
    A0031WT Remove Weld Points
    A0031P1 Cut with Disc Sander etc.
    A0031EO Cut and Join Location
    A0031BN Cut Location for Supply Parts

      REMOVAL POINT

    1. Do not butt weld or heat repair because the heat decreases the strength of areas where ultra high strength steel is used. (See the introduction)

    2. Reuse *c, as the area of the outer panel that is cut and joined is in front of the supplied part cut position.

    3. Reuse *d, as the area of the outer panel that is cut and joined is to the rear of the supplied part cut position.

    4. Carefully cut the center body pillar reinforcement sub-assembly so not to damage *e.

    A0031JBC02
    *f mm (in.) - -
    A0031WEC01
    *1 CENTER BODY PILLAR REINFORCEMENT SUB-ASSEMBLY - -
    *f mm (in.) - -
    A0031SRC02
    *f mm (in.) - -
  2. INSTALLATION

    Symbol Meaning
    A0031WT Remove Weld Points
    A0031NN Spot Weld
    A0031JY Plug Weld
    A0031EO Cut and Join Location
    A0031KL Fillet Weld
    A0031OI Butt Weld

      INSTALLATION POINT

    1. Inspect the fitting of the related parts around the new parts before welding. This affects the appearance of the finish.

    2. Temporarily install the new parts and measure each part of the new parts in accordance with the body dimension diagram. (See the body dimensions)

    3. If the entire supply part is not needed, remove the part of the supply part that is needed.

    4. Carefully cut the center body pillar reinforcement sub-assembly so not to damage *c.

    5. Follow the welding conditions when welding *a and *b to assure sufficient weld strength. (See the introduction)

    6. Before temporarily installing the new parts, weld the rocker reinforce sub-assembly outer, center body pillar reinforcement sub-assembly and center body pillar reinforce sub-assembly lower with the standard number of welding points.

    7. After welding the rocker reinforce sub-assembly outer, center body pillar reinforcement sub-assembly and center body pillar reinforce sub-assembly lower to the vehicle side, install the center body pillar outer, *d and *e.

    8. After applying the top coat, apply anti-rust agent to the internal panel portion of the closed section structural weld points.

    A0031SUC01
    *1 ROCKER REINFORCE SUB-ASSEMBLY OUTER *2 CENTER BODY PILLAR REINFORCEMENT SUB-ASSEMBLY
    *3 CENTER BODY PILLAR REINFORCE SUB-ASSEMBLY LOWER - -
    *f mm (in.) - -
    A0031JK
    A0031CWC01
    *f mm (in.) - -
    A0031HDC01
    *1 CENTER BODY PILLAR OUTER - -