ПРИ СНЯТИИ, УСТАНОВКЕ, РЕМОНТЕ И ЗАМЕНЕ ДЕТАЛЕЙ И УЗЛОВ СТАНДАРТ ПО РЕГУЛИРОВКЕ УГЛОВ УСТАНОВКИ КОЛЕС

Note

В автомобилях, оборудованных системой VSC, после регулировки углов установки колес, а также после снятия/установки или замены деталей подвески или нижней части кузова обязательно выполните описанную ниже процедуру инициализации, чтобы система могла функционировать нормально:


  1. Убедитесь, что рулевое колесо находится в центральном положении.

  2. Отсоедините более чем на 2 с отрицательный вывод аккумуляторной батареи.

  3. Подсоедините отрицательный вывод аккумуляторной батареи.

  4. Выполните калибровку "нуля" датчика замедления и рысканья, и проверку в режиме активной диагностики.


  1. ПРОВЕРЬТЕ ВЫСОТУ АВТОМОБИЛЯ

    Note

    Перед проверкой углов установки колес отрегулируйте высоту автомобиля в соответствии со спецификацией.


    1. A002KT4E10
      *1 Передняя сторона:
      *2 Задняя сторона::

      Несколько раз нажмите на автомобиль, чтобы стабилизировать подвеску, а затем измерьте высоту автомобиля.

      Если высота автомобиля не удовлетворяет требованиям, отрегулируйте высоту, несколько раз надавив на автомобиль, чтобы стабилизировать подвеску.

      Note

      Указанная здесь номинальная величина используется для регулировки углов установки колес и не отражает высоту для конкретного автомобиля.

    2. ПРОВЕРЬТЕ РАЗВАЛ, УГОЛ ПРОДОЛЬНОГО НАКЛОНА ШКВОРНЯ И УГОЛ ПОПЕРЕЧНОГО НАКЛОНА ОСИ ПОВОРОТА

      A002KY6E37
    3. *1 Датчик
      *2 Стенд проверки углов установки колес

  1. Установите индикатор развала - угла продольного-поперечного наклона шкворня, либо поместите передние колеса в центр стенда проверки углов установки колес.

  2. Проверьте развал, угол продольного наклона оси поворота и угол поперечного наклона оси поворота.

    Tech Tips

    Поперечный угол наклона оси поворота колеса дается для справки.

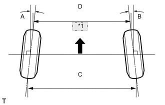
  3. ПРОВЕРЬТЕ СХОЖДЕНИЕ КОЛЕС

    A002KU9E05
  4. *1 Вперед

    1. Стабилизируйте подвеску, покачав автомобиль вверх-вниз на углах, после чего проверьте схождение колес.


      • Если схождение не соответствует требованиям, отрегулируйте его на наконечниках тяг.

      Tech Tips

      Схождение можно измерить посредством A + B или C – D.

    2. ПРОВЕРЬТЕ УГЛЫ ПОВОРОТА КОЛЕС


      1. A002KR6E26
    3. *1 Вперед
      *2 A: Внутри
      *3 B: Снаружи

      Поверните рулевое колесо влево и вправо до упора и измерьте углы поворота.

      Если внутренние углы поворота левого и правого колес не попадают в заданный диапазон, проверьте длины левой и правой рулевых тяг.