WORK NOTICES AND PRECAUTIONS PRECAUTIONS FOR WELDING


  1. REMOVAL OF ADJACENT COMPONENTS


    1. A003QME

      To prevent damage to the body and parts, apply protective tape to the body and tools before removing the parts.

      Note

      If the paint film is damaged, make sure to refinish the paint.

  2. CUTTING WORK

    A003QQ8

    1. When cutting a panel, be careful not to damage the surrounding panels or any panels underneath.

      Note

      If any panels are damaged, be sure to repair them.

  3. ANTI-RUST TREATMENT BEFORE WELDING


    1. A003QFV

      Apply welding primer to the contact surfaces of the welding areas to protect them from rust.

      Note

      Do not apply welding primer outside of the contact surfaces.

  4. WELDING WORK


    1. Standard Number of Welds

      Number of spot welds More than 1.3x the number of welds made by the manufacturer
      Number of plug welds More than the number of welds made by the manufacturer
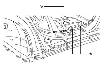
    2. A003QPDC01
      *a Old Spot Locations
      *b New Spot Locations

      Spot weld locations

      Avoid welding over previously welded areas.

  5. MAKING HOLES FOR PLUG WELDING

    A003QQ9C02
    *a Puncher

    1. For areas where a spot welder cannot be used, use a puncher or drill to make holes for plug welding.

      Thickness of Welded Portion Diameter of Plug Hole
      Under 1.0 mm (0.04 in.) Over 5.0 mm (0.20 in.)
      1.0 to 1.6 mm (0.04 to 0.06 in.) Over 6.5 mm (0.26 in.)
      1.7 to 2.3 mm (0.07 to 0.09 in.) Over 8.0 mm (0.31 in.)
      Over 2.4 mm (0.09 in.) Over 10 mm (0.39 in.)