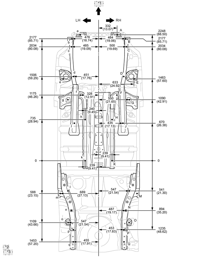
Tech Tips
Length measurements are indicated at the points where the arrows extending from the zero point intersect the lines that extend towards the outside of the illustration from each point.
Point B, b and C, c on the vehicle are asymmetrical.
In cases in which only one dimension is given, left and right are symmetrical.
For symbols, capital letters indicate right side of vehicle, small letters indicate left side of vehicle (seen from rear).
| Symbol | Name | Hole Diameter mm (in.) |
|---|---|---|
| A, a | Radiator Support Lower Standard Hole | φ10 (0.39) |
| B, b | Front Crossmember Installation Nut | M12 (0.47) |
| C, c | Front Side Member Standard Hole | φ18 (0.71) |
| D, d | Front Suspension Member Installation Nut | M14 (0.55) |
| E, e | Front Spring Support Installation Hole | φ12.5 (0.49) |
| F, f | Front Suspension Member Installation Nut | M14 (0.55) |
| G, g | Torque Box Front Standard Hole | φ25 (0.98) |
| H, h | Front Side Member Reinforcement Standard Hole | φ22 (0.87) |
| J, j | Front Side Member Standard Hole | φ18 (0.71) |
| K, k | Front Floor Panel Standard Hole | φ18 (0.71) |
| L, l | Trailing Arm Installation Nut | M12 (0.47) |
| M, m | Rear Suspension Brace Installation Nut | M10 (0.39) |
| N, n | Rear Suspension Member Installation Hole | φ15 (0.59) |
| O, o | Rear Shock Absorber Installation Hole | φ24.5 (0.96) |
| P, p | Rear Floor Side Member Standard Hole | φ16 (0.63) |
| Q, q | Rear Floor Side Member Standard Hole | φ18 (0.71) |
| Wheel Base | 2600 mm (102.36 in.) |
| *1 | Front |
| *2 | mm |
| *3 | (in.) |