With the cowl top side panel removed.
Follow the welding conditions below when welding ultra high strength steel to assure sufficient weld strength. (When repairing this model)
*1: When welding 2 panels together including 980 MPa ultra high strength steel.
| Spot weld | Pressure | 2940 N (300 kgf, 661 lbf) |
| Weld current | 10000 A | |
| Weld time | 16 Cyc. (0.27 Sec.) | |
| Plug weld | Plug diameter | 10 mm (0.39 in.) |
| Wire type | AWS A5.18 ER70S-3 | |
| Shield gas | Metal active gas |
*2: When welding more than 3 panels together including 980 MPa ultra high strength steel. (When plug welding a panel to the welded panels with the weld condition above.)
| Plug weld | Plug diameter | Same as the standard method (See the introduction) |
| Wire type | AWS A5.18 ER70S-3 | |
| Shield gas | Metal active gas |
Note
Be sure to use Metal active gas (Ar 80% + CO220%) as the shield gas when plug welding. Sufficient weld strength cannot be assured when using 100% CO2shield gas.
REMOVAL
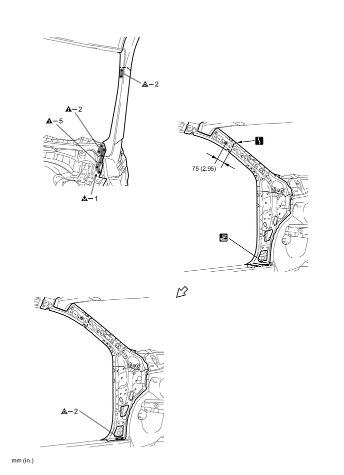
| Symbol meaning | |
|---|---|
|
Remove Weld Points |
|
Remove Weld Points |
|
Remove Weld Points |
|
Cut with Disc Sander etc. |
|
Cut and Join Location |
|
Cut Location for Supply Parts |
REMOVAL POINT
Do not butt weld or heat repair because the heat decreases the strength of areas where ultra high strength steel is used. (See the introduction)
*3 indicates welds to remove for easier removal.
INSTALLATION
| Symbol meaning | |
|---|---|
|
Plug Weld |
|
Plug Weld |
|
Plug Weld |
|
Cut and Join Location |
|
Fillet Weld |
|
Butt Weld |
|
Body Sealer |
INSTALLATION POINT
Inspect the fitting of the related parts around the new parts before welding. This affects the appearance of the finish.
Temporarily install the new parts and measure each part of the new parts in accordance with the body dimension diagram. (See the body dimension diagram)
Before installing a new part, apply body sealer.
Tech Tips
Apply body sealer in an even, continuous bead.
Follow the welding conditions when welding *1 and *2 to assure sufficient weld strength. (See the introduction)
After welding the front body inner pillar to the vehicle side, install the front pillar lower reinforcement.
After welding the front pillar lower reinforcement to the vehicle side, install the front body upper outer pillar.
After welding, apply the foamed sealing material to the corresponding parts. (See the paint / coating)
After welding, apply body sealer to the corresponding parts. (See the paint / coating)
After applying the top coat, apply anti-rust agent to the internal panel portion of the closed section structural weld points.