QUARTER WHEEL HOUSING OUTER PANEL ASSEMBLY REPLACEMENT



  1. REMOVAL

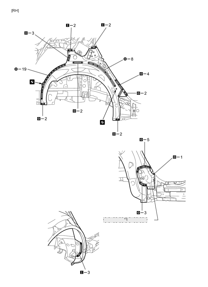
    Symbol meaning
    B001IVH Remove Weld Points
    B001IYB Remove Weld Points
    B001IXF Remove Weld Points
    B001IUX Cut and Join Location

      REMOVAL POINT

    1. *1 is reused.

    2. After removing the *1, rear seat back lock striker reinforce and quarter panel extension reinforcement remove the quarter wheel housing outer panel.

    A004UK8E01
    A004UP5E01
    A004UK7E01
    A004UIME01
  2. INSTALLATION

    Symbol meaning
    B001IS7 Spot Weld
    B001IY5 Plug Weld
    B001ISB Plug Weld
    B001IVR Plug Weld
    B001ITX Butt Weld
    B001ISH Body Sealer
    B001IYH Assembly Mark

      INSTALLATION POINT

    1. For positioning of the new parts, align the installation standard holes of the outer panel and the inner panel.

    2. When welding *1, make a hole on a new part for plug welding and weld the panel with the panel behind completely.

    3. Before installing a new part, apply body sealer.

      Tech Tips

      Apply body sealer in an even, continuous bead.

    4. After welding the quarter wheel housing outer panel to the vehicle side, install the wheel house reinforcement, rear seat back lock striker reinforce, quarter panel extension reinforcement and *2.

    5. After welding, apply body sealer and undercoating to the corresponding parts. (See the paint / coating)

    6. After applying the top coat, apply anti-rust agent to the internal panel portion of the closed section structural weld points.

    A004UMKE01
    *1 Wheel House Reinforcement
    A004UNEE01
    A004UJAE01
    *1 Wheel House Reinforcement
    A004UL3E01