WHEN REMOVING,INSTALLING,REPAIRING OR REPLACING PARTS WHEEL ALIGNMENT STANDARD


  1. MEASURE VEHICLE HEIGHT

    A004LIEE03

    Note


    • Before inspecting the wheel alignment, adjust the vehicle height to the specified value.

    • Be sure to perform the measurement on a level surface.

    • If it is necessary to go under the vehicle for measurement, make sure that the parking brake is applied and the vehicle is secured with chocks.


    1. Bounce the vehicle up and down at the corners several times to stabilize the suspension.

    2. Measure the vehicle height.

      Note

      The standard value shown here is a value that is used for adjusting the wheel alignment and does not indicate the height of an actual vehicle.

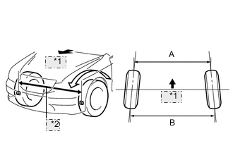
    3. INSPECT CAMBER, CASTER AND STEERING AXIS INCLINATION (FRONT WHEEL ALIGNMENT)


      1. A004LJJE17
    4. Text in Illustration
      *1 Alignment Tester
      *2 Gauge

Install a camber-caster-kingpin gauge or place the front wheels on the center of a wheel alignment tester.

  • Inspect the camber, caster and steering axis inclination.

  • INSPECT TOE-IN (FRONT WHEEL ALIGNMENT)


    1. Bounce the vehicle up and down at the corners to stabilize the suspension.

    2. Release the parking brake and move the shift lever to N.

    3. Push the vehicle straight ahead approximately 5 m (16.4 ft.). *1

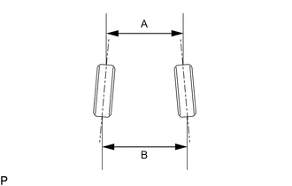
    4. A004LEXE04
  • *1 Dimension B
    *2 Tread Center Mark
  • Put tread center marks on the rearmost points of the front wheels and measure the distance between the marks (dimension B).

  • Slowly push the vehicle straight ahead to rotate the front wheels 180° using the front tire valve as a reference point.

    Tech Tips

    Do not allow the wheels to rotate more than 180°. If the wheels rotate more than 180°, perform the procedure from *1 again.

  • A004LHGE08
    *1 Front
    *2 Dimension A

    Measure the distance between the tread center marks on the front side of the wheels (dimension A).

    Tech Tips

    If toe-in is not within the specified range, adjust it at the rack ends.

  • INSPECT WHEEL ANGLE (FRONT WHEEL ALIGNMENT)

    A004LB5E01
  • *1 Front
    *2 A: Inside
    *3 B: Outside

    1. Turn the steering wheel to the left and right full lock positions, and measure the turning angle.


      • If the angles are not as specified, check and adjust the right and left rack end lengths.

    2. INSPECT TOE-IN (REAR WHEEL ALIGNMENT)

      A004LDIE15
    3. If the toe-in is not within the specified range, inspect the suspension parts and replace them if necessary.

    4. INSPECT CAMBER (REAR WHEEL ALIGNMENT)

      A004LGDE06
    5. Text in Illustration
      *1 Gauge

      1. Install a camber-caster-kingpin gauge or set the vehicle on a wheel alignment tester.

      2. Inspect the camber.

        If the measured value is not within the specified range, inspect the suspension parts for damage and wear. Replace parts as necessary as the camber cannot be properly adjusted with any damaged or worn parts.