ПРИ СНЯТИИ, УСТАНОВКЕ, РЕМОНТЕ И ЗАМЕНЕ ДЕТАЛЕЙ И УЗЛОВ СТАНДАРТ ПО РЕГУЛИРОВКЕ УГЛОВ УСТАНОВКИ КОЛЕС

Note

После регулировки углов установки колес, а также после снятия/установки или замены деталей подвески или нижней части кузова обязательно выполните описанную ниже процедуру инициализации, чтобы система могла функционировать нормально.


  • Выполните калибровку "нуля" датчика замедления и рысканья.


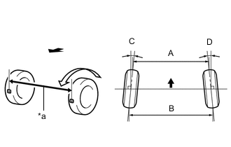
  1. ИЗМЕРЬТЕ ВЫСОТУ АВТОМОБИЛЯ

    A002LCWE03

    Note


    • Перед проверкой углов установки колес отрегулируйте высоту автомобиля в соответствии с требованиями.

    • Измерения следует выполнять на горизонтальной поверхности.

    • Если при измерениях требуется выполнять работы под автомобилем, удостоверьтесь, что включен стояночный тормоз, а под колеса установлены колодки.

    • Проверку следует выполнять на автомобиле в ненагруженном состоянии.

    • Указанная здесь номинальная величина используется для регулировки углов установки колес и не отражает высоту для конкретного автомобиля.


    1. Стабилизируйте подвеску, покачав автомобиль за углы.

    2. Измерьте высоту автомобиля.


        Точки измерения:

      • A: дорожный просвет по центру передних колес


      • B: Дорожный просвет по центру установочного болта втулки нижнего рычага подвески № 2


      • C: дорожный просвет по центру задних колес


      • D: Дорожный просвет по центру наружного установочного болта раскоса

      *1: AVV60L-BEXGBC

    3. ПРОВЕРЬТЕ РАЗВАЛ, УГОЛ ПРОДОЛЬНОГО НАКЛОНА ШКВОРНЯ И УГОЛ ПОПЕРЕЧНОГО НАКЛОНА ОСИ ПОВОРОТА (СПЕРЕДИ)

      Note

      Проверку следует выполнять на автомобиле в ненагруженном состоянии.


      1. A002LDQE35
    4. Обозначения на рисунке
      *1 Датчик радиуса поворота
      *2 Датчик развала – угла продольного наклона оси поворота – угла поперечного наклона оси поворота

Установите датчик развала – угла продольного наклона оси поворота – угла поперечного наклона оси поворота и поместите передние колеса в центр шаблона радиуса разворота.

  • Проверьте развал, угол продольного наклона оси поворота и угол поперечного наклона оси поворота.

  • ПРОВЕРЬТЕ СХОЖДЕНИЕ КОЛЕС (СПЕРЕДИ)

    Note

    Проверку следует выполнять на автомобиле в ненагруженном состоянии.


    1. Стабилизируйте подвеску, покачав автомобиль за углы.

    2. Отпустите стояночный тормоз и переведите рычаг переключения передач в нейтральное положение.

    3. Толкайте автомобиль в прямом направлении, чтобы он проехал расстояние приблизительно 5 м (16,4 фута). (Шаг C)

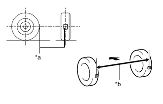
    4. A002LFRE20
  • Обозначения на рисунке
    *a Метка центральной линии
    *b Размер B
    A002LF7 Передняя сторона автомобиля
  • Нанесите метки центральной линии на крайние задние точки передних колес и измерьте расстояние между метками (размер B).

  • Медленно продвиньте автомобиль прямо вперед, чтобы повернуть передние колеса на 180°. В качестве базовой точки используйте вентиль шины переднего колеса.

    Tech Tips

    Не допускайте, чтобы колеса поворачивались более чем на 180°. В случае поворота колес на угол, превышающий 180°, повторите процедуру, начиная с шага C.

  • A002LB6E18
    Обозначения на рисунке
    *a Размер A
    A002LF7 Передняя сторона автомобиля

    Измерьте расстояние между метками центральной линии спереди колес (размер A).

    Tech Tips

    Измеряйте "B - A" только в том случае, если невозможно измерить "C + D".

    Если схождение не соответствует техническим требованиям, отрегулируйте его на наконечниках реек.

  • ПРОВЕРЬТЕ УГЛЫ ПОВОРОТА КОЛЕС


    1. A002LALE11
  • Обозначения на рисунке
    *a Внутрь
    *b Наружу
    A002LF7 Передняя сторона автомобиля

    Нанесите метки центральной линии колеи в крайних задних точках шаблона радиуса разворота.

  • Поверните рулевое колесо влево и вправо до упора и измерьте угол поворота.

    Note

    Проверку следует выполнять на автомобиле в ненагруженном состоянии.

    Углы поворота колес (в ненагруженном состоянии)
    Внутреннее колесо Наружное колесо

    37°23' +/- 2°00' (37.38°+/- 2°)

    37°22' +/- 2°00' (37.37°+/- 2°)*1

    32°56' +/- 2°00' (32.93°+/- 2°)

    32°55' +/- 2°00' (32.92°+/- 2°)*1

    *1:AVV60L-BEXGBC


  • ПРОВЕРЬТЕ РАЗВАЛ КОЛЕС (СЗАДИ)

    Note

    Проверку следует выполнять на автомобиле в ненагруженном состоянии.


    1. A002LBGE25
      Обозначения на рисунке
      *a Датчик развала – угла продольного поворота шкворня – угла поперечного наклона оси поворота

      Установите индикатор развала / угла продольного наклона шкворня / угла поперечного наклона шкворня.

    2. Проверьте развал колес.

      Tech Tips

      Развал не регулируется. Если результаты измерений не попадают в установленные пределы, проверьте детали подвески на наличие следов износа и повреждений, и, при необходимости, замените их.

    3. ПРОВЕРЬТЕ СХОЖДЕНИЕ КОЛЕС (СЗАДИ)

      Note

      Проверку следует выполнять на автомобиле в ненагруженном состоянии.


      1. Стабилизируйте подвеску, покачав автомобиль за углы.

      2. Отпустите стояночный тормоз и переведите рычаг переключения передач в нейтральное положение.

      3. Толкайте автомобиль в прямом направлении, чтобы он проехал расстояние приблизительно 5 м (16,4 фута). (Шаг A)

      4. A002LFRE20
    4. Обозначения на рисунке
      *a Метка центральной линии
      *b Размер B
      A002LF7 Передняя сторона автомобиля

      Нанесите метки центральной линии колеи в крайних задних точках задних колес и измерьте расстояние между метками (размер B).

    5. Медленно продвиньте автомобиль прямо вперед, чтобы повернуть задние колеса на 180°. В качестве базовой точки используйте вентиль шины заднего колеса.

      Tech Tips

      Не допускайте, чтобы колеса поворачивались более чем на 180°. В случае поворота колес на угол, превышающий 180°, повторите процедуру, начиная с шага A.

    6. A002LB6E18
      Обозначения на рисунке
      *a Размер A
      A002LF7 Передняя сторона автомобиля

      Измерьте расстояние между метками центральной линии спереди задних колес (размер A).

      Tech Tips

      Измеряйте "B - A" только в том случае, если невозможно измерить "C + D".

      Если схождение выходит за пределы указанного диапазона, отрегулируйте его на рычагах задней подвески № 2.