WHEN REMOVING,INSTALLING,REPAIRING OR REPLACING PARTS WHEEL ALIGNMENT STANDARD

Note

If the wheel alignment has been adjusted, or if suspension or underbody components have been removed/installed or replaced, be sure to perform the following initialization procedure in order for the system to function normally:


  • Perform zero point calibration of the yaw rate and acceleration sensor.


  1. MEASURE VEHICLE HEIGHT

    Note


    • Before inspecting the wheel alignment, check the vehicle height.

    • Be sure to perform measurement on a level surface.

    • If it is necessary to go under the vehicle for measurement, confirm that the parking brake is applied and the vehicle is secured with chocks.

    • Inspect while the vehicle is unloaded.

    • The standard value shown here is a value that is used for adjusting the wheel alignment and does not indicate the height of an actual vehicle.


    1. Bounce the vehicle up and down at the corners to stabilize the suspension.

    2. A003IHSE01

      Measure the vehicle height.

    3. FRONT WHEEL ALIGNMENT


      1. A003IJ2E17
    4. Text in Illustration
      *1 Alignment tester
      *2 Camber-caster-steering axis inclination gauge

    INSPECT CAMBER, CASTER AND STEERING AXIS INCLINATION


    1. Put the front wheel on the center of the alignment tester.

    2. Remove the wheel cap.

    3. Set the camber-caster-kingpin gauge at the center of the axle hub or drive shaft.

    4. Inspect the camber, caster and steering axis inclination.

      Note


      • Perform the inspection while the vehicle is empty (without a spare tire or tools on board).

      • The tolerance for the difference between the left and right wheels is 30' (0.5°) or less for both the camber and caster.

    5. Remove the camber-caster-kingpin gauge.

    6. Install the wheel cap.

      If the caster and steering axis inclination are not within the specified values after the camber has been correctly adjusted, recheck the suspension parts for damage and wear.

    7. INSPECT TOE-IN


      1. Bounce the vehicle up and down at the corners to stabilize the suspension.

      2. Release the parking brake and move the shift lever to the neutral position.

      3. Push the vehicle straight ahead approximately 5 m (16.4 ft.). (Step A)

      4. A003IFWE02
    8. Text in Illustration
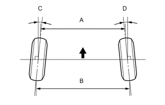
      *a Tread Center Mark
      *b Dimension B

Put tread center marks on the rearmost points of the front wheels and measure the distance between the marks (Dimension B).

  • Slowly push the vehicle straight ahead to cause the front wheels to rotate 180° using the front tire valve as a reference point.

    Tech Tips

    Do not allow the wheels to rotate more than 180°. If the wheels rotate more than 180°, perform the procedure from (Step A) again.

  • A003IMWE01
    Text in Illustration
    *a Dimension A
    A003IG3 Front of the Vehicle

    Measure the distance between the tread center marks on the front side of the wheels (Dimension A).

    Tech Tips


    • Measure "B - A" only when "C + D" cannot be measured.

    • If the toe-in is not within the specified value, adjust it at the rack ends.

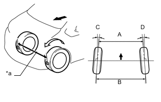
  • INSPECT WHEEL TURNING ANGLE


    1. A003ILVE12
  • Text in Illustration
    *a Inside
    *b Outside
    A003IG3 Front of the Vehicle

    Fully turn the steering wheel left and right, and measure the wheel turning angle.

    If the right and left inside wheel angles are not within the specified range, check the right and left rack end lengths.

  • REAR WHEEL ALIGNMENT


    1. INSPECT CAMBER


      1. Set the camber-caster-kingpin gauge and position the rear wheel on the alignment tester.

      2. Inspect the camber.

  • Note

    The tolerance for the difference between the left and right wheels is 30' (0.5°) or less for both cambers. If the camber is not within the specified range, inspect the suspension parts and replace them if necessary.

  • A003ILHE01

    INSPECT TOE-IN

  • Text in Illustration
    A003IG3 Front of the Vehicle

    Tech Tips