ПРИ СНЯТИИ, УСТАНОВКЕ, РЕМОНТЕ И ЗАМЕНЕ ДЕТАЛЕЙ И УЗЛОВ СТАНДАРТ ПО РЕГУЛИРОВКЕ УГЛОВ УСТАНОВКИ КОЛЕС

  1. ИЗМЕРЬТЕ ВЫСОТУ АВТОМОБИЛЯ

    A00KKSEE01

    Note

    • Перед проверкой углов установки колес отрегулируйте высоту автомобиля в соответствии с требованиями.

    • Измерения следует выполнять на горизонтальной поверхности.

    • Если при измерениях требуется выполнять работы под автомобилем, удостоверьтесь, что включен стояночный тормоз, а под колеса установлены колодки.

    • Проверку следует выполнять на автомобиле в ненагруженном состоянии.

    • Указанная здесь номинальная величина используется для регулировки углов установки колес и не отражает высоту для конкретного автомобиля.

    1. Стабилизируйте подвеску, покачав автомобиль за углы.

    2. Измерьте высоту автомобиля.

        Точки измерения:

      • A: Дорожный просвет по центру установочного болта втулки нижнего рычага передней подвески № 1

      • B: Дорожный просвет по центру установочного болта рычага задней подвески № 2

      • C: дорожный просвет по центру передних колес

      • D: Дорожный просвет по центру задних колес

      Высота подвески автомобиля (в ненагруженном состоянии) (для моделей для США)
      Размер шины Спереди, C - A Сзади, D - B
      P195/65R15 103 мм (4,06 дюйма) 65 мм (2,56 дюйма)

      P205/55R16

      P215/45R17

      105 мм (4,13 дюйма) 67 мм (2,64 дюйма)
      Высота подвески автомобиля (в ненагруженном состоянии) (кроме моделей для США)
      Размер шины Спереди, C - A Сзади, D - B
      195/65R15 112 мм (4,41 дюйма) 61 мм (2,40 дюйма)

      205/55R16

      215/45R17

      (кроме моделей в комплектации SPORT)

      104 мм (4,09 дюйма) 64 мм (2,52 дюйма)

      205/55R16

      215/45R17

      (для моделей в комплектации SPORT)

      106 мм (4,17 дюйма) 59 мм (2,32 дюйма)
  2. ПРОВЕРЬТЕ РАЗВАЛ, УГОЛ ПРОДОЛЬНОГО НАКЛОНА ШКВОРНЯ И УГОЛ ПОПЕРЕЧНОГО НАКЛОНА ОСИ ПОВОРОТА

    Note

    Проверку следует выполнять на автомобиле в ненагруженном состоянии.

    1. Установите датчик развала – угла продольного поворота шкворня – угла поперечного наклона оси поворота и поместите передние колеса в центр шаблона радиуса разворота.

      A00KKUHE21
      Обозначения на рисунке
      *1 Датчик радиуса поворота
      *2 Датчик развала – угла продольного поворота шкворня – угла поперечного наклона оси поворота
    2. Проверьте развал, угол продольного поворота шкворня и угол поперечного наклона оси поворота.

      Развал колес автомобиля (в ненагруженном состоянии) (для моделей для США)
      Развал колес Разница между правой и левой сторонами
      -0°13' +/- 0°45' (-0,22° +/- 0,75°) 0°45' (0,75°) или менее
      Развал колес автомобиля (в ненагруженном состоянии) (кроме моделей для США)
      Размер шин Развал колес Разница между правой и левой сторонами
      195/65R15 -0°15' +/- 0°45' (-0,25° +/- 0,75°) 0°45' (0,75°) или менее

      205/55R16

      215/45R17

      (кроме моделей в комплектации SPORT)

      -0°13' +/- 0°45' (-0,22° +/- 0,75°)

      205/55R16

      215/45R17

      (для моделей в комплектации SPORT)

      -0°14' +/- 0°45' (-0,23° +/- 0,75°)
      Угол продольного наклона оси поворота автомобиля (в ненагруженном состоянии) (для моделей для США)
      Размер шины Продольный угол наклона оси поворота Разница между правой и левой сторонами
      P195/65R15 5°56' +/- 0°45' (5,93° +/- 0,75°) 0°45' (0,75°) или менее

      P205/55R16

      P215/45R17

      6°00' +/- 0°45' (6,00° +/- 0,75°)
      Угол продольного наклона оси поворота автомобиля (в ненагруженном состоянии) (кроме моделей для США)
      Размер шины Продольный угол наклона оси поворота Разница между правой и левой сторонами
      195/65R15 5°48' +/- 0°45' (5,80° +/- 0,75°) 0°45' (0,75°) или менее

      205/55R16

      215/45R17

      (кроме моделей в комплектации SPORT)

      5°56' +/- 0°45' (5,93° +/- 0,75°)

      205/55R16

      215/45R17

      (для моделей в комплектации SPORT)

      5°48' +/- 0°45' (5,80° +/- 0,75°)
      Поперечный угол наклона оси поворота автомобиля (в ненагруженном состоянии) (для моделей для США)
      Размер шин Поперечный угол наклона оси поворота: Для справки
      P195/65R15 12°10' (12,17°)

      P205/55R16

      P215/45R17

      12°13' (12,22°)
      Поперечный угол наклона оси поворота автомобиля (в ненагруженном состоянии) (кроме моделей для США)
      Размер шин Поперечный угол наклона оси поворота: Для справки
      195/65R15 12°22' (12,37°)

      205/55R16

      215/45R17

      (кроме моделей в комплектации SPORT)

      12°11' (12,18°)

      205/55R16

      215/45R17

      (для моделей в комплектации SPORT)

      12°14' (12,23°)
  3. ПРОВЕРЬТЕ СХОЖДЕНИЕ КОЛЕС (СПЕРЕДИ)

    Note

    Проверку следует выполнять на автомобиле в ненагруженном состоянии.

    1. Стабилизируйте подвеску, покачав автомобиль за углы.

    2. Отпустите стояночный тормоз и переведите рычаг переключения передач в нейтральное положение.

    3. Толкайте автомобиль в прямом направлении, чтобы он проехал расстояние приблизительно 5 м (16,4 фута). (Шаг C)

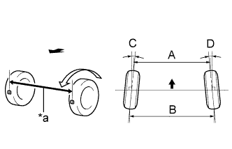
    4. Нанесите метки центральной линии на крайние задние точки передних колес и измерьте расстояние между метками (размер B).

      A00KKXTE05
      Обозначения на рисунке
      *a Метка центральной линии
      *b Размер B
    5. Медленно толкайте автомобиль вперед то тех пор, пока передние колеса не повернутся на 180°, используя в качестве контрольной точки вентиль передней шины.

      Tech Tips

      Не допускайте, чтобы колеса поворачивались более чем на 180°. В случае поворота колес на угол, превышающий 180°, повторите процедуру, начиная с шага C.

    6. Измерьте расстояние между метками центральной линии спереди колес (размер A).

      A00KKQ6E05
      Обозначения на рисунке
      *a Размер A
      A00KKQA Передняя сторона автомобиля
      Схождение колес (в ненагруженном состоянии)
      Заданные условия
      C + D: 0°12' +/- 0°12' (0,20° +/- 0,20°)
      B - A: 2,0 +/- 2,0 мм (0,0787 +/- 0,0787 дюйма)

      Tech Tips

      Измеряйте "B - A" только в том случае, если невозможно измерить "C + D".

      Если схождение не соответствует техническим требованиям, отрегулируйте его на наконечниках реек.

  4. ПРОВЕРЬТЕ УГЛЫ ПОВОРОТА КОЛЕС

    A00KKR5E11
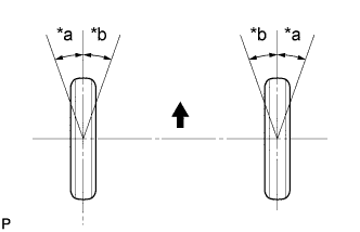
    1. Нанесите метки центральной линии колеи в крайних задних точках шаблона радиуса разворота.

      Обозначения на рисунке
      *a Внутрь
      *b Наружу
      A00KKQA Передняя сторона автомобиля
    2. Поверните рулевое колесо влево и вправо до упора и измерьте угол поворота.

      Note

      Проверку следует выполнять на автомобиле в ненагруженном состоянии.

      Углы поворота колес автомобиля (в ненагруженном состоянии) (для моделей для США)
      Размер шины Внутренняя сторона колеса Наружное колесо (для справки)
      P195/65R15 39°22' +/- 2° (39,37° +/- 2°) 32°57' (32,95°)

      P205/55R16

      P215/45R17

      39°18' +/- 2° (39,30° +/- 2°) 32°54' (32,90°)
      Углы поворота колес автомобиля (в ненагруженном состоянии) (кроме моделей для США)
      Размер шины Внутренняя сторона колеса Наружное колесо (для справки)
      195/65R15 39°05' +/- 2° (39,08° +/- 2°) 32°45' (32,75°)

      205/55R16

      215/45R17

      (кроме моделей в комплектации SPORT)

      39°20' +/- 2° (39,33° +/- 2°) 32°56' (32,93°)

      205/55R16

      215/45R17

      (для моделей в комплектации SPORT)

      39°15' +/- 2° (39,25° +/- 2°) 32°53' (32,88°)

      Если углы поворота левого и правого внутренних колес отличаются от указанного значения, проверьте и отрегулируйте длины наконечников рулевых тяг справа и слева.

  5. ПРОВЕРЬТЕ РАЗВАЛ КОЛЕС (СЗАДИ)

    1. Установите индикатор развала / угла продольного наклона шкворня / угла поперечного наклона шкворня.

      A00KKWKE08
      Обозначения на рисунке
      *a Датчик развала – угла продольного поворота шкворня – угла поперечного наклона оси поворота
    2. Проверьте развал колес.

      Развал колес автомобиля (в ненагруженном состоянии) (для моделей для США)
      Развал колес Разница между правой и левой сторонами
      -1°10' +/- 0°45' (-1,17° +/- 0,75°) 0°45' (0,75°) или менее
      Развал колес автомобиля (в ненагруженном состоянии) (кроме моделей для США)
      Развал колес Разница между правой и левой сторонами
      -1°00' +/- 0°45' (-1,00° +/- 0,75°) 0°45' (0,75°) или менее

      Tech Tips

      Развал не регулируется. Если результаты измерений не попадают в установленные пределы, проверьте детали подвески на наличие следов износа и повреждений, и, при необходимости, замените их.

  6. ПРОВЕРЬТЕ СХОЖДЕНИЕ КОЛЕС (СЗАДИ)

    Note

    Проверку следует выполнять на автомобиле в ненагруженном состоянии.

    1. Стабилизируйте подвеску, покачав автомобиль за углы.

    2. Отпустите стояночный тормоз и переведите рычаг переключения передач в нейтральное положение.

    3. Толкайте автомобиль в прямом направлении, чтобы он проехал расстояние приблизительно 5 м (16,4 фута). (Шаг A)

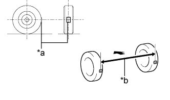
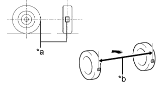
    4. Нанесите метки центральной линии колеи в крайних задних точках задних колес и измерьте расстояние между метками (размер B).

      A00KKXTE04
      Обозначения на рисунке
      *a Метка центральной линии
      *b Размер B
      A00KKQA Передняя сторона автомобиля
    5. Медленно толкайте автомобиль прямо вперед, пока задние колеса не повернутся на 180° (в качестве контрольной точки следует использовать вентиль задней шины).

      Tech Tips

      Не допускайте, чтобы колеса поворачивались более чем на 180°. В случае поворота колес на угол, превышающий 180°, повторите процедуру, начиная с шага A.

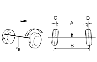
    6. Измерьте расстояние между метками центральной линии спереди задних колес (размер A).

      A00KKQ6E04
      Обозначения на рисунке
      *a Размер A
      A00KKQA Передняя сторона автомобиля
      Схождение колес (в ненагруженном состоянии)
      Заданные условия Разница между правой и левой сторонами
      C + D: 0°12' +/- 0°12' (0,20° +/- 0,20°) 0°06' (0,10° ) или менее
      B - A: 2,0 +/- 2,0 мм (0,0787 +/- 0,0787 дюйма) 1,0 мм (0,0393 дюйма) или менее

      Tech Tips

      Измеряйте "B - A" только в том случае, если невозможно измерить "C + D".

      Если схождение выходит за пределы указанного диапазона, отрегулируйте его на рычагах задней подвески № 1.