RADIATOR SIDE SUPPORT ASSEMBLY REPLACEMENT

B002MHP


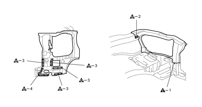
  1. REMOVAL

    Symbol Meaning
    B002MPA Remove Weld Points
    B002MIA Remove Weld Points
    B002MNZ
    B002MRL
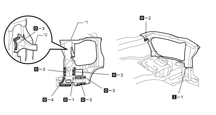
  2. INSTALLATION

    Symbol Meaning
    B002MIJ Plug Weld
    B002MHT Plug Weld

    1. Inspect the fitting of the related parts around the new parts before welding. This affects the appearance of the finish.

    2. Temporarily install the new parts and measure each part of the new parts in accordance with the body dimension diagram. (See the body dimensions)

      B002MN9C01
      *1 RADIATOR SUPPORT SUB-ASSEMBLY *2 HEADLIGHT DOOR MOUNTING BRACKET NO.1
      B002MM8C01
      B002MP7 N*m (kgf*cm, ft.*lbf) : Specified torque - -
    3. After applying the top coat, apply anti-rust agent to the internal panel portion of the closed section structural weld points.