WORK NOTICES AND PRECAUTIONS PRECAUTIONS FOR WELDING


  1. REMOVAL OF ADJACENT COMPONENTS


    1. A01RFXP

      To prevent damage to the body and parts, apply protective tape to the body and tools before removing the parts.

      Note

      If the paint film is damaged, make sure to refinish the paint.

  2. CUTTING WORK

    A01RG5X

    1. When cutting a panel, be careful not to damage the surrounding panels or any panels underneath.

      Note

      If any panels are damaged, be sure to repair them.

  3. ANTI-RUST TREATMENT BEFORE WELDING


    1. A01RG57

      Apply welding primer to the contact surfaces of the welding areas to protect them from rust.

      Note

      Do not apply welding primer outside of the contact surfaces.

  4. WELDING WORK


    1. A01RFYOC03
      *a 1500 MPa or 980 MPa Ultra High Strength Steel
      A01RG22C03
      *a 1500 MPa or 980 MPa Ultra High Strength Steel

      Follow the welding conditions below when welding ultra high strength steel to assure sufficient weld strength.

      When welding 2 panels together including 1500 MPa or 980 MPa ultra high strength steel.
      Plug weld Plug diameter 10 mm (0.39 in.)
      Wire type AWS A5.18 ER70S-3
      Shield gas Metal active gas

      Note

      Be sure to use Metal active gas (Ar 80% + CO220%) as the shield gas when plug welding. Sufficient weld strength cannot be assured when using 100% CO2shield gas.

      When welding more than 3 panels together including 1500 MPa or 980 MPa ultra high strength steel. (When plug welding a third panel to 2 panels which are welded under the conditions described above.)
      Plug weld Plug diameter

      Same as the standard method

      (See the introduction)

      Wire type AWS A5.18 ER70S-3
      Shield gas Metal active gas

      Note

      Be sure to use Metal active gas (Ar 80% + CO220%) as the shield gas when plug welding. Sufficient weld strength cannot be assured when using 100% CO2shield gas.

    2. Standard Number of Welds

      Number of spot welds Normal steel or high strength steel More than 1.3x the number of welds made by the manufacturer
      Number of plug welds 1500 MPa or 980 MPa ultra high strength steel More than the number of welds made by the manufacturer
      Normal steel or high strength steel

      Note

      Inspect the welds after spot welding. For points with insufficient weld strength join the panels using plug welds.

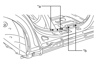
    3. A01RG1DC01
      *a Old Spot Locations
      *b New Spot Locations

      Spot weld locations

      Avoid welding over previously welded areas.

  5. MAKING HOLES FOR PLUG WELDING

    A01RG0CC02
    *a Puncher

    1. For areas where a spot welder cannot be used, use a puncher or drill to make holes for plug welding.

      Thickness of Welded Portion Diameter of Plug Hole
      Under 1.0 mm (0.04 in.) Over 5.0 mm (0.20 in.)
      1.0 to 1.6 mm (0.04 to 0.06 in.) Over 6.5 mm (0.26 in.)
      1.7 to 2.3 mm (0.07 to 0.09 in.) Over 8.0 mm (0.31 in.)
      Over 2.4 mm (0.09 in.) Over 10 mm (0.39 in.)