CENTER BODY PILLAR CUT AND JOIN REPLACEMENT SECTIONS

A01RG68

  1. REMOVAL

    Symbol Meaning
    B0049EM Remove Weld Points
    B0049HI Remove Weld Points
    B0049FU Cut and Join Location
    B0049G2 Cut Location for Supply Parts

    1. Do not butt weld or heat repair because the heat decreases the strength of areas where ultra high strength steel is used. (See the introduction)

    2. Be careful when cutting as foamed sealing material is located near the cutting position.

      A01RFX8C01
      A01RFYA Foamed Sealing Material - -
      A01RG4TC01
      *a 20 mm (0.79 in.) - -
      A01RG2NC01
      *a 190 mm (7.48 in.) - -
      B0049H7 Laser Screw Welding - -
      A01RG13
      A01RFZDC01
      *a 25 mm (0.98 in.) - -
      B0049H7 Laser Screw Welding - -
    3. When replace only the outer panel, please cut off a necessary range depending on a damage range.


      1. Carefully cut the outer panel so not to damage the reinforcement.

      2. Make sure that butt welding does not heat-affect the reinforcement when welding the outer panel.

  2. INSTALLATION

    Symbol Meaning
    B0049GS Plug Weld
    B0049GJ Plug Weld
    B0049HR Butt Weld

    1. Inspect the fitting of the related parts around the new parts before welding. This affects the appearance of the finish.

    2. Temporarily install the new parts and measure each part of the new parts in accordance with the body dimension diagram. (See the body dimensions)

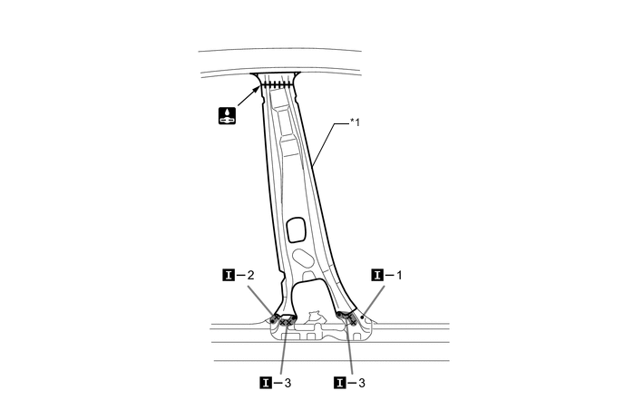
    3. Weld the center body pillar reinforce sub-assembly lower to the vehicle side.

      A01RG5AC01
      *1 CENTER BODY PILLAR REINFORCE SUB-ASSEMBLY LOWER - -
      B0049H7 Laser Screw Welding - -
    4. Weld the center body pillar reinforcement sub-assembly to the vehicle side.

      A01RG15C01
      *1 CENTER BODY PILLAR REINFORCEMENT SUB-ASSEMBLY - -
      *a Ultra High Strength Steel Welding Point - -
      B0049H7 Laser Screw Welding - -

        Follow the welding conditions below when welding ultra high strength steel to assure sufficient weld strength. (When repairing this model)

      • When welding 2 panels together including 1500 MPa ultra high strength steel.

        *a: Plug weld Plug diameter 10 mm (0.39 in.)
        Wire type AWS A5.18 ER70S-3
        Shield gas Metal active gas

        Note

        Be sure to use Metal active gas (Ar 80% + CO220%) as the shield gas when plug welding.Sufficient weld strength cannot be assured when using 100% CO2shield gas.

    5. Be careful when welding as foamed sealing material is located near the area that is cut and joined together.

      A01RFX8C01
      A01RFYA Foamed Sealing Material - -
    6. Weld the center body pillar outer to the vehicle side.

      A01RG2RC01
      *1 CENTER BODY PILLAR OUTER - -
      *a Ultra High Strength Steel Welding Point - -
      B0049H7 Laser Screw Welding - -

        Follow the welding conditions below when welding ultra high strength steel to assure sufficient weld strength. (When repairing this model)

      • When welding more than 3 panels together including 1500 MPa ultra high strength steel. (When plug welding a third panel to 2 panels which are welded under the conditions described above.)

        *a: Plug weld Plug diameter Same as the standard method (See the introduction)
        Wire type AWS A5.18 ER70S-3
        Shield gas Metal active gas

        Note

        Be sure to use Metal active gas (Ar 80% + CO220%) as the shield gas when plug welding.Sufficient weld strength cannot be assured when using 100% CO2shield gas.

    7. After welding, apply the foamed sealing material to the corresponding parts. (See the painting/coating)

    8. After welding, apply body sealer to the corresponding parts. (See the painting/coating)

    9. After applying the top coat, apply anti-rust agent to the internal panel portion of the closed section structural weld points.