REAR FLOOR LOWER FRONT CROSSMEMBER ASSEMBLY REPLACEMENT

A003JS4


  1. REMOVAL

    Symbol Meaning
    B006H4P Remove Weld Points
    B006H2X Remove Weld Points
    A003JOY
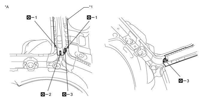
    A003JQQC01
    *A LH Side - -
    A003JPFC01
    *A RH Side - -
  2. INSTALLATION

    Symbol Meaning
    B006H2T Plug Weld
    B006H53 Plug Weld
    A003JOA
    A003JOOC01
    *A LH Side - -
    *1 REAR FLOOR CROSS MEMBER NO. 2 - -
    A003JM0C01
    *A RH Side - -

    1. After welding, apply undercoating to the corresponding parts. (See the painting/coating)

    2. After applying the top coat, apply anti-rust agent to the internal panel portion of the closed section structural weld points.