QUARTER PANEL ASSEMBLY REPLACEMENT

    Work Procedure

  1. Cut the wheel arch portion.

  2. Heat the quarter panel adhesive area and remove the quarter panel.

    Tech Tips

    Using an industrial heater gun or gas burner, heat the quarter panel to 110 to 140°C. Make sure the quarter panel does not warp.

  3. Clean off any adhesive that remains on the vehicle.

    Tech Tips

    • Using an industrial heater gun or gas burner, heat the adhesive to 110 to 140°C.

    • Using a scraper, scrape away the adhesive.

    • If adhesive remains, the strength of any subsequently applied adhesive will be weak.

  4. Using a disc grinder or belt sander, scuff and sand any adhesive that remains on the vehicle.

    Tech Tips

    Scuff at a width of approximately 10 mm (0.39 in.) over the previous adhesive coating.

  5. Apply adhesive to the exposed metal areas on the vehicle. Using a spatula, spread the adhesive evenly.

  6. Apply adhesive to the vehicle again.

  7. Using #60-120 grit sandpaper, scuff the adhesive application area on the new quarter panel.

  8. Apply adhesive to the new quarter panel. Using a spatula, spread the adhesive evenly.

  9. Using a vise grip or the palms of your hands, press the quarter panel so that the thickness of the adhesive is even.

  10. Complete installation the new quarter panel.

  11. Dry the adhesive areas of the new quarter panel.

    Tech Tips

    • With dryer or equivalent (60°C): 60 minutes (complete hardening: 90 minutes)

    • Ambient temperature (25°C): 12 hours (complete hardening: 24 hours)

  1. REMOVAL

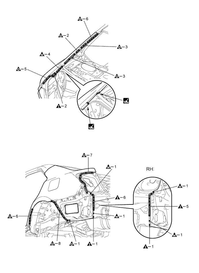
    Symbol meaning
    A011ZTV Remove Weld Points
    A011ZUH Remove Weld Points
    A011ZSL Remove Weld Points
    A011ZVG Cut Location for Supply Parts
    A011ZW0 Braze

      REMOVAL POINT

    1. *1 in illustration above indicates where the adhesive is located.

    2. Roughly cut open the panel so that the adhesive can be reached. Cut through the adhesive with a cut chisel to remove the panel.

      Tech Tips

      In cases where the adhesive cannot be removed with a cut chisel, heat the adhesive with an industrial heater gun or gas burner taking care not to cause panel deformation by overheating.

    A011ZRNE01
    A011ZWBE01
  2. INSTALLATION

    Symbol meaning
    A011ZUB Spot Weld
    A011ZRI Plug Weld
    A011ZU4 Plug Weld
    A011ZPO Plug Weld
    A011ZUN Butt Weld
    A011ZW0 Braze
    A011ZRW Body Sealer

      INSTALLATION POINT

    1. Inspect the fitting of the related parts around the new parts before welding. This affects the appearance of the finish.

    2. Temporarily install the new parts and measure each part of the new parts in accordance with the body dimension diagram. (See the body dimension diagram)

    3. When welding *1, make a hole on a new part for plug welding and weld the panel with the panel behind completely.

    4. Before installing a new part, apply body sealer.

      Tech Tips

      • Apply body sealer evenly about 5 mm (0.20 in.) from the flange, avoiding any oozing.

      • Apply body sealer evenly, about 3 to 4 mm (0.12 to 0.16 in.) in diameter.

    5. Apply adhesive (3MTM AutomixTM Panel Bonding Adhesive #8115) to the area indicated by *2 in the illustration.

      Tech Tips

      Apply enough adhesive for the panels to stick to each other.

    6. Perform spot-welding on the flange indicated by *3 in the illustration. Modify/cut the spot tip as shown in the illustration*4 so that it can fit in to the narrow flange.

    7. After welding, apply foamed sealing material to the corresponding parts. (See the painting / coating)

    8. After welding, apply body sealer to the corresponding parts. (See the painting / coating)

    9. After applying the top coat, apply anti-rust agent to the internal panel portion of the closed section structural weld points.

    A011ZVIE01
    A011ZQME01