FRONT DOOR OUTER PANEL ASSEMBLY REPLACEMENT

A011ZSJ
  1. REMOVAL

    Symbol meaning
    A011ZTV Remove Weld Points

      REMOVAL POINT

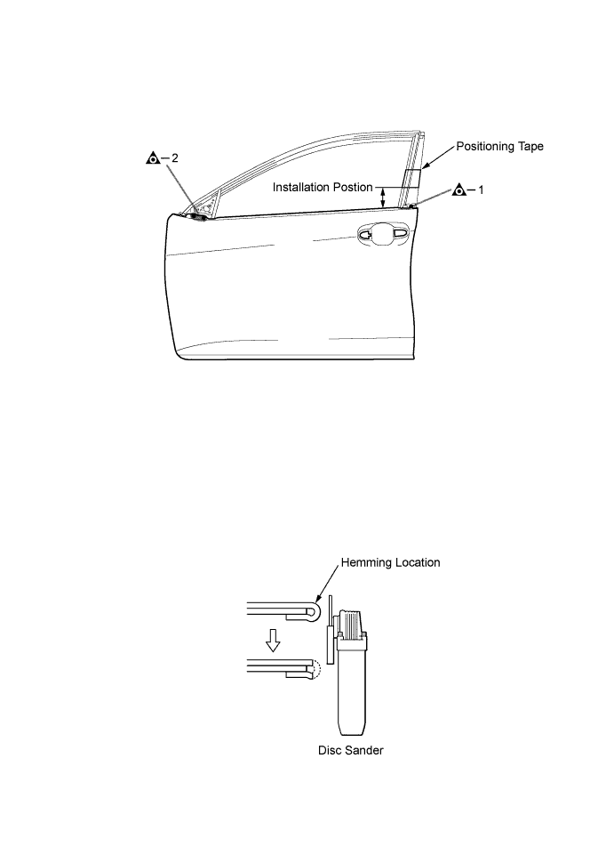
    1. Before removing the outer panel, mark the installation position with tape.

    2. Before removing the outer panel, establish its exact position in relation to the window frame using a reference marker, etc.

    3. After grinding off the hemming location, remove the outer panel.

    A011ZQCE01
  2. INSTALLATION

    Symbol meaning
    A011ZRI Plug Weld
    A011ZSX Spot MIG Weld
    A011ZRW Body Sealer

      INSTALLATION POINT

    1. Before temporarily installing the new parts, apply body sealer to the reinforcement, side impact protection beam and backside of the new parts.

      Note

      Do not close the drain hole.

      Tech Tips

      Apply sealer evenly about 10 mm (0.39 in.) from the flange and 3 mm (0.12 in.) in diameter on the outer panel and apply just enough sealer for the reinforcement and side impact protection beam to make contact.

    2. Bend the flange hem about 30° with a hammer and dolly. Then, fasten tightly with a hemming tool.

      Tech Tips

      • Perform hemming in three steps, being careful not to warp the panel.

      • If a hemming tool cannot be used, hem with a hammer and dolly.

    3. After applying the top coat, apply anti-rust agent to the internal panel portion of the closed section structural weld points.

    A011ZUYE01