COWL TOP SIDE PANEL ASSEMBLY REPLACEMENT

  1. REMOVAL

    Symbol meaning
    A011ZTV Remove Weld Points
    A011ZSL Remove Weld Points
    A011ZVQ Cut with Disc Sander etc.

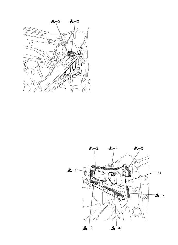
      REMOVAL POINT

    1. After removing the *1, remove the *2.

    A011ZW7E01
    A011ZQDE01
  2. INSTALLATION

    Symbol meaning
    A011ZTV Remove Weld Points
    A011ZRI Plug Weld
    A011ZPO Plug Weld

      INSTALLATION POINT

    1. Divide a new part of cowl side reinforcement in to *1 and *2 at the weld points. After welding the *1 to the vehicle side, install the *2.

    2. After applying the top coat, apply anti-rust agent to the internal panel portion of the closed section structural weld points.

    A011ZV8E01
    A011ZTFE01