Tech Tips
Use the same procedure for the LH side and RH side.
The procedure listed below is for the RH side.
REMOVE FRONT DOOR SCUFF PLATE LH
Detach the 8 claws and 2 clips, and remove the front door scuff plate.
REMOVE COWL SIDE TRIM BOARD LH
Detach the 2 clips and guide, and remove the cowl side trim board.
REMOVE FRONT DOOR OPENING TRIM WEATHERSTRIP LH
Remove the front door opening trim weatherstrip.
REMOVE FRONT PILLAR GARNISH LH
| *1 | Front Pillar Garnish Clip |
Pull the upper part of the garnish toward the inside of the cabin and detach the 2 clips.
Tech Tips
Allow the front pillar garnish to hang by the front pillar garnish clip.
| *1 | Front Pillar Garnish Clip |
| *2 | Protective Tape |
Turn the end of the front pillar garnish clip 90° with needle-nose pliers and remove it from the front pillar garnish.
Note
Front pillar garnish clips are reusable if they are not removed from the vehicle and have no damage.
Replace the front pillar garnish clips with new ones if they are removed from the vehicle.
Tech Tips
Tape the tips of the needle-nose pliers before use.
Detach the 2 claws and remove the front pillar garnish.
| *1 | Curtain Shield Airbag Assembly |
| *2 | Adhesive Tape |
| *3 | Protective Cover |
w/ Curtain Shield Airbag:
Protect the curtain shield airbag assembly.
Completely cover the airbag with a cloth or nylon sheet and secure the ends of the cover with adhesive tape as shown in the illustration.
Note
Cover the curtain shield airbag with a protective cover as soon as the front pillar garnish is removed.
REMOVE FRONT SIDE FIX WINDOW ASSEMBLY LH
| *1 | Protective Tape |
Note
When removing the front side fix window from the vehicle, be careful not to damage the vehicle's paint or interior/exterior ornaments.
Apply protective tape to the outer surface of the vehicle body to prevent scratches.
Using a knife, cut off the moulding as shown in the illustration.
| *1 | Moulding | *2 | Cut |
Note
Be careful not to damage the vehicle body with the knife.
Remove the remaining moulding.
Tech Tips
Make a partial cut in the moulding. Then pull and remove it by hand.
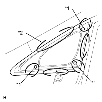
| *1 | Clip |
| *2 | Piano Wire |
From the interior, insert a piano wire between the vehicle body and window as shown in the illustration.
Tie objects that can serve as handles (for example, wooden blocks) to both wire ends.
Cut through the adhesive by pulling the piano wire around the window.
Note
Leave as much adhesive on the vehicle body as possible when cutting through the adhesive.
Detach the 3 clips and remove the window.
CLEAN VEHICLE BODY
| *1 | Adhesive |
| *2 | Vehicle Body |
Clean and shape the contact surface of the vehicle body.
On the contact surface of the vehicle body, use a knife to cut away excess adhesive as shown in the illustration.
Tech Tips
Leave as much adhesive on the vehicle body as possible.
Note
Be careful not to damage the vehicle body.
Clean the contact surface of the vehicle body with cleaner.
Tech Tips
Even if all the adhesive has been removed, clean the vehicle body.