RELAY ON-VEHICLE INSPECTION


  1. INSPECT HEATER RELAY (HTR) (for Manual Air Conditioning System)

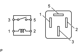
    A01INUME01

    1. Measure the resistance according to the value(s) in the table below.

      Standard Resistance
      Tester Connection Condition Specified Condition
      3 - 4 Battery voltage applied to terminals 1 and 2 Below 1 Ω
      3 - 5 Battery voltage not applied to terminals 1 and 2 10 kΩ or higher
      3 - 5 Battery voltage applied to terminals 1 and 2 Below 1 Ω

      • If the result is not as specified, replace the relay.

  2. INSPECT PTC HEATER RELAY (PTC HTR 1 (for 1AD-CCO), PTC HTR 2, PTC HTR 3) (w/ PTC Heater)

    A01INA8E97

    1. Measure the resistance according to the value(s) in the table below.

      Standard Resistance
      Tester Connection Condition Specified Condition
      3 - 5 Battery voltage not applied to terminals 1 and 2 10 kΩ or higher
      Battery voltage applied to terminals 1 and 2 Below 1 Ω

      • If the result is not as specified, replace the relay.

  3. INSPECT PTC HEATER RELAY (PTC HTR 1 (for 1AD-DPF))


    1. A01IQROE01

      Measure the resistance according to the value(s) in the table below.

      Standard Resistance
      Tester Connection Condition Specified Condition
      3 - 5 Battery voltage not applied to terminals 1 and 2 10 kΩ or higher
      Battery voltage applied to terminals 1 and 2 Below 1 Ω

      • If the result is not as specified, replace the relay.