AIR CONDITIONING SYSTEM (for Automatic Air Conditioning System) Blower Motor Circuit

DESCRIPTION

A01IPBFE01

The blower with fan motor sub-assembly operates according to signals from the air conditioning amplifier assembly. The blower with fan motor sub-assembly speed signals are transmitted by changes in the duty ratio.

Duty Ratio:

The duty ratio is the ratio of the blower with fan motor sub-assembly on time (T1) to the total of the blower with fan motor sub-assembly on and off time (T2).

The air conditioning amplifier assembly controls the blower with fan motor sub-assembly speed.

WIRING DIAGRAM

A01IOU3E11

INSPECTION PROCEDURE

PROCEDURE


  1. PERFORM ACTIVE TEST USING INTELLIGENT TESTER


    1. Select the Active Test, use the intelligent tester to generate a control command, and then check that the blower with fan motor sub-assembly operates.

      Air Conditioner
      Tester Display Test Part Control Range Diagnostic Note
      Blower Motor Blower motor Min.: 0, Max.: 31 -
      OK
      Blower motor operates and blower motor speed changes.

    NG
    OK
  2. CHECK HARNESS AND CONNECTOR (BLOWER WITH FAN MOTOR - BATTERY AND BODY GROUND)


    1. A01IRGFE04
      Text in Illustration
      *1

      Front view of wire harness connector

      (to Blower with Fan Motor Sub-assembly)

      Disconnect the H36 motor connector.

    2. Measure the voltage according to the value(s) in the table below.

      Standard Voltage
      Tester Connection Condition Specified Condition
      H36-3 (+B) - Body ground Always 11 to 14 V
    3. Measure the resistance according to the value(s) in the table below.

      Standard Resistance
      Tester Connection Condition Specified Condition
      H36-1 (GND) - Body ground Always Below 1 Ω

    NG
    OK
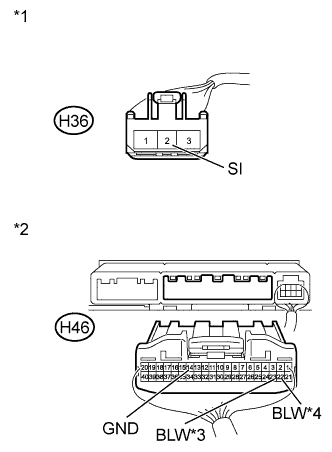
  3. CHECK HARNESS AND CONNECTOR (BLOWER WITH FAN MOTOR - AIR CONDITIONING AMPLIFIER)


    1. A01ITAZE05
      Text in Illustration
      *1

      Front view of wire harness connector

      (to Blower with Fan Motor Sub-assembly)

      *2

      Rear view of wire harness connector

      (to Air Conditioning Amplifier Assembly)

      *3 except 1WW Engine
      *4 for 1WW Engine

      Disconnect the H46 amplifier connector.

    2. Disconnect the H36 motor connector.

    3. Measure the resistance according to the value(s) in the table below.

      Standard Resistance
      except 1WW Engine
      Tester Connection Condition Specified Condition
      H46-23 (BLW) - H36-2 (SI) Always Below 1 Ω
      H46-23 (BLW) - Body ground Always 10 kΩ or higher
      H46-14 (GND) - Body ground Always Below 1 Ω
      for 1WW Engine
      Tester Connection Condition Specified Condition
      H46-22 (BLW) - H36-2 (SI) Always Below 1 Ω
      H46-22 (BLW) - Body ground Always 10 kΩ or higher
      H46-14 (GND) - Body ground Always Below 1 Ω

    NG
    OK
  4. CHECK AIR CONDITIONING AMPLIFIER ASSEMBLY (BLW SIGNAL)


    1. A01ISNTE07
      Text in Illustration
      *1

      Component with harness connected

      (Air Conditioning Amplifier Assembly)

      *2 except 1WW Engine
      *3 for 1WW Engine

      Remove the air conditioning amplifier assembly with its connectors still connected Click here.

    2. Using an oscilloscope, check the waveform.

      Measurement Condition
      Item Content
      Terminal No. (Symbol)

      H46-23 (BLW) - H46-14 (GND)*1

      H46-22 (BLW) - H46-14 (GND)*2

      Tool Setting 1 V/DIV., 500 μs/DIV.
      Condition

      Ignition switch ON

      Blower switch LO


      • *1: except 1WW Engine

      • *2: for 1WW Engine

      OK
      Waveform is as shown in the illustration.

      Tech Tips

      Waveform varies with the blower level.


    NG
    OK
  5. REPLACE BLOWER WITH FAN MOTOR SUB-ASSEMBLY


    1. Replace the blower with fan motor sub-assembly with a new or normally functioning one Click here.


    NEXT
  6. CHECK BLOWER WITH FAN MOTOR SUB-ASSEMBLY


    1. Operate the blower with fan motor sub-assembly to check that it functions properly.

      OK
      Blower with fan motor sub-assembly operates normally.

    NG
    OK