| Transmitter | Receiver | Signal | Communication Line |
|---|---|---|---|
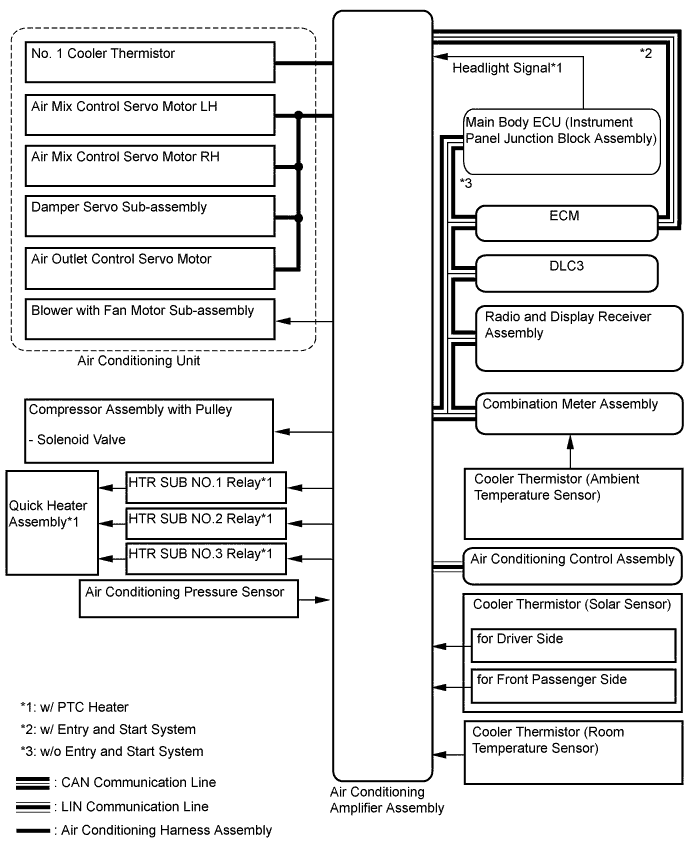
| Air conditioning amplifier assembly | ECM | A/C idle up request signal | CAN |
| Heater idle up request signal | |||
| Motor cooling fan driver request signal | |||
| PTC heater control request signal* | |||
| Electricity load at low voltage state signal | |||
| Variable compressor solenoid current signal | |||
| Refrigerant gas pressure sensor signal | |||
| Ambient temperature signal | |||
| Air conditioning amplifier assembly | Radio and display receiver assembly | A/C indicator signal | |
| Main body ECU | Air conditioning amplifier assembly | Steering wheel location information signal | |
| Combination meter assembly | Air conditioning amplifier assembly | Vehicle speed signal | |
| Outside temperature sensor data signal | |||
| ECM | Air conditioning amplifier assembly | Engine coolant temperature signal | |
| Engine speed data | |||
| A/C control cut-off signal | |||
| Variable control inhibition signal | |||
| Engine type information signal | |||
| Air conditioning amplifier assembly | Air conditioning control assembly | Front panel indication signal | LIN |
| AUTO indication signal | |||
| Blower level indication signal | |||
| A/C indication signal | |||
| REC indication signal | |||
| Rr DEF indication signal | |||
| DUAL/SYNC indication signal | |||
| Set temperature indication signal | |||
| Air conditioning control assembly | Air conditioning amplifier assembly | Separate A/C information signal | |
| AUTO operation switch signal | |||
| OFF operation switch signal | |||
| Blower operation switch signal (up, down) | |||
| Driver seat outlet operation switch signal | |||
| Fr DEF operation switch signal | |||
| Rr DEF operation switch signal | |||
| DUAL/SYNC operation switch signal | |||
| Set temperature switch signal | |||
| A/C switch signal |
*: w/ PTC Heater