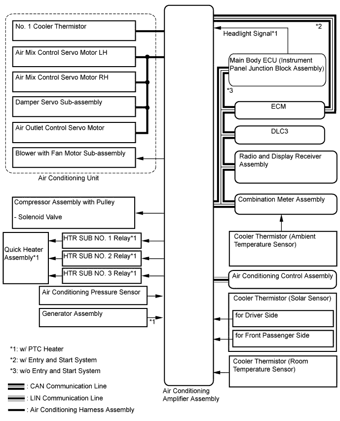
AIR CONDITIONING SYSTEM (for Automatic Air Conditioning System) SYSTEM DIAGRAM

A01IQZUE01
Communication Table
Transmitter Receiver Signal Communication Line
Air conditioning amplifier assembly ECM A/C idle up request signal CAN
Heater idle up request signal
Motor cooling fan driver request signal
PTC heater control request signal*
Electricity load at low voltage state signal
Variable compressor solenoid current signal
Refrigerant gas pressure sensor signal
Ambient temperature signal
Air conditioning amplifier assembly Radio and display receiver assembly A/C indicator signal
Main body ECU Air conditioning amplifier assembly Steering wheel location information signal
Combination meter assembly Air conditioning amplifier assembly Vehicle speed signal
Outside temperature sensor data signal
ECM Air conditioning amplifier assembly Engine coolant temperature signal
Engine speed data
A/C control cut-off signal
Variable control inhibition signal
Engine type information signal
Air conditioning amplifier assembly Air conditioning control assembly Front panel indication signal LIN
AUTO indication signal
Blower level indication signal
A/C indication signal
REC indication signal
Rr DEF indication signal
DUAL/SYNC indication signal
Set temperature indication signal
Air conditioning control assembly Air conditioning amplifier assembly Separate A/C information signal
AUTO operation switch signal
OFF operation switch signal
Blower operation switch signal (up, down)
Driver seat outlet operation switch signal
Fr DEF operation switch signal
Rr DEF operation switch signal
DUAL/SYNC operation switch signal
Set temperature switch signal
A/C switch signal