LIGHTING SYSTEM Headlight (HI-BEAM) Circuit

DESCRIPTION

When both of the following conditions are met, the high beam headlights come on.


When the dimmer switch is turned to the high flash position, the high beam headlights come on.

Tech Tips


  • This circuit is only for vehicles with automatic light control or daytime running light control.

  • If the vehicle has automatic light control or daytime running light control, the exterior lights (headlights, taillights, front fog lights* and rear fog light) are controlled by the main body ECU.

  • If the vehicle does not have automatic light control or daytime running light control, the exterior lights (headlights, taillights, front fog lights* and rear fog light) are not controlled by the main body ECU. Perform troubleshooting according to the Problem Symptoms Table Click here.

  • If a high beam headlight on only one side does not illuminate, inspect any bulb, fuse or wire harness that is related to the headlight.

  • If both the right and left high beam headlights do not illuminate when the low beam headlights are on and the dimmer switch is turned to the high position, perform the high beam headlight relay Active Test and read the dimmer switch high signal value in the Data List to determine if the malfunction exists on either the switch side or the relay side.

  • Before performing troubleshooting of the high beam headlight control, check that the low beam headlights operate normally.


WIRING DIAGRAM

A01INCYE01

INSPECTION PROCEDURE

Note

Inspect the fuses and bulbs for circuits related to this system before performing the following inspection procedure.

PROCEDURE


  1. PERFORM ACTIVE TEST USING INTELLIGENT TESTER (HEADLIGHT)


    1. Using the intelligent tester, perform the Active Test Click here.

      Main Body
      Tester Display Test Part Control Range Diagnostic Note
      Head Light (HI) Headlight dimmer relay ON/OFF -
      OK
      Relay operates (high beam headlights illuminate).

    NG
    OK
  2. READ VALUE USING INTELLIGENT TESTER (HEADLIGHT DIMMER SWITCH)


    1. Using the intelligent tester, read the Data List Click here.

      Main Body
      Tester Display Measurement Item/Range Normal Condition Diagnostic Note
      Dimmer Hi SW Dimmer switch high signal / ON or OFF

      ON: Dimmer switch in high

      OFF: Dimmer switch in low

      -
      Passing Light SW Dimmer switch high flash signal / ON or OFF

      ON: Dimmer switch in high flash

      OFF: Dimmer switch not in high flash

      -
      OK
      The display is as specified in the normal condition column.

    NG
    OK
  3. CHECK HARNESS AND CONNECTOR (BATTERY - H-LP LH HI AND H-LP RH HI FUSE TERMINAL)

    A01IQ46E03
    Text in Illustration
    *1 Engine Room No. 1 Relay Block, Junction Block
    *2 H-LP LH HI Fuse
    *3 H-LP RH HI Fuse

    1. Measure the voltage according to the value(s) in the table below.

      Standard Voltage
      Tester Connection Switch Condition Specified Condition
      H-LP LH HI fuse terminal - Body ground Light control switch in head, dimmer switch low Below 1 V
      Light control switch in head, dimmer switch high 11 to 14 V
      H-LP RH HI fuse terminal - Body ground Light control switch in head, dimmer switch low Below 1 V
      Light control switch in head, dimmer switch high 11 to 14 V

    NG
    OK
  4. INSPECT HEADLIGHT DIMMER RELAY (DIMMER)

    A01IOIQE03

    1. Remove the headlight dimmer relay from the engine room No. 1 relay block, junction block.

    2. Measure the resistance according to the value(s) in the table below.

      Standard Resistance
      Tester Connection Condition Specified Condition
      3 - 5 Battery voltage not applied between terminals 1 and 2 10 kΩ or higher
      3 - 5 Battery voltage applied between terminals 1 and 2 Below 1 Ω

    NG
    OK
  5. CHECK HARNESS AND CONNECTOR (BATTERY - HEADLIGHT DIMMER RELAY [DIMMER])

    A01INNKE02
    Text in Illustration
    *1 Engine Room No. 1 Relay Block, Junction Block
    *2 Headlight Dimmer Relay (DIMMER)

    1. Measure the voltage according to the value(s) in the table below.

      Standard Voltage
      Tester Connection Condition Specified Condition
      Headlight dimmer relay terminal 1 - Body ground Always 11 to 14 V
      Headlight dimmer relay terminal 5 - Body ground

    NG
    OK
  6. CHECK HARNESS AND CONNECTOR (HEADLIGHT DIMMER RELAY [DIMMER] - FUSE)

    A01IQBFE03
    Text in Illustration
    *1 Engine Room No. 1 Relay Block, Junction Block
    *2 H-LP LH HI Fuse
    *3 H-LP RH HI Fuse
    *4 Headlight Dimmer Relay (DIMMER)

    1. Measure the resistance according to the value(s) in the table below.

      Standard Resistance
      Tester Connection Condition Specified Condition
      Headlight dimmer relay terminal 3 - H-LP LH HI fuse terminal Always Below 1 Ω
      Headlight dimmer relay terminal 3 - H-LP RH HI fuse terminal Always Below 1 Ω

    NG
    OK
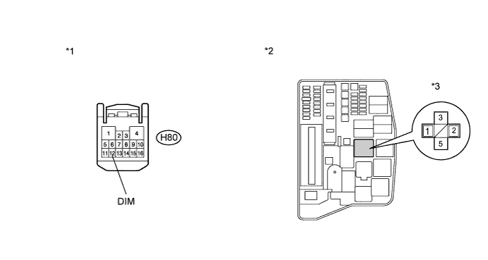
  7. CHECK HARNESS AND CONNECTOR (HEADLIGHT DIMMER RELAY [DIMMER] - MAIN BODY ECU)

    A01IN3YE02

    1. Disconnect the H80 main body ECU connector.

    2. Measure the resistance according to the value(s) in the table below.

      Standard Resistance
      Tester Connection Condition Specified Condition
      Headlight dimmer relay terminal 2 - H80-12 (DIM) Always Below 1 Ω
      H80-12 (DIM) - Body ground Always 10 kΩ or higher
      Text in Illustration
      *1

      Front view of wire harness connector

      (to Main Body ECU)

      *2 Engine Room No. 1 Relay Block, Junction Block
      *3 Headlight Dimmer Relay (DIMMER) - -

    NG
    OK