TIRE PRESSURE WARNING SYSTEM SYSTEM DESCRIPTION


  1. DESCRIPTION OF SYSTEM


    1. When the tire pressure warning system detects that the tire pressure of a tire becomes lower than the threshold, it will inform the driver using a warning light.

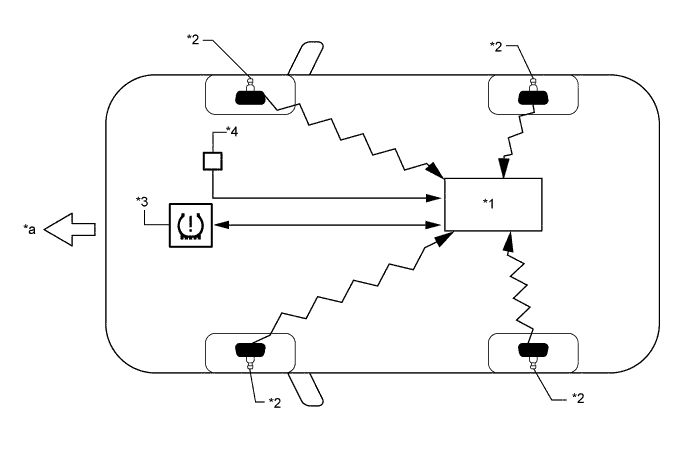
    2. The tire pressure warning ECU and receiver receives the transmitter ID, temperature and tire pressure information from the tire pressure warning valve and transmitters shown in the following illustration. This information is used to determine when the pressure in one of the tires has dropped.

      A01INNTE01
    Text in Illustration
    *1 Tire Pressure Warning ECU and Receiver *2 Tire Pressure Warning Valve and Transmitter
    *3

    Combination Meter Assembly

    - Tire Pressure Warning Light

    *4 Tire Pressure Warning Reset Switch
    *a Front - -
  2. DESCRIPTION OF REGISTRATION


    1. When tires and wheels are replaced, always ensure that each transmitter ID is correctly registered.

    2. When one or more tire pressure warning valve and transmitters or the tire pressure warning ECU and receiver is replaced, the transmitter IDs for all of the tire pressure warning valve and transmitters must be re-registered. Before registering the transmitter ID of the new tire pressure warning valve and transmitter, check the Data List and record all of the transmitter IDs that are already registered.

  3. TIRE PRESSURE WARNING RESET SWITCH


    1. By operating the tire pressure warning reset switch, the tire pressure warning ECU and receiver can be set to issue a warning at an inflation pressure that corresponds to the type of tires fitted to the vehicle. Therefore, the warning threshold must be set to the proper value in order to comply with local regulations.

    2. Operate the tire pressure warning reset switch only after the inflation pressures of all tires have been adjusted on the vehicle.

  4. DESCRIPTION OF INITIALIZATION


    1. During initialization, the tire pressure warning valve and transmitters measure the inflation pressure of the tires, and register the signals that are transmitted into the tire pressure warning ECU and receiver at a frequency of about once per minute. The initialization process is completed when signals from all tires have been received.

    2. Perform initialization in the following cases:


      1. Before delivery of a new vehicle.

      2. After replacement of the tire pressure warning ECU and receiver*.

      3. After replacement of a tire pressure warning valve and transmitter*.

      4. When the specified tire pressure changes due to the use of a different size or type of tire.

      5. When the specified tire pressure changes due to a change in the vehicle load, the speed range that the vehicle will be used in, etc.

      6. When a tire rotation is performed and the specified tire pressures are different for the front and rear of the vehicle.

        Tech Tips

        *: Perform initialization after the transmitter ID registration is completed.

  5. FUNCTION OF MAIN COMPONENTS

    Component Function
    Tire Pressure Warning ECU and Receiver
    • Receives the data from the tire pressure warning valve and transmitter and monitors the tire pressure.

    • When the tire pressure warning ECU and receiver detects a drop in the tire pressure, a system malfunction or initialization mode, it outputs the respective signal to the combination meter.

    • When the tire pressure warning ECU and receiver detects that the vehicle speed signal is lost, it determines that the vehicle is being driven.

    Tire Pressure Warning Valve and Transmitter Detects the pressure and internal temperature of the tire and transmits the measured values and the ID code to the tire pressure warning ECU and receiver.
    Tire Pressure Warning Reset Switch The appropriate air pressures of the tires currently mounted on the vehicle are stored in the tire pressure warning ECU and receiver by operating the tire pressure warning reset switch.
    Combination Meter Assembly Transmits the vehicle speed signal to the tire pressure warning ECU and receiver.
    Tire Pressure Warning Light
    • Illuminates after blinking for 1 minute to warn the driver in accordance with the signal from the tire pressure warning ECU and receiver.

    • Displays 2-digit Diagnostic Trouble Codes (DTC).