CLUTCH PEDAL (for RHD) INSTALLATION


  1. INSTALL CLUTCH PEDAL TURNOVER BUSH

    A01INS5E01
    Text in Illustration
    *1 MP grease

    1. Install the clutch pedal turnover bush to the clutch pedal sub-assembly.

    2. Apply MP grease to the inside of the clutch pedal turnover bush.

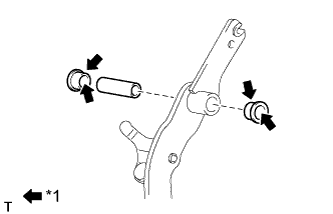
  2. INSTALL CLUTCH MASTER CYLINDER PUSH ROD CLEVIS BUSHING

    A01ITOCE01
    Text in Illustration
    *1 MP grease

    1. Apply MP grease to the inside of a new clutch master cylinder push rod clevis bushing.

    2. Install the clutch master cylinder push rod clevis bushing to the clutch pedal sub-assembly.

      Tech Tips

      Install the clutch master cylinder push rod clevis bushing from the left side of the vehicle.

  3. INSTALL NO. 1 CLUTCH PEDAL CUSHION


    1. A01IRRV

      Install the 2 No. 1 clutch pedal cushions to the clutch pedal sub-assembly.

  4. INSTALL CLUTCH PEDAL BUSHING

    A01ISI4E01
    Text in Illustration
    *1 MP grease

    1. Apply MP grease to both sides of 2 new clutch pedal bushings.

    2. Install the 2 clutch pedal bushings and collar to the clutch pedal sub-assembly.

  5. INSTALL CLUTCH PEDAL PAD


    1. Install the clutch pedal pad to the clutch pedal sub-assembly.

  6. INSTALL CLUTCH PEDAL SUB-ASSEMBLY


    1. A01IT4C

      Install the clutch pedal sub-assembly to the clutch pedal support sub-assembly with the bolt and nut.

      Torque:
      37 N*m  { 375 kgf*cm, 27 ft.*lbf }

      Tech Tips

      Install the bolt from the left side of the vehicle.

  7. INSTALL PEDAL SPRING HOOK (for 1AD-FTV)

    A01IQBPE01
    Text in Illustration
    *1 MP grease

    1. Apply MP grease to the contact surface of the pedal spring hook.

    2. Install the pedal spring hook.

  8. INSTALL PEDAL WITH HOOK SPRING (for 1AD-FTV)

    A01IT93E01
    Text in Illustration
    *1 MP grease

    1. Apply MP grease to the contact surface of the hook spring.

    2. Install the hook spring.

  9. INSTALL CLUTCH PEDAL STOPPER BOLT


    1. A01IT0V

      Install the clutch pedal stopper bolt together with the nut so that its end touches the No. 1 clutch pedal cushion.

      Tech Tips

      Tighten the lock nut to the specified torque when adjusting the clutch pedal.

  10. INSTALL CLUTCH PEDAL SPRING HOLDER

    A01IR78E01
    Text in Illustration
    *1 MP grease

    1. Apply MP grease to the contact surface of the clutch pedal spring holder.

    2. Install the clutch pedal spring holder to the clutch pedal support sub-assembly.

  11. INSTALL TURN OVER SPRING SEAT COMPRESSION SPRING

    A01ITV8E01
    Text in Illustration
    *1 MP grease

    1. Apply MP grease to the contact surfaces of the clutch pedal spring holder and turn over seat compression spring.

    2. Install the turn over seat compression spring to the clutch pedal and clutch pedal spring holder.

  12. INSTALL CENTER OVER SPRING CAP

    A01IQ08

    1. Install the center over spring cap to the clutch pedal sub-assembly.

      Tech Tips

      Install the center over spring cap from the right side of the vehicle.

  13. INSTALL CLUTCH START SWITCH ASSEMBLY

    A01IP3W

    1. Install the clutch start switch assembly with the nut.

      Torque:
      16 N*m  { 160 kgf*cm, 12 ft.*lbf }
  14. INSTALL CLUTCH SWITCH ASSEMBLY

    A01IURL

    1. Install the clutch switch assembly with the nut.

      Torque:
      16 N*m  { 160 kgf*cm, 12 ft.*lbf }
    2. A01IQ6GE01

      With the clutch pedal fully depressed, check the clearance.

      Standard Measurement
      Area Item Specified Condition
      a for 1AD-FTV, 2AD-FHV 0.5 to 3 mm (0.0981 to 0.118 in.)
      for 1ZR-FAE 3 to 5.5 mm (0.118 to 0.0.217 in.)
      for 2ZR-FAE 1.7 to 4.2 mm (0.0669 to 0.165 in.)
  15. INSTALL CLUTCH PEDAL SUPPORT SUB-ASSEMBLY


    1. A01IU4E

      Install the clutch pedal support sub-assembly with the 2 nuts and 2 bolts.

      Torque:
      for bolt
      19 N*m  { 195 kgf*cm, 14 ft.*lbf }
      for nut
      18 N*m  { 178 kgf*cm, 13 ft.*lbf }
    2. Connect the clutch start switch assembly connector and clutch switch assembly connector.

  16. INSTALL CLUTCH MASTER CYLINDER PUSH ROD CLEVIS WITH HOLE PIN

    A01IR3SE03
    Text in Illustration
    *1 MP grease

    1. Apply MP grease to the contact surface of the clutch master cylinder push rod clevis with hole pin.

    2. Connect the clevis to the clutch pedal sub-assembly with the clutch master cylinder push rod clevis with hole pin.

      Tech Tips

      Install the clutch master cylinder push rod clevis with hole pin from the left side of the vehicle.

    3. Install a new clip to the clutch master cylinder push rod clevis with hole pin.

  17. INSPECT AND ADJUST CLUTCH PEDAL SUB-ASSEMBLY


    1. Inspect and adjust the clutch pedal sub-assembly Click here.

  18. INSTALL LOWER NO. 1 INSTRUMENT PANEL AIRBAG ASSEMBLY


    1. Install the lower No. 1 instrument panel airbag assembly Click here.

  19. INSTALL INSTRUMENT PANEL SAFETY PAD SUB-ASSEMBLY


    1. Install the instrument panel safety pad sub-assembly Click here.