СИСТЕМА ОСВЕЩЕНИЯ Цепь фар ближнего света

ОПИСАНИЕ

Управление реле фар осуществляет главный ЭБУ кузова (бортовой ЭБУ сети мультиплексной связи).

СХЕМА ЭЛЕКТРИЧЕСКИХ СОЕДИНЕНИЙ


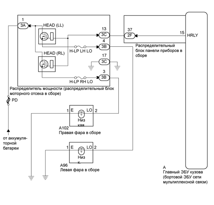
  1. Для моделей с галогенными фарами

    A01NITME03
  2. Для моделей с газоразрядными фарами

    A01NJPBE05
  3. для моделей со светодиодными фарами

    A01NKIQE05

ПОСЛЕДОВАТЕЛЬНОСТЬ ПРОВЕРКИ

Note

Перед выполнением следующей процедуры проверки проверьте предохранители цепей, относящихся к данной системе.

ПОРЯДОК ВЫПОЛНЕНИЯ


  1. ВЫПОЛНИТЕ ДИАГНОСТИКУ В РЕЖИМЕ ACTIVE TEST С ПОМОЩЬЮ ПОРТАТИВНОГО ДИАГНОСТИЧЕСКОГО ПРИБОРА


    1. Подсоедините портативный диагностический прибор к DLC3.

    2. Включите питание (IG).

    3. Включите портативный диагностический прибор.

    4. Войдите в следующие меню: Body / Main Body / Active Test.

    5. Убедитесь, что реле работают.

      Main Body (Кузов)
      Информация на дисплее прибора Испытываемое устройство Диапазон регулирования Замечание по диагностике
      Headlight Relay Реле фар ON (ВКЛ) / OFF (ВЫКЛ) -
      OK
      Реле фар работают (Фары ближнего света горят.)

    NG
    OK
  2. ПРОВЕРЬТЕ РАСПРЕДЕЛИТЕЛЬ МОЩНОСТИ (РАСПРЕДЕЛИТЕЛЬНЫЙ БЛОК МОТОРНОГО ОТСЕКА В СБОРЕ)


    1. A01NJOJE04
      Обозначения на рисунке
      *1

      Устройство с неподсоединенным жгутом проводов

      (распределитель мощности (распределительный блок моторного отсека в сборе))

      Извлеките распределитель мощности (распределительный блок моторного отсека в сборе) из блока реле моторного отсека (см. стр. Click here).

    2. Подсоедините положительный (+) вывод аккумуляторной батареи к контакту 3A-1.

    3. Подсоедините отрицательный (-) вывод аккумуляторной батареи к контактам 3C-13 и 3C-17.

    4. Измерьте напряжение в соответствии со значениями, приведенными в таблице.

      Номинальное напряжение
      Подключение диагностического прибора Условия Номинальное сопротивление
      3B-3 - отрицательный вывод аккумуляторной батареи Всегда 11 - 14 В
      3B-4 - отрицательный вывод аккумуляторной батареи Всегда 11 - 14 В

    NG
    OK
  3. ПРОВЕРЬТЕ ЖГУТ ПРОВОДОВ И РАЗЪЕМ (АККУМУЛЯТОРНАЯ БАТАРЕЯ – РАСПРЕДЕЛИТЕЛЬ МОЩНОСТИ)


    1. A01NKR2E01
      Обозначения на рисунке
      *1

      Вид спереди разъема со стороны жгута проводов:

      (к распределителю мощности (распределительному блоку моторного отсека в сборе))

      Отсоедините разъем 3A распределителя мощности (распределительного блока моторного отсека в сборе).

    2. Измерьте напряжение в соответствии со значениями, приведенными в таблице.

      Номинальное напряжение
      Разъем для подключения портативного диагностического прибора Условия Номинальное сопротивление
      3A-1 - масса Всегда 11 - 14 В

    NG
    OK
  4. ПРОВЕРЬТЕ ЖГУТ ПРОВОДОВ И РАЗЪЕМ (РАСПРЕДЕЛИТЕЛЬ ПИТАНИЯ – МАССА)


    1. A01NJB0E01
      Обозначения на рисунке
      *1

      Вид спереди разъема со стороны жгута проводов:

      (к распределителю мощности (распределительному блоку моторного отсека в сборе))

      Отсоедините разъем 3C распределителя мощности (распределительного блока моторного отсека в сборе).

    2. Измерьте сопротивление в соответствии со значениями, приведенными в таблице ниже.

      Номинальное сопротивление
      Подключение диагностического прибора Условия Номинальное сопротивление
      3C-17 - масса Всегда Менее 1 Ом

    NG
    OK
  5. ПРОВЕРЬТЕ ЖГУТ ПРОВОДОВ И РАЗЪЕМ (РАСПРЕДЕЛИТЕЛЬ МОЩНОСТИ - РАСПРЕДЕЛИТЕЛЬНЫЙ БЛОК ПАНЕЛИ ПРИБОРОВ В СБОРЕ)


    1. A01NN5NE01
      Обозначения на рисунке
      *1

      Вид спереди разъема со стороны жгута проводов:

      (к распределителю мощности (распределительному блоку моторного отсека в сборе))

      *2

      Вид спереди разъема со стороны жгута проводов:

      (к распределительному блоку панели приборов в сборе)

      Отсоедините разъем 3C распределителя мощности (распределительного блока моторного отсека в сборе).

    2. Отсоедините разъем 2F распределительного блока панели приборов в сборе.

    3. Измерьте сопротивление в соответствии со значениями, приведенными в таблице ниже.

      Номинальное сопротивление
      Подключение диагностического прибора Условия Номинальное сопротивление
      3C-13 - 2F-37 Всегда Менее 1 Ом
      3C-13 - масса Всегда 10 кОм или более

    NG
    OK
  6. ПРОВЕРЬТЕ РАСПРЕДЕЛИТЕЛЬНЫЙ БЛОК ПАНЕЛИ ПРИБОРОВ В СБОРЕ


    1. A01NI9GE04
      Обозначения на рисунке
      *1

      Устройство с неподсоединенным жгутом проводов

      (Распределительный блок панели приборов в сборе)

      Снимите распределительный блок панели приборов в сборе.

    2. Измерьте сопротивление в соответствии со значениями, приведенными в таблице ниже.

      Номинальное сопротивление
      Подключение диагностического прибора Условия Номинальное сопротивление
      2F-37 - A-15 (HRLY) Всегда Менее 1 Ом
      2F-37 - масса Всегда 10 кОм или более

    NG
    OK