СИСТЕМА ОСВЕЩЕНИЯ Цепь реле системы подфарников, включаемых при движении в светлое время суток

ОПИСАНИЕ

Главный ЭБУ кузова (бортовой ЭБУ сети мультиплексной связи) управляет работой подфарников, включаемых при движении в светлое время суток.

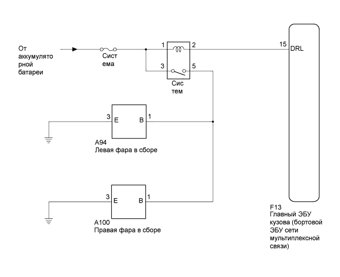
СХЕМА ЭЛЕКТРИЧЕСКИХ СОЕДИНЕНИЙ

A01NISTE06

ПОСЛЕДОВАТЕЛЬНОСТЬ ПРОВЕРКИ

Note

Перед выполнением следующей процедуры проверки проверьте предохранители цепей, относящихся к данной системе.

ПОРЯДОК ВЫПОЛНЕНИЯ


  1. ВЫПОЛНИТЕ ДИАГНОСТИКУ В РЕЖИМЕ ACTIVE TEST С ПОМОЩЬЮ ПОРТАТИВНОГО ДИАГНОСТИЧЕСКОГО ПРИБОРА


    1. Подсоедините портативный диагностический прибор к DLC3.

    2. Включите питание (IG).

    3. Включите портативный диагностический прибор.

    4. Войдите в следующие меню: Body / Main Body / Active Test.

    5. Убедитесь, что подфарники, включаемые при движении в светлое время суток, работают.

      Main Body (Кузов)
      Информация на дисплее прибора Испытываемое устройство Диапазон регулирования Замечание по диагностике
      Daytime Running Light Подфарники, включаемые при движении в светлое время суток ON (ВКЛ) / OFF (ВЫКЛ) -
      OK
      Подфарники, включаемые при движении в светлое время суток, включаются.

    NG
    OK
  2. ПРОВЕРЬТЕ РЕЛЕ DRL


    1. A01NMT5E94

      Снимите реле DRL из блока реле моторного отсека.

    2. Измерьте сопротивление в соответствии со значениями, приведенными в таблице ниже.

      Номинальное сопротивление
      Подключение диагностического прибора Условие Заданные условия
      3 - 5 Напряжение не подается между контактами 1 и 2 10 кОм или более
      3 - 5 Напряжение подается между контактами 1 и 2 Менее 1 Ом

    NG
    OK
  3. ПРОВЕРЬТЕ ЖГУТ ПРОВОДОВ И РАЗЪЕМ (АККУМУЛЯТОРНАЯ БАТАРЕЯ – РЕЛЕ DRL)


    1. Измерьте напряжение в соответствии со значениями, приведенными в таблице.

      Номинальное напряжение
      Подключение диагностического прибора Условие Заданные условия
      Контакт 1 реле - масса Всегда 11-14 В
      Контакт 3 реле - масса Всегда 11-14 В

    NG
    OK
  4. ПРОВЕРЬТЕ ЖГУТ ПРОВОДОВ И РАЗЪЕМ (РЕЛЕ DRL – ГЛАВНЫЙ ЭБУ КУЗОВА (БОРТОВОЙ ЭБУ СЕТИ МУЛЬТИПЛЕКСНОЙ СВЯЗИ))


    1. Отсоедините разъем F13 главного ЭБУ кузова (бортового ЭБУ сети мультиплексной связи).

    2. Измерьте сопротивление в соответствии со значениями, приведенными в таблице ниже.

      Номинальное сопротивление
      Подключение диагностического прибора Условие Заданные условия
      Вывод 2 реле - F13-15 (DRL) Всегда Менее 1 Ом
      F13-15 (DRL) - масса Всегда 10 кОм или более

    NG
    OK
  5. ПРОВЕРЬТЕ ЖГУТ ПРОВОДОВ И РАЗЪЕМ (РЕЛЕ DRL – ЛЕВАЯ ФАРА В СБОРЕ И ПРАВАЯ ФАРА В СБОРЕ)


    1. Отсоедините разъем A94 левой фары.

    2. Отсоедините разъем A100 правой фары.

    3. Измерьте сопротивление в соответствии со значениями, приведенными в таблице ниже.

      Номинальное сопротивление
      Контакты для подключения диагностического прибора Условие Заданные условия
      Контакт 5 реле - A94-1 (B) Всегда Менее 1 Ом
      Контакт 5 реле - A100-1 (B) Всегда Менее 1 Ом
      Контакт 5 реле - масса Всегда 10 кОм или более

    NG
    OK