СИСТЕМА КОНДИЦИОНИРОВАНИЯ Цепь электродвигателя вентилятора

ОПИСАНИЕ

Управление электродвигателем вентилятора осуществляется посредством сигналов из блока управления системой кондиционирования. Изменение частоты вращения электродвигателя вентилятора осуществляется путем изменения скважности этих сигналов.

СХЕМА ЭЛЕКТРИЧЕСКИХ СОЕДИНЕНИЙ

A01NIMUE13

ПОСЛЕДОВАТЕЛЬНОСТЬ ПРОВЕРКИ

Note

Перед выполнением следующей процедуры проверки проверьте предохранители цепей, относящихся к данной системе.

ПОРЯДОК ВЫПОЛНЕНИЯ


  1. ВЫПОЛНИТЕ ДИАГНОСТИКУ В РЕЖИМЕ ACTIVE TEST С ПОМОЩЬЮ ПОРТАТИВНОГО ДИАГНОСТИЧЕСКОГО ПРИБОРА


    1. Подсоедините портативный диагностический прибор к DLC3.

    2. Включите питание (IG).

    3. Включите портативный диагностический прибор.

    4. Войдите в следующие меню: Body / Air Conditioner / Active Test.

    5. Проверьте работу по данным в следующей таблице.

      Air Conditioner (Система кондиционирования)
      Информация на дисплее прибора Испытываемое устройство Диапазон регулирования Замечание по диагностике
      Blower Motor Электродвигатель вентилятора Мин.: 0, макс.: 31 -
      OK
      Электродвигатель вентилятора работает, и его частота вращения изменяется.
      Результат
      Результат Следующий шаг
      OK А
      NG (электродвигатель вентилятора не работает) B
      NG (электродвигатель вентилятора работает, но не меняет частоту вращения) C

    B
    C
    А
  2. ПРОВЕРЬТЕ ЖГУТ ПРОВОДОВ И РАЗЪЕМ (ЭЛЕКТРОДВИГАТЕЛЬ ВЕНТИЛЯТОРА – МАССА)


    1. A01NKS3E60
      Обозначения на рисунке
      *1

      Вид спереди разъема со стороны жгута проводов:

      (к электродвигателю вентилятора)

      Отсоедините разъем электродвигателя вентилятора.

    2. Измерьте сопротивление в соответствии со значениями, приведенными в таблице ниже.

      Номинальное сопротивление
      Подключение диагностического прибора Условие Заданные условия
      F109-1 (GND) - масса Всегда Менее 1 Ом

    NG
    OK
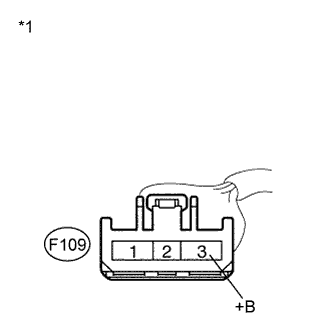
  3. ПРОВЕРЬТЕ ЖГУТ ПРОВОДОВ И РАЗЪЕМ (ЭЛЕКТРОДВИГАТЕЛЬ ВЕНТИЛЯТОРА – АККУМУЛЯТОРНАЯ БАТАРЕЯ)


    1. A01NKS3E61
      Обозначения на рисунке
      *1

      Вид спереди разъема со стороны жгута проводов:

      (к электродвигателю вентилятора)

      Измерьте напряжение в соответствии со значениями, приведенными в таблице.

      Номинальное напряжение
      Подключение диагностического прибора Условие Заданные условия
      F109-3 (+B) - масса Всегда 11-14 В

    NG
    OK
  4. ПРОВЕРЬТЕ ЖГУТ ПРОВОДОВ И РАЗЪЕМ (ЭЛЕКТРОДВИГАТЕЛЬ ВЕНТИЛЯТОРА – БЛОК УПРАВЛЕНИЯ СИСТЕМОЙ КОНДИЦИОНИРОВАНИЯ)


    1. A01NJH7E43

      Отсоедините разъем блока управления системой кондиционирования.

    2. A01NKS3E62
      Обозначения на рисунке
      *1

      Вид спереди разъема со стороны жгута проводов:

      (к блоку управления системой кондиционирования)

      *2

      Вид спереди разъема со стороны жгута проводов:

      (к электродвигателю вентилятора)

      Измерьте сопротивление в соответствии со значениями, приведенными в таблице ниже.

      Номинальное сопротивление
      Подключение диагностического прибора Условие Заданные условия
      F50-23 (BLW) - F109-2 (SI) Всегда Менее 1 Ом
      F50-23 (BLW) - масса Всегда 10 кОм или более

    NG
    OK
  5. ПРОВЕРЬТЕ ЭЛЕКТРОДВИГАТЕЛЬ ВЕНТИЛЯТОРА


    1. Подсоедините разъем электродвигателя вентилятора.

    2. A01NJH7E44
      Обозначения на рисунке
      *1

      Вид спереди разъема со стороны жгута проводов:

      (к блоку управления системой кондиционирования)

      Измерьте напряжение в соответствии со значениями, приведенными в таблице.

      Номинальное напряжение
      Подключение диагностического прибора Условие Заданные условия
      F50-23 (BLW) - масса Всегда 4,5-5,5 В

    NG
    OK
  6. ПРОВЕРЬТЕ БЛОК УПРАВЛЕНИЯ СИСТЕМОЙ КОНДИЦИОНИРОВАНИЯ


    1. A01NJLME17
      Обозначения на рисунке
      *1

      Устройство с подсоединенным жгутом проводов

      (блок управления системой кондиционирования)

      Снимите блок управления системой кондиционирования.

    2. Подсоедините разъем блока управления системой кондиционирования.

    3. Включите питание (IG).

    4. Установите низкую частоту вращения вентилятора.

    5. Проверьте форму сигнала между контактом F50-23 (BLW) блока управления системой кондиционирования и массой кузова.

      Параметр Описание
      Настройки прибора 1 В/дел., 500 мкс/дел.
      Состояние автомобиля

      Питание включено (IG)

      Установлена низкая частота вращения вентилятора

      OK
      Форма сигнала соответствует показанной на рисунке.

      Tech Tips

      Форма сигнала изменяется в зависимости от скорости вращения вентилятора.


    NG
    OK