БЛОК ДВИГАТЕЛЯ ПРОВЕРКА


  1. ПРОВЕРЬТЕ РЫЧАГ ПРИВОДА КЛАПАНА № 1 В СБОРЕ


    1. A01NIU3

      Проверните ролик рукой и убедитесь, что он вращается плавно.

      Tech Tips

      Если ролик не вращается плавно, замените рычаг привода клапана № 1 в сборе.

  2. ПРОВЕРЬТЕ МЕХАНИЗМ РЕГУЛИРОВКИ ЗАЗОРА В ПРИВОДЕ КЛАПАНА В СБОРЕ

    Note


    • Не допускайте попадания в механизм регулировки зазора в приводе клапана грязи и посторонних частиц.

    • Используйте только чистое моторное масло.


    1. Поместите механизм регулировки зазора в приводе клапана в емкость, наполненную моторным маслом.

    2. A01NKHNE11

      Вставьте наконечник специального инструмента в плунжер механизма регулировки зазора в приводе клапана и надавите на запорный шарик внутри плунжера.

      SST
      09276-75010
    3. Прижмите специальный инструмент к механизму регулировки зазора в приводе клапана и переместите плунжер вверх-вниз 5 - 6 раз.

    4. Проверьте ход плунжера и выпустите воздух.

      OK
      Плунжер перемещается вверх и вниз.

      Note

      Выпуская воздух под высоким давлением из камеры, убедитесь, чтобы наконечник SST действительно прижимал запорный шарик, как показано на рисунке. Если запорный шарик не прижать, не будет стравливаться воздух.

    5. После выпуска воздуха извлеките SST. Затем попробуйте быстро и с усилием нажать на плунжер рукой.

      OK
      Плунжер перемещается с трудом.

      При неудовлетворительном результате замените механизм регулировки зазора в приводе клапана.

  3. ПРОВЕРЬТЕ РАСПРЕДВАЛ


    1. Проверьте распредвал на биение.


      1. Установите распредвал на V-образные призмы.

      2. A01NI96

        Индикатором часового типа измерьте радиальное биение на центральной шейке.

        Максимально допустимое биение
        0,04 мм (0,00157 дюйма)

        Если радиальное биение превышает максимально допустимую величину, замените распредвал.

        Tech Tips

        После замены распредвала проверьте масляный зазор.

    2. A01NM4X

      Микрометром измерьте высоту рабочей части кулачков.

      Номинальная высота рабочей части кулачка
      Параметр Технические характеристики
      Распредвал впускных клапанов 44,316 - 44,416 мм (1,7448 - 1,7486 дюйма)
      Распредвал выпускных клапанов 43,390 - 43,490 мм (1,7083 - 1,7122 дюйма)
      Минимально допустимая высота рабочей части кулачка
      Параметр Технические характеристики
      Распредвал впускных клапанов 44,166 мм (1,7388 дюйма)
      Распредвал выпускных клапанов 43,240 мм (1,7024 дюйма)

      Если высота выступа кулачка меньше минимально допустимой величины, замените распредвал.

    3. A01NI6P

      Микрометром измерьте диаметр шейки.

      Номинальный диаметр шейки
      Параметр Технические характеристики
      Шейка №1 35,946-35,960 мм (1,4152-1,4157 дюйма)
      Для остальных шеек 25,959 - 25,975 мм (1,0221 - 1,0226 дюйма)

      Если диаметр шейки не соответствует указанному, проверьте масляный зазор.

  4. ПРОВЕРЬТЕ ЗУБЧАТОЕ КОЛЕСО РАСПРЕДВАЛА В СБОРЕ


    1. Зажмите распредвал в тисках.

      Note

      Следует соблюдать осторожность, чтобы не повредить распредвал при зажатии в тисках.

    2. A01NLLME04
      Обозначения на рисунке
      *1 Шпоночная канавка
      *2 Стопорный штифт

      Поместите зубчатое колесо распредвала на распредвал, совместив шпоночную канавку и цилиндрический штифт.

    3. Слегка нажмите и поверните зубчатое колесо распредвала относительно распредвала и нажмите сильнее на колесо, когда штифт войдет в шпоночную канавку.

      Note

      Не допускайте поворачивания зубчатого колеса распредвала в направлении угла запаздывания.

    4. Убедитесь в отсутствии зазора между фланцем зубчатого колеса распредвала и распредвалом.

    5. A01NLKY

      Удерживая распредвал, затяните болт крепления фланца.

      Torque:
      100 Н*м  { 1020 кгс*см, 74 фунт-сила-фута }
    6. Проверьте замок зубчатого колеса распредвала.


      1. Зажмите распредвал в тисках и убедитесь, что зубчатое колесо распредвала зафиксировано.

        Note

        Следует соблюдать осторожность, чтобы не повредить распредвал.

    7. A01NLQFE07

      Извлеките стопорный штифт.


      1. Закройте 4 масляных канала на шейке распредвала виниловой лентой, как показано на рисунке.

        Tech Tips

        В канавке распредвала со стороны опережения имеются 2 канала. Закупорьте один из каналов куском резины.

      2. Прорвите ленту со стороны канала опережения и со стороны канала запаздывания, который находится на обратной стороне отверстия со стороны канала опережения, как показано на рисунке.

      3. A01NNB3E08
        Обозначения на рисунке
        *1 Канал опережения
        *2 Канал запаздывания

        Подайте воздух под давлением около 200 кПа (2,0 кгс/см2, 28 фунтов на кв. дюйм) по 2 открытым каналам.

        CAUTION:

        Перед тем, как подать давление, закройте каналы кусками ткани, чтобы предотвратить разбрызгивание масла.

      4. A01NIZYE06

        Убедитесь, что зубчатое колесо распредвала вращается в направлении угла опережения при снижении давления воздуха, подаваемого со стороны канала запаздывания.

        Tech Tips

        В результате стопорный штифт освобождается в положении наибольшего запаздывания.

      5. Когда зубчатое колесо распредвала займет положение, соответствующее максимальному углу опережения, сначала сбросьте давление воздуха в канале со стороны запаздывания, а затем в канале со стороны опережения.

        Note

        Не прекращайте подачу воздуха, начиная с канала со стороны проточки опережения. В этом случае зубчатое колесо может рывком сместиться в направлении проточки запаздывания и сломать стопорный штифт.

    8. Проверьте плавность вращения.


      1. 2-3 раза поверните зубчатое колесо распредвала в пределах угла его поворота (21°), но не доводите его до положения, соответствующего предельному углу запаздывания. Убедитесь, что зубчатое колесо вращается свободно.

        Note

        Не используйте сжатый воздух для проверки плавности вращения.

    9. Проверьте, фиксируется ли муфта в положении наибольшего запаздывания.


      1. Убедитесь, что зубчатое колесо распредвала фиксируется в положении максимального запаздывания.

    10. A01NK7KE03

      Выверните болт фланца и снимите зубчатое колесо распредвала.

      Note


      • Не выворачивайте оставшиеся 3 болта.

      • Если зубчатое колесо распредвала предполагается использовать повторно, то перед его установкой необходимо освободить штифтовый замок.

  5. ПРОВЕРЬТЕ УСТАНОВОЧНЫЙ БОЛТ ГОЛОВКИ БЛОКА ЦИЛИНДРОВ


    1. A01NLL4E04

      С помощью штангенциркуля измерьте диаметр резьбы в точке, указанной на рисунке.

      Номинальный диаметр
      10,85 - 11,00 мм (0,4272 - 0,4330 дюйма)
      Минимально допустимый диаметр
      10,70 мм (0,4212 дюйма)

      Tech Tips


      • Если диаметр меньше минимально допустимого, замените болт головки блока цилиндров. Несоблюдение данного указания может привести к повреждению двигателя.


      • В случае повреждения резьбы замените болт крепления головки цилиндра.

  6. ПРОВЕРЬТЕ ЦЕПЬ В СБОРЕ


    1. A01NJESE06

      Потяните цепь с усилием 147 Н (15 кгс, 33,1 фунт-силы), как показано на рисунке.

    2. С помощью штангенциркуля измерьте длину 15 звеньев.

      Максимально допустимое удлинение цепи
      136,9 мм (5,389 дюйма)

      Note

      Выполните измерения на 3 произвольно выбранных участках. Рассчитайте среднее значение для всех измерений.

      Если усредненное удлинение цепи превышает максимально допустимую величину, замените цепь в сборе.

  7. ПРОВЕРЬТЕ ЦЕПЬ № 2 В СБОРЕ


    1. A01NJESE06

      Потяните цепь № 2 с усилием 147 Н (15 кгс, 33,1 фунт-силы), как показано на рисунке.

    2. С помощью штангенциркуля измерьте длину 15 звеньев.

      Максимально допустимое удлинение цепи
      137,6 мм (5,417 дюйма)

      Note

      Выполните измерения на 3 произвольно выбранных участках. Рассчитайте среднее значение для всех измерений.

      Если усредненное удлинение цепи превышает максимально допустимую величину, замените цепь в сборе.

  8. ПРОВЕРЬТЕ ВЕДУЩУЮ ЗВЕЗДОЧКУ ГРМ


    1. Оберните цепь вокруг ведущей звездочки.

    2. A01NI48

      Штангенциркулем измерьте диаметр звездочки с цепью в сборе.

      Минимально допустимый диаметр звездочки (с цепью)
      61,4 мм (2,418 дюйма)

      Tech Tips

      При измерении штангенциркуль должен касаться роликов цепи.

      Если диаметр меньше минимально допустимого, замените цепь № 1 и звездочку.

  9. ПРОВЕРЬТЕ ПРОМЕЖУТОЧНУЮ ЦЕПНУЮ ШЕСТЕРНЮ В СБОРЕ


    1. Оберните цепь вокруг ведущей звездочки.

    2. A01NJDP

      Штангенциркулем измерьте диаметр звездочки с цепью.

      Минимально допустимый диаметр звездочки (с цепью)
      61,4 мм (2,418 дюйма)

      Tech Tips

      При измерении штангенциркуль должен касаться роликов цепи.

      Если диаметр меньше минимально допустимого, замените цепь № 1 и звездочку.

  10. ПРОВЕРЬТЕ МАСЛЯНЫЙ ЗАЗОР ОСИ ПРОМЕЖУТОЧНОЙ ШЕСТЕРНИ


    1. A01NK8G

      Микрометром измерьте диаметр оси промежуточной шестерни.

      Номинальный диаметр вала промежуточной шестерни
      22,987 - 23,000 мм (0,9050 - 0,9055 дюйма)
    2. A01NLLL

      Используя индикатор часового типа для отверстий измерьте внутренний диаметр промежуточной цепной шестерни.

      Номинальный внутренний диаметр промежуточной шестерни
      23,020 - 23,030 мм (0,9063 - 0,9067 дюйма)
    3. Вычтите диаметр оси промежуточной шестерни из величины внутреннего диаметра промежуточной цепной шестерни.

      Номинальный масляный зазор
      0,020 - 0,043 мм (0,000787 - 0,00169 дюйма)
      Максимальный допустимый масляный зазор
      0,093 мм (0,00366 дюйма)

      Если осевой масляный зазор превышает допустимое значение, замените ось промежуточной шестерни и промежуточную цепную шестерню.

  11. ПРОВЕРЬТЕ НАТЯЖИТЕЛЬ ЦЕПИ № 1 В СБОРЕ


    1. A01NM4ME07
      Обозначения на рисунке
      *1 Плунжер
      *2 Стопорная пластина

      Отведите стопорную пластину вверх, чтобы освободить фиксатор. Нажмите на плунжер и убедитесь, что он перемещается плавно.

      Если необходимо, замените натяжитель цепи № 1 в сборе.

  12. ПРОВЕРЬТЕ НАТЯЖИТЕЛЬ ЦЕПИ № 2 В СБОРЕ


    1. A01NMDDE02
      Обозначения на рисунке
      *1 Глубина

      Убедитесь в плавности хода плунжера.

    2. Измерьте глубину износа натяжителя цепи № 2 в сборе.

      Максимальная глубина
      0,9 мм (0,0354 дюйма)

      Если глубина износа превышает максимально допустимую, замените натяжитель цепи № 2 в сборе.

  13. ПРОВЕРЬТЕ НАТЯЖИТЕЛЬ ЦЕПИ № 3 В СБОРЕ


    1. A01NMTRE02
      Обозначения на рисунке
      *1 Глубина

      Убедитесь в плавности хода плунжера.

    2. Измерьте глубину износа натяжителя цепи № 3 в сборе.

      Максимальная глубина
      0,9 мм (0,0354 дюйма)

      Если глубина износа превышает максимально допустимую, замените натяжитель цепи № 3 в сборе.

  14. ПРОВЕРЬТЕ БАШМАК НАТЯЖИТЕЛЯ ЦЕПИ


    1. A01NL1AE02
      Обозначения на рисунке
      *1 Глубина

      Измерьте глубину износа башмака натяжителя цепи.

      Максимальная глубина
      1,0 мм (0,0394 дюйма)

      Если глубина износа превышает максимально допустимую, замените башмак натяжителя цепи.

  15. ПРОВЕРЬТЕ УСПОКОИТЕЛЬ ЦЕПИ № 1


    1. A01NMTTE02
      Обозначения на рисунке
      *1 Глубина

      Измерьте глубину износа успокоителя цепи № 1.

      Максимальная глубина
      1,0 мм (0,0394 дюйма)

      Если глубина превышает максимально допустимую величину, замените успокоитель цепи № 1.

  16. ПРОВЕРЬТЕ УСПОКОИТЕЛЬ ЦЕПИ № 2


    1. A01NITKE02
      Обозначения на рисунке
      *1 Глубина

      Измерьте глубину износа успокоителя цепи № 2.

      Максимальная глубина
      1,0 мм (0,0394 дюйма)

      Если глубина превышает максимально допустимую величину, замените успокоитель цепи № 2.

  17. ПРОВЕРЬТЕ ОСЕВОЙ ЗАЗОР РАСПРЕДВАЛА


    1. Проверьте осевой зазор распредвала цилиндров ряда 1.


      1. Установите распредвал цилиндров ряда 1 (см. стр. Click here).

      2. A01NMGD

        Смещая распредвал вперед и назад, измерьте осевой зазор с помощью индикатора часового типа.

        Номинальный осевой зазор
        0,08 - 0,13 мм (0,00315 - 0,00512 дюйма)
        Максимально допустимый осевой зазор
        0,15 мм (0,00591 дюйма)

        Если осевой зазор превышает максимально допустимую величину, замените корпус распредвала. Если упорная поверхность повреждена, замените распредвал.

    2. Проверьте осевой зазор распредвала цилиндров ряда 2.


      1. Установите распредвал цилиндров ряда 2 (см. стр. Click here).

      2. Смещая распредвал вперед и назад, измерьте осевой зазор с помощью индикатора часового типа.

        Номинальный осевой зазор
        0,08 - 0,13 мм (0,00315 - 0,00512 дюйма)
        Максимально допустимый осевой зазор
        0,15 мм (0,00591 дюйма)

        Если осевой зазор превышает максимально допустимую величину, замените корпус распредвала. Если упорная поверхность повреждена, замените распредвал.

  18. ПРОВЕРЬТЕ МАСЛЯНЫЙ ЗАЗОР РАСПРЕДВАЛА


    1. Очистить крышки подшипников, картер и шейки распредвала.

    2. Установите распредвалы в корпус распредвалов.

    3. A01NN3CE02
      Обозначения на рисунке
      *1 Сминаемый пластмассовый калибр Plastigage

      Поместите на каждую шейку коленчатого вала полоску сминаемого пластичного калибра Plastigage.

    4. Установите крышки подшипников распредвала (см. стр. Click here).

      Note

      Не поворачивайте распредвал.

    5. Снимите крышки подшипников распредвала (см. стр. Click here).

    6. A01NIG4E06
      Обозначения на рисунке
      *1 Сминаемый пластмассовый калибр Plastigage
      *2 Шейка № 1
      *3 Остальные шейки

      Измерьте сминаемый пластичный калибр в наиболее широком месте.

      Номинальный масляный зазор
      Параметр Масляный зазор
      Шейка №1 0,032 - 0,071 мм (0,00126 - 0,00280 дюйма)
      Остальные шейки 0,025 - 0,062 мм (0,000984 - 0,00244 дюйма)
      Максимальный допустимый масляный зазор
      Параметр Масляный зазор
      Шейка №1 0,10 мм (0,00394 дюйма)
      Остальные шейки 0,09 мм (0,00354 дюйма)

      Если масляный зазор превышает максимально допустимую величину, замените распредвал. При необходимости замените корпус распредвала.

    7. Очистить крышки подшипников, картер и шейки распредвала.

    8. Установите распредвалы в корпус распредвалов.

    9. A01NJFTE02
      Обозначения на рисунке
      *1 Сминаемый пластмассовый калибр Plastigage

      Поместите на каждую шейку коленчатого вала полоску сминаемого пластичного калибра Plastigage.

    10. Установите крышки подшипников распредвала (см. стр. Click here).

      Note

      Не поворачивайте распредвал.

    11. Снимите крышки подшипников распредвала (см. стр. Click here).

    12. A01NJ4FE04
      Обозначения на рисунке
      *1 Сминаемый пластмассовый калибр Plastigage
      *2 Шейка № 1
      *3 Остальные шейки

      Измерьте сминаемый пластичный калибр в наиболее широком месте.

      Номинальный масляный зазор
      Параметр Масляный зазор
      Шейка №1 0,032 - 0,071 мм (0,00126 - 0,00280 дюйма)
      Остальные шейки 0,025 - 0,062 мм (0,000984 - 0,00244 дюйма)
      Максимальный допустимый масляный зазор
      Параметр Масляный зазор
      Шейка №1 0,10 мм (0,00394 дюйма)
      Остальные шейки 0,09 мм (0,00354 дюйма)

      Если масляный зазор превышает максимально допустимую величину, замените распредвал. При необходимости замените кожух распредвала в сборе.

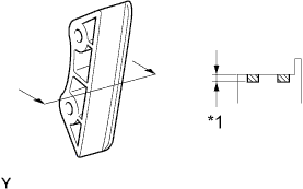
  19. ПРОВЕРЬТЕ ЛЕВЫЙ ВЫПУСКНОЙ КОЛЛЕКТОР В СБОРЕ


    1. A01NMJH

      С помощью прецизионной поверочной линейки и комплекта плоских щупов измерьте коробление поверхности, контактирующей с головкой блока цилиндров.

      Максимально допустимая величина коробления
      0,7 мм (0,0276 дюйма)

      Tech Tips

      Максимально допустимая величина коробления для каждой установочной поверхности составляет 0,3 мм (0,0118 дюйма).

      Если коробление превышает максимально допустимую величину, замените коллектор.

  20. ПРОВЕРЬТЕ ПРАВЫЙ ВЫПУСКНОЙ КОЛЛЕКТОР В СБОРЕ


    1. A01NKDS

      С помощью прецизионной поверочной линейки и комплекта плоских щупов измерьте коробление поверхности, контактирующей с головкой блока цилиндров.

      Максимально допустимая величина коробления
      0,7 мм (0,0276 дюйма)

      Tech Tips

      Максимально допустимая величина коробления для каждой установочной поверхности составляет 0,3 мм (0,0118 дюйма).

      Если коробление превышает максимально допустимую величину, замените коллектор.

  21. ПРОВЕРЬТЕ ВПУСКНОЙ КОЛЛЕКТОР


    1. A01NK2OE06

      Со стороны головки блока цилиндров:


      1. С помощью прецизионной поверочной линейки и комплекта плоских щупов проверьте коробление поверхности, контактирующей с головкой блока цилиндров.

        Максимально допустимая величина коробления
        0,1 мм (0,00394 дюйма)
        Если коробление превышает максимально допустимую величину, замените впускной коллектор.
    2. Со стороны расширительного бачка:


      1. С помощью прецизионной поверочной линейки и комплекта плоских щупов проверьте коробление поверхности, контактирующей с расширительным бачком.

        Максимально допустимая величина коробления
        0,1 мм (0,00394 дюйма)
        Если коробление превышает максимально допустимую величину, замените впускной коллектор.