БЛОК ДВИГАТЕЛЯ РАЗБОРКА


  1. СНИМИТЕ КРЫШКУ МАСЛОНАЛИВНОЙ ГОРЛОВИНЫ В СБОРЕ


    1. Снимите крышку и прокладку крышки маслоналивной горловины в сборе.

  2. СНИМИТЕ СВЕЧУ ЗАЖИГАНИЯ


    1. A01NLZO

      Снимите 6 свечей зажигания.

  3. ВЫКРУТИТЕ ПРОБКУ СЛИВНОГО ОТВЕРСТИЯ МАСЛЯНОГО ПОДДОНА


    1. A01NIEH

      Снимите пробку и прокладку сливного отверстия поддона картера.

  4. СНИМИТЕ САПУН В СБОРЕ


    1. A01NLKS

      Снимите сапун в сборе.

  5. СНИМИТЕ ДАТЧИК ПОЛОЖЕНИЯ РАСПРЕДВАЛА (для ряда 2)


    1. Отсоедините разъем датчика.

    2. A01NK8Q

      Выверните болт и снимите датчик.

  6. СНИМИТЕ ДАТЧИК ПОЛОЖЕНИЯ РАСПРЕДВАЛА (для ряда 1)


    1. Отсоедините разъем датчика.

    2. A01NJ8U

      Выверните болт и снимите датчик.

  7. СНИМИТЕ ГИДРАВЛИЧЕСКИЙ КЛАПАН ИЗМЕНЕНИЯ ФАЗ В СБОРЕ (для ряда 2)


    1. A01NKP1

      Отсоедините разъем гидравлического клапана изменения фаз.

    2. Выверните болт и снимите гидравлический клапан изменения фаз в сборе.

    3. A01NMXPE01
      Обозначения на рисунке
      *1 Кольцевое уплотнение

      Снимите кольцевое уплотнение с гидравлического клапана изменения фаз в сборе.

  8. СНИМИТЕ ГИДРАВЛИЧЕСКИЙ КЛАПАН ИЗМЕНЕНИЯ ФАЗ В СБОРЕ (для ряда 1)


    1. A01NK8B

      Отсоедините разъем гидравлического клапана изменения фаз.

    2. Выверните болт и снимите гидравлический клапан изменения фаз в сборе.

    3. A01NMXPE01
      Обозначения на рисунке
      *1 Кольцевое уплотнение

      Снимите кольцевое уплотнение с гидравлического клапана изменения фаз в сборе.

  9. СНИМИТЕ ДАТЧИК ПОЛОЖЕНИЯ КОЛЕНЧАТОГО ВАЛА


    1. A01NLKU

      Отсоедините разъем датчика положения коленчатого вала.

    2. Выверните болт и снимите датчик положения коленчатого вала.

  10. СНИМИТЕ МАСЛОПРОВОД № 1


    1. A01NJXCE07
      Обозначения на рисунке
      *a Штуцер маслопровода

      Снимите 2 штуцера маслопровода, прокладки и маслопровод №1.

    2. Снимите левый фильтр гидравлического клапана изменения фаз с прокладками.

  11. СНИМИТЕ МАСЛОПРОВОД В СБОРЕ


    1. A01NLAEE10
      Обозначения на рисунке
      *a Штуцер маслопровода
      *b Болт

      Выверните болт.

    2. Снимите 2 штуцера маслопровода, прокладки и маслопровод.

    3. Снимите правый фильтр гидравлического клапана изменения фаз с прокладками.

  12. СНИМИТЕ КОНИЧЕСКУЮ РЕЗЬБОВУЮ ЗАГЛУШКУ

    Tech Tips

    Выполняйте эти действия только при установленной конической резьбовой заглушке.


    1. A01NMZ1

      Снимите коническую резьбовую заглушку с блока цилиндров в сборе.

  13. СНИМИТЕ КРАН ДЛЯ СЛИВА ОХЛАЖДАЮЩЕЙ ЖИДКОСТИ ИЗ БЛОКА ЦИЛИНДРОВ


    1. A01NK7CE04

      для ряда 1:


      1. Снимите кран для слива охлаждающей жидкости с блока цилиндров в сборе.

      2. Снимите пробку с крана для слива охлаждающей жидкости из блока цилиндров.

    2. для ряда 2:

      Tech Tips

      Выполняйте эту операцию только при установленном кране для слива охлаждающей жидкости из блока цилиндров.


      1. Снимите кран для слива охлаждающей жидкости с блока цилиндров в сборе.

      2. Снимите пробку с крана для слива охлаждающей жидкости из блока цилиндров.

  14. СНИМИТЕ ФИЛЬТРУЮЩИЙ ЭЛЕМЕНТ МАСЛЯНОГО ФИЛЬТРА


    1. A01NKID

      Снимите пробку сливного отверстия с крышки масляного фильтра.

      Note

      Не снимайте кольцевое уплотнение с крышки масляного фильтра в сборе.

    2. A01NKLOE08
      Обозначения на рисунке
      *a Патрубок
      *b Шланг
      *c Кольцевое уплотнение

      Присоедините шланг к трубопроводу.

    3. Вставьте трубопровод со шлангом в крышку масляного фильтра в сборе.

    4. Убедитесь, что масло полностью слито, и снимите штуцер и уплотнительное кольцо.

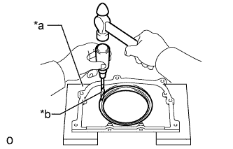
    5. A01NN0PE01

      Используя специальный инструмент, снимите крышку масляного фильтра.

      SST
      09228-06501
    6. A01NJAZE23
      Обозначения на рисунке
      *1 Фильтрующий элемент масляного фильтра
      *a Кольцевое уплотнение

      Снимите с крышки масляного фильтра фильтрующий элемент масляного фильтра и кольцевое уплотнение.

      Note

      Не пользуйтесь никакими инструментами для снятия уплотнительного кольца, чтобы не повредить канавку для уплотнительного кольца.

  15. СНИМИТЕ ШКИВ КОЛЕНЧАТОГО ВАЛА


    1. A01NN4YE02
      Обозначения на рисунке
      *1 Удерживайте
      *2 Поверните

      С помощью SST ослабьте болт шкива коленчатого вала.

      SST
      09213-70011   ( 09213-70020 )
      09330-00021
    2. A01NKBQE03
      Обозначения на рисунке
      *1 Удерживайте
      *2 Поверните

      С помощью SST выверните болт шкива коленчатого вала и снимите шкив коленчатого вала.

      SST
      09950-50013   ( 09951-05010, 09952-05010, 09953-05020, 09954-05021 )
  16. СНИМИТЕ ТРУБКУ ЩУПА ПРОВЕРКИ УРОВНЯ МАСЛА


    1. A01NJ1W

      Выверните болт и снимите трубку щупа проверки уровня масла.

    2. A01NN7Z

      Снимите кольцевое уплотнение.

  17. СНИМИТЕ ЛЕВЫЙ КРОНШТЕЙН ПЕРЕДНЕЙ ОПОРЫ ДВИГАТЕЛЯ № 1


    1. A01NI7U

      Выверните 6 болтов и снимите левый передний кронштейн опоры двигателя № 1.

    2. С помощью торцевого ключа TORX E8 выверните 2 резьбовые шпильки.

  18. СНИМИТЕ КОЖУХ ПРИЕМНИКА ОХЛАЖДАЮЩЕЙ ЖИДКОСТИ


    1. A01NKT1

      Отверните 2 гайки и снимите впускной патрубок охлаждающей жидкости и термостат.

    2. Снимите прокладку.

    3. Выверните 2 резьбовые шпильки.

    4. Отсоедините перепускной шланг охлаждающей жидкости № 1 от кожуха впускного патрубка охлаждающей жидкости.

    5. A01NNCAE02
      Обозначения на рисунке
      *a Болт
      *b Гайка

      Снимите пробку сливного крана.

    6. Снимите сливной кран в сборе с кожуха впускного патрубка охлаждающей жидкости.

    7. Выверните 2 болта, отверните гайку и снимите кожух впускного патрубка охлаждающей жидкости.

    8. A01NIWI

      Снимите 2 кольцевых уплотнения.

  19. СНИМИТЕ ВОДООТВОДЯЩИЙ ПАТРУБОК


    1. A01NJ0EE02
      Обозначения на рисунке
      *A для моделей с системой РОГ
      *B для моделей без системы РОГ
      *a Гайка
      *b Болт

      Выверните 2 болта, отверните 4 гайки и снимите водоотводящий патрубок.

    2. A01NL0H

      Снимите 2 прокладки и уплотнительное кольцо.

  20. СНИМИТЕ КРЫШКУ ГОЛОВКИ БЛОКА ЦИЛИНДРОВ В СБОРЕ


    1. A01NKHV

      Выверните 12 болтов и снимите уплотнительную шайбу, крышку и прокладку головки блока цилиндров.

    2. A01NKU9

      Снимите 3 прокладки.

  21. СНИМИТЕ ЛЕВУЮ КРЫШКУ ГОЛОВКИ БЛОКА ЦИЛИНДРОВ В СБОРЕ


    1. A01NJ5XE04
      Обозначения на рисунке
      *a Отражатель поддона картера

      Выверните 12 болтов и снимите уплотнительную шайбу, крышку и прокладку левой головки блока цилиндров.

      Note

      Отражающая заслонка распложена с обратной стороны детали, показанной на рисунке. Соблюдайте осторожность, чтобы не повредить отражающую заслонку во время снятия крышки левой головки блока цилиндров.

    2. A01NJET

      Снимите 3 прокладки.

  22. СНИМИТЕ ПОДДОН КАРТЕРА № 2 В СБОРЕ


    1. A01NINKE03
      Обозначения на рисунке
      *a Гайка

      Выверните 16 болтов и отверните 2 гайки.

    2. A01NMU8

      Вставьте лезвие инструмента для обрезки прокладки масляного поддона между масляным поддоном и масляным поддоном № 2. Срежьте нанесенный герметик и снимите масляный поддон № 2 в сборе.

      Note

      Соблюдайте осторожность, чтобы не повредить сопрягающиеся поверхности масляного поддона и масляного поддона № 2.

    3. С помощью торцевого ключа TORX E6 выверните 2 резьбовые шпильки.

  23. СНИМИТЕ МАСЛОПРИЕМНИК С СЕТЧАТЫМ ФИЛЬТРОМ В СБОРЕ


    1. A01NK8VE04
      Обозначения на рисунке
      *a Болт
      *b Гайка

      Выверните болт, отверните 2 гайки и снимите маслоприемник с сетчатым фильтром и прокладку.

    2. С помощью торцевого ключа TORX E6 выверните 2 резьбовые шпильки.

  24. СНИМИТЕ МАСЛЯНЫЙ ПОДДОН В СБОРЕ


    1. A01NIIFE05
      Обозначения на рисунке
      *a Гайка

      Выверните 16 болтов и отверните 2 гайки.

      Tech Tips

      Обязательно очистите болты и резьбовые шпильки и проверьте резьбы на наличие трещин и прочих повреждений.

    2. A01NLC7E04
      Обозначения на рисунке
      *a Защитная клейкая лента

      Снимите масляный поддон в сборе, вставив отвертку между ним и блоком цилиндров.

      Note

      Соблюдайте осторожность, чтобы не повредить сопрягающиеся поверхности блока цилиндров и масляного поддона в сборе.

      Tech Tips

      Конец отвертки перед использованием следует изолировать защитной клейкой лентой.

    3. A01NKDV

      Снимите 2 кольцевых уплотнения.

    4. С помощью торцевого ключа TORX E8 выверните 2 резьбовые шпильки.

  25. СНИМИТЕ ОТРАЖАТЕЛЬ МАСЛЯНОГО ПОДДОНА № 1


    1. A01NMRD

      Выверните 7 болтов и снимите отражатель масляного поддона № 1.

  26. СНИМИТЕ СТОПОР ЗАДНЕГО САЛЬНИКА КОЛЕНЧАТОГО ВАЛА


    1. A01NJJH

      Выверните 6 болтов .

    2. A01NLSCE03
      Обозначения на рисунке
      *a Защитная клейкая лента
      A01NI58 Подденьте

      С помощью отвертки извлеките держатель заднего сальника коленчатого вала.

      Note

      Будьте осторожны, чтобы не повредить держатель заднего сальника коленчатого вала.

      Tech Tips

      Конец отвертки перед использованием следует изолировать защитной клейкой лентой.

  27. СНИМИТЕ ЗАДНИЙ САЛЬНИК КОЛЕНЧАТОГО ВАЛА


    1. A01NIONE11
      Обозначения на рисунке
      *a Деревянный брусок
      *b Защитная клейкая лента

      Поместите держатель заднего сальника коленчатого вала на деревянные бруски.

    2. С помощью отвертки и молотка выбейте задний сальник коленчатого вала.

      Note

      Будьте осторожны, чтобы не повредить держатель заднего сальника коленчатого вала.

      Tech Tips

      Конец отвертки перед использованием следует изолировать защитной клейкой лентой.

  28. СНИМИТЕ НАСОС СИСТЕМЫ ОХЛАЖДЕНИЯ В СБОРЕ


    1. A01NLLV

      Выверните 16 болтов, снимите насос системы охлаждения двигателя в сборе и прокладку насоса системы охлаждения.

  29. СНИМИТЕ КРЫШКУ ЦЕПНОГО ПРИВОДА ГАЗОРАСПРЕДЕЛИТЕЛЬНОГО МЕХАНИЗМА В СБОРЕ


    1. A01NJ2HE02
      Обозначения на рисунке
      *a Гайка

      Выверните 15 болтов и отверните 2 гайки, как показано на рисунке.

    2. A01NL0YE04
      Обозначения на рисунке
      *a Защитная клейкая лента

      Снимите крышку цепного привода газораспределительного механизма, вставив отвертку между крышкой цепного привода и головкой блока цилиндров или блоком цилиндров.

      Note

      Соблюдайте осторожность, чтобы не повредить сопрягающиеся поверхности головки блока цилиндров, блока цилиндров и крышки цепного привода газораспределительного механизма.

      Tech Tips

      Конец отвертки перед использованием следует изолировать защитной клейкой лентой.

    3. Выверните 4 болта, снимите крышку и прокладку цепного привода газораспределительного механизма.

    4. A01NL64

      Снимите прокладку.

  30. СНИМИТЕ САЛЬНИК КАРТЕРА ЦЕПНОГО ПРИВОДА ГАЗОРАСПРЕДЕЛИТЕЛЬНОГО МЕХАНИЗМА


    1. A01NN9YE14
      Обозначения на рисунке
      *a Защитная клейкая лента
      *b Деревянный брусок

      С помощью отвертки извлеките сальник картера цепного привода газораспределительного механизма.

      Tech Tips

      Конец отвертки перед использованием следует изолировать защитной клейкой лентой.

  31. УСТАНОВИТЕ ПОРШЕНЬ ЦИЛИНДРА №1 В ВМТ ТАКТА СЖАТИЯ


    1. Временно затяните установочный болт шкива.

    2. A01NN2QE11
      Обозначения на рисунке
      *a Центральная линия
      *b Установочная метка
      *c Пластина датчика

      Поворачивая коленчатый вал по часовой стрелке, совместите установочные метки на зубчатом диске датчика положения коленчатого вала с осевой линией отверстия правого блока (ВМТ такта сжатия).

    3. Убедитесь, что синхронизирующие метки на зубчатых колесах распредвала совмещены с метками на крышке подшипника, как показано на рисунке.

      A01NK0SE04
      Обозначения на рисунке
      *a Установочная метка - -

      Tech Tips

      Для распредвала впускных клапанов:

      Обязательно проверяйте контрольную метку A в точке, где метки B, C и D находятся на одной линии. Правильная проверка меток с любой другой точки обзора невозможна.

      A01NMLGE01

      Если это не удается сделать, проверните коленчатый вал на 1 оборот (360°) и совместите метки, как указано выше.

  32. СНИМИТЕ НАТЯЖИТЕЛЬ ЦЕПИ № 1 В СБОРЕ


    1. A01NNAEE08
      Обозначения на рисунке
      *a Плунжер
      *b Стопорная пластина
      *c Шестигранный ключ

      Отведите стопорную пластину вверх, чтобы освободить фиксатор, и глубоко вдавите плунжер в натяжитель.

    2. Опустите стопорную пластину, чтобы ввести фиксатор в зацепление, и вставьте в отверстие стопорной пластины шестигранный гаечный ключ.

    3. A01NKOO

      Выверните 2 болта и снимите натяжитель цепи № 1 в сборе.

  33. СНИМИТЕ БАШМАК НАТЯЖИТЕЛЯ ЦЕПИ


    1. Снимите башмак натяжителя цепи.

  34. СНИМИТЕ ЦЕПЬ В СБОРЕ


    1. A01NK85E01

      Проверните коленчатый вал на 10° против часовой стрелки, чтобы ослабить цепь на ведущей звездочке коленчатого вала.

    2. Выверните установочный болт шкива.

    3. A01NK9J

      Снимите цепь с ведущей звездочки цепи ГРМ на коленчатом валу и поместите ее на коленчатый вал.

    4. A01NJXPE01

      Проверните зубчатое колесо распредвала в ряду 1 по часовой стрелке (приблизительно на 60°), как показано на рисунке. Не забудьте ослабить цепь между рядами.

    5. Снимите цепь в сборе.

  35. СНИМИТЕ ПРОМЕЖУТОЧНУЮ ЦЕПНУЮ ШЕСТЕРНЮ В СБОРЕ


    1. A01NIIS

      С помощью шестигранного ключа на 10 мм снимите ось промежуточной шестерни № 2, звездочку и ось промежуточной шестерни № 1.

  36. СНИМИТЕ УСПОКОИТЕЛЬ ЦЕПИ № 1


    1. A01NI89

      Выверните 2 болта и снимите успокоитель цепи №1.

  37. СНИМИТЕ УСПОКОИТЕЛЬ ЦЕПИ № 2


    1. Снимите 2 успокоителя цепи № 2.

  38. СНИМИТЕ ВЕДУЩУЮ ЗВЕЗДОЧКУ КОЛЕНЧАТОГО ВАЛА


    1. A01NN3B

      Снимите ведущую звездочку коленчатого вала с коленчатого вала.

    2. Снимите 2 шпонки с коленчатого вала.

  39. СНИМИТЕ ЗУБЧАТЫЕ КОЛЕСА РАСПРЕДВАЛА И ЦЕПЬ № 2 (для ряда 1)


    1. A01NL7IE02
      Обозначения на рисунке
      *1 Плунжер
      *2 Штырь

      Подняв натяжитель цепи № 2, зафиксируйте его, вставив в отверстие штифт диаметром 1,0 мм (0,0394 дюйма).

    2. A01NMVGE01
      Обозначения на рисунке
      *1 Удерживайте
      *2 Поверните

      Удерживая с помощью специального инструмента шестигранный участок каждого распредвала, затяните болты зубчатого колеса и ведущей звездочки распредвала.

      SST
      09922-10010

      Note

      Не ослабляйте другие болты. В случае ослабления любых болтов замените зубчатое колесо распредвала в сборе и/или зубчатое колесо распредвала выпускных клапанов в сборе новым.

    3. Выверните 2 болта и снимите зубчатое колесо распредвала вместе с надетой цепью № 2.

  40. СНИМИТЕ НАТЯЖИТЕЛЬ ЦЕПИ № 2 В СБОРЕ


    1. A01NKM2

      Выверните болт и снимите натяжитель цепи № 2.

  41. СНИМИТЕ КРЫШКУ ПОДШИПНИКА РАСПРЕДВАЛА (для ряда 1)


    1. A01NMDKE02
      Обозначения на рисунке
      *1 Штифт
      *2 Распредвал

      Проверьте, чтобы распредвалы располагались, как показано на рисунке.

    2. A01NLN4E01

      В несколько приемов равномерно ослабьте и выверните 8 болтов крышек подшипников в последовательности, показанной на рисунке.

    3. A01NKXOE01

      В несколько приемов равномерно ослабьте и выверните 12 болтов крышек подшипников в последовательности, показанной на рисунке.

      Note

      Равномерно ослабляйте болты, удерживая распредвал строго горизонтально.

      Tech Tips

      Разложите снятые детали в надлежащем порядке.

    4. Снимите 5 крышек подшипников распредвала.

  42. СНИМИТЕ РАСПРЕДВАЛ


    1. Снимите распредвал.

  43. СНИМИТЕ РАСПРЕДВАЛ № 2


    1. Снимите распредвал № 2.

  44. СНИМИТЕ ПРАВЫЙ КОЖУХ РАСПРЕДВАЛА В СБОРЕ


    1. A01NJKYE02
      Обозначения на рисунке
      *1 Защитная клейкая лента

      Снимите правый кожух распредвала в сборе, вставив отвертку между головкой блока цилиндров и правым кожухом распредвала.

      Note

      Соблюдайте осторожность, чтобы не повредить сопрягающиеся поверхности головки блока цилиндров и правого кожуха распредвала.

      Tech Tips

      Конец отвертки перед использованием следует изолировать защитной клейкой лентой.

  45. СНИМИТЕ ЗУБЧАТЫЕ КОЛЕСА РАСПРЕДВАЛА И ЦЕПЬ № 2 (для ряда 2)


    1. A01NJ9KE03
      Обозначения на рисунке
      *1 Плунжер
      *2 Штырь

      Отжав натяжитель цепи № 3 вниз, зафиксируйте его, вставив в отверстие штифт диаметром 1,0 мм (0,0394 дюйма).

    2. A01NJ18E03
      Обозначения на рисунке
      *1 Удерживайте
      *2 Поверните

      Удерживая с помощью специального инструмента шестигранный участок каждого распредвала, затяните болты зубчатого колеса и ведущей звездочки распредвала.

      SST
      09922-10010

      Note

      Не ослабляйте другие болты. В случае ослабления любых болтов замените зубчатое колесо распредвала в сборе и/или зубчатое колесо распредвала выпускных клапанов в сборе новым.

    3. Выверните 2 болта и снимите зубчатое колесо распредвала вместе с надетой цепью № 2.

  46. СНИМИТЕ НАТЯЖИТЕЛЬ ЦЕПИ № 3 В СБОРЕ


    1. A01NK7I

      Выверните болт и снимите натяжитель цепи № 3.

  47. СНИМИТЕ КРЫШКУ ПОДШИПНИКА РАСПРЕДВАЛА (для ряда 2)


    1. A01NLKVE02
      Обозначения на рисунке
      *1 Штифт
      *2 Распредвал

      Проверьте, чтобы распредвалы располагались, как показано на рисунке.

    2. A01NKZME01

      В несколько приемов равномерно ослабьте и выверните 8 болтов крышек подшипников в последовательности, показанной на рисунке.

    3. A01NKE7E01

      В несколько приемов равномерно ослабьте и выверните 13 болтов крышек подшипников в последовательности, показанной на рисунке.

      Note

      Равномерно ослабляйте болты, удерживая распредвал строго горизонтально.

      Tech Tips

      Разложите снятые детали в надлежащем порядке.

    4. Снимите 5 крышек подшипников распредвала.

  48. СНИМИТЕ РАСПРЕДВАЛ № 3


    1. Снимите распредвал №3 в сборе.

  49. СНИМИТЕ РАСПРЕДВАЛ № 4


    1. Снимите распредвал №4 в сборе.

  50. СНИМИТЕ ЛЕВЫЙ КОЖУХ РАСПРЕДВАЛА В СБОРЕ


    1. A01NNBJE02
      Обозначения на рисунке
      *1 Защитная клейкая лента

      Снимите левый кожух распредвала, вставив отвертку между головкой блока цилиндров и левым кожухом распредвала.

      Note

      Соблюдайте осторожность, чтобы не повредить сопрягающиеся поверхности головки блока цилиндров и левого кожуха распредвала.

      Tech Tips

      Конец отвертки перед использованием следует изолировать защитной клейкой лентой.

  51. СНИМИТЕ РЫЧАГ ПРИВОДА КЛАПАНА № 1 В СБОРЕ


    1. A01NJZOE01
      Обозначения на рисунке
      *A Тип A
      *B Тип B
      *1 Рычаг привода клапана № 1
      *2 Механизм регулировки зазора в приводе клапана в сборе
      *3 Шток клапана
      *4 Колпак штока клапана

      Снимите 24 рычага привода клапана № 1 в сборе.

      Tech Tips

      Разложите снятые детали в надлежащем порядке.

  52. СНИМИТЕ МЕХАНИЗМ РЕГУЛИРОВКИ ЗАЗОРА В ПРИВОДЕ КЛАПАНА В СБОРЕ


    1. Снимите с головки блока цилиндров 24 механизма регулировки зазора в приводе клапана.

      Tech Tips

      Разложите снятые детали в надлежащем порядке.

  53. СНИМИТЕ КОЛПАК ШТОКА КЛАПАНА


    1. Снимите колпаки штоков 24 клапанов.

      Tech Tips

      Разложите снятые детали в надлежащем порядке.

  54. СНИМИТЕ ПРАВУЮ ГОЛОВКУ БЛОКА ЦИЛИНДРОВ В СБОРЕ


    1. A01NM8DE01

      С помощью 12-гранного ключа на 10 мм в несколько приемов равномерно ослабьте 8 болтов крепления головки блока цилиндров в последовательности, показанной на рисунке. Выверните 8 болтов головки блока цилиндров и снимите плоские шайбы.

      Note


      • Соблюдайте осторожность, следя за тем, чтобы шайбы не упали внутрь головки блока цилиндров.

      • Если отворачивать болты в неправильной последовательности, головка блока цилиндров может покоробиться или треснуть.

      Tech Tips

      Разложите снятые детали в надлежащем порядке.

    2. Снимите головку блока цилиндров в сборе.

  55. СНИМИТЕ ПРОКЛАДКУ ПРАВОЙ ГОЛОВКИ БЛОКА ЦИЛИНДРОВ


    1. Снимите прокладку головки блока цилиндров.

  56. СНИМИТЕ ЛЕВУЮ ГОЛОВКУ БЛОКА ЦИЛИНДРОВ В СБОРЕ


    1. A01NLUOE01

      В несколько приемов равномерно ослабьте и выверните 2 болта крепления головки блока цилиндров в последовательности, показанной на рисунке.

    2. A01NINWE01

      С помощью 12-гранного гаечного ключа на 10 мм в несколько приемов равномерно ослабьте 8 болтов в последовательности, показанной на рисунке. Выверните 8 болтов головки блока цилиндров и снимите плоские шайбы.

      Note


      • Соблюдайте осторожность, следя за тем, чтобы шайбы не упали внутрь головки блока цилиндров.

      • Если отворачивать болты в неправильной последовательности, головка блока цилиндров может покоробиться или треснуть.

      Tech Tips

      Кладите отдельно детали, снятые с каждого из установочных узлов.

    3. Снимите левую головку блока цилиндров.

  57. СНИМИТЕ ПРОКЛАДКУ ЛЕВОЙ ГОЛОВКИ БЛОКА ЦИЛИНДРОВ


    1. Снимите прокладку головки блока цилиндров № 2.

  58. СНИМИТЕ ВПУСКНОЙ ПАТРУБОК ОХЛАЖДАЮЩЕЙ ЖИДКОСТИ


    1. Сдвиньте фиксатор и отсоедините перепускной шланг охлаждающей жидкости № 1.

    2. A01NK4VE01
      Обозначения на рисунке
      *A для моделей с системой РОГ
      *B для моделей без системы РОГ

      Выверните 2 болта и снимите впускной патрубок охлаждающей жидкости .