СИСТЕМА ИЗМЕРИТЕЛЬНЫХ ПРИБОРОВ И ИНДИКАТОРОВ Сигнальная цепь датчика частоты вращения

ОПИСАНИЕ

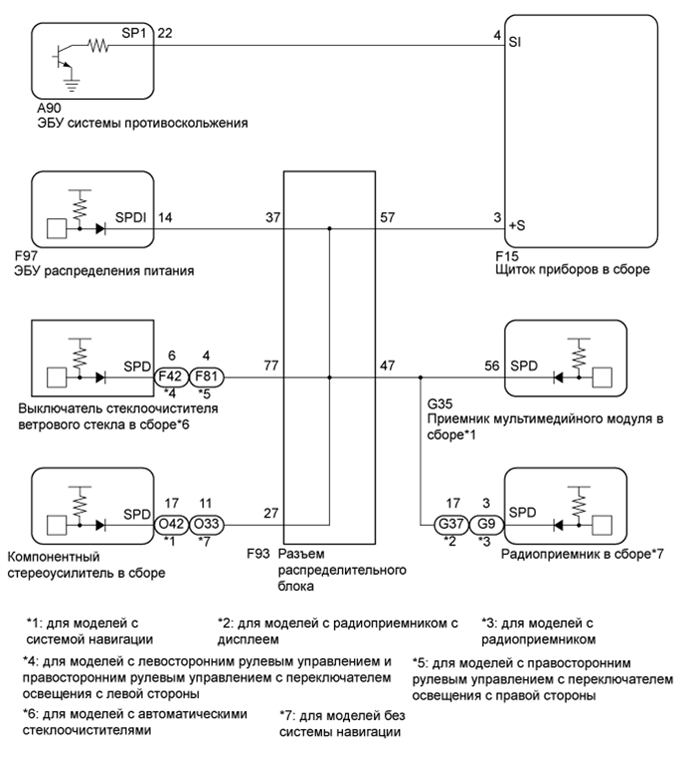
По этой цепи на щиток приборов поступает сигнал скорости автомобиля. Датчики частоты вращения колес формируют напряжение, которое изменяется в зависимости от скорости автомобиля. Выходные сигналы датчиков частоты вращения колес поступают на ЭБУ системы противоскольжения, который использует данную информацию для формирования сигнала датчика скорости автомобиля*1. Сигнал датчика скорости автомобиля состоит из импульсов, передаваемых от ЭБУ системы противоскольжения на щиток приборов. Для формирования данного сигнала напряжение 12 В снимается с контакта IG2, который располагается за резистором в щитке приборов. Этот сигнал подается в ЭБУ системы противоскольжения. Импульсный сигнал формируется в результате переключений транзистора в ЭБУ системы противоскольжения, что приводит к падению напряжения на проводе до 0 В. Аналогичная схема используется для вывода данного сигнала со щитка приборов через контакт +S. Напряжение 12 В или 5 В подается на контакт +S от каждого ЭБУ или реле, подключенного к данному контакту. Работа транзистора в щитке приборов контролируется сигналом, поступающим от ЭБУ системы противоскольжения. Когда транзистор включается, то напряжение, подаваемое на различные ЭБУ (через их соответствующие внутренние резисторы), падает до 0 В. Каждый ЭБУ, подключенный к контакту +S щитка приборов, использует данный импульсный сигнал для управления работой соответствующей системы.


Tech Tips

Эта цепь используется системами, подключенными к контакту +S. Данный сигнал не используется в работе щитка приборов. Такие компоненты щитка приборов, как например, спидометр, работают, используя данные, полученные по каналам связи CAN.

СХЕМА ЭЛЕКТРИЧЕСКИХ СОЕДИНЕНИЙ

A01NLPME05

ПОСЛЕДОВАТЕЛЬНОСТЬ ПРОВЕРКИ

ПОРЯДОК ВЫПОЛНЕНИЯ


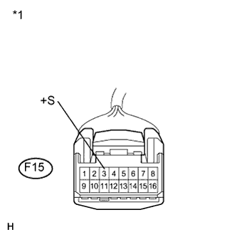
  1. ПРОВЕРЬТЕ НАПРЯЖЕНИЕ НА КОНТАКТЕ ЭБУ (ВХОДНОЕ НАПРЯЖЕНИЕ)


    1. A01NMX7E04
      Обозначения на рисунке
      *1

      Вид спереди разъема со стороны жгута проводов:

      (к щитку приборов в сборе)

      Отсоедините разъем F15 щитка приборов.

    2. Измерьте напряжение в соответствии со значениями, приведенными в таблице.

      Номинальное напряжение
      Контакты для подключения диагностического прибора Условие Заданные условия
      F15-3 (+S) - масса Питание включено (IG) 4,5-14 В

      Tech Tips

      Когда какой-либо из ЭБУ, указанных на электрической схеме, подает питание на щиток приборов, на его выходе формируется сигнал.


    NG
    OK
  2. ПРОВЕРЬТЕ ЩИТОК ПРИБОРОВ В СБОРЕ (ВЫХОДНОЕ НАПРЯЖЕНИЕ)


    1. Подсоедините разъем F15 щитка приборов в сборе.

    2. A01NIW4E02
      Обозначения на рисунке
      *1

      Вид спереди разъема со стороны жгута проводов:

      (к ЭБУ системы противоскольжения)

      Отсоедините разъем A90 ЭБУ системы противоскольжения.

    3. Измерьте напряжение в соответствии со значениями, приведенными в таблице.

      Номинальное напряжение
      Подключение диагностического прибора Условие Заданные условия
      А90-22 (SP1) - масса Питание включено (IG) 11-14 В

    NG
    OK
  3. ПРОВЕРЬТЕ ЭБУ СИСТЕМЫ ПРОТИВОСКОЛЬЖЕНИЯ (ФОРМУ ВХОДНОГО СИГНАЛА)


    1. A01NMMQE09
      Обозначения на рисунке
      *1

      Устройство с подсоединенным жгутом проводов

      (щиток приборов в сборе)

      Проверьте форму входного сигнала.


      1. Подсоедините разъем A90 ЭБУ системы противоскольжения.

      2. Снимите щиток приборов в сборе, не отсоединяя его разъем(ы).

      3. Подключите осциллограф к контакту F15-4 (SI) и массе.

      4. Включите питание (IG).

      5. Медленно поверните колесо.

      6. Проверьте форму сигнала в соответствии с условиями, указанными в таблице ниже.

        Параметр / Устройство Условие
        Настройки прибора 5 В/дел., 20 мс/ дел.
        Состояние автомобиля Движение со скоростью примерно 20 км/час (12 миль в час)
        OK
        Форма сигнала соответствует показанной на рисунке.

        Tech Tips

        Когда система функционирует нормально, за один оборот колеса формируется 4 импульса. По мере увеличения скорости автомобиля период (A), отмеченный на рисунке, уменьшается.


    NG
    OK
  4. ПРОВЕРЬТЕ ЖГУТ ПРОВОДОВ И РАЗЪЕМ (ЩИТОК ПРИБОРОВ – ЭБУ СИСТЕМЫ ПРОТИВОСКОЛЬЖЕНИЯ)


    1. Отсоедините разъемы F15 щитка приборов в сборе и A90 ЭБУ системы противоскольжения.

    2. Измерьте сопротивление в соответствии со значениями, приведенными в таблице ниже.

      Номинальное сопротивление
      Подключение диагностического прибора Условие Заданные условия
      A90-22 (SP1) - F15-4 (SI) Всегда Менее 1 Ом
      А90-22 (SP1) - масса Всегда 10 кОм или более

    NG
    OK
  5. ПРОВЕРЬТЕ ЖГУТ ПРОВОДОВ И РАЗЪЕМ (ЩИТОК ПРИБОРОВ В СБОРЕ – РАЗЪЕМ РАСПРЕДЕЛИТЕЛЬНОГО БЛОКА)


    1. Отсоедините разъем F93 распределительного блока.

    2. Измерьте сопротивление в соответствии со значениями, приведенными в таблице ниже.

      Номинальное сопротивление
      Подключение диагностического прибора Условие Заданные условия
      F15-3 (+S) - F93-57 Всегда Менее 1 Ом
      F15-3 (+S) - масса Всегда 10 кОм или более

    NG
    OK
  6. ПРОВЕРЬТЕ ЖГУТ ПРОВОДОВ И РАЗЪЕМ (РАЗЪЕМ РАСПРЕДЕЛИТЕЛЬНОГО БЛОКА)


    1. Проверьте наличие короткого замыкания в цепи, подключенной к разъему распределительного блока, который показан на схеме соединений.

      Tech Tips

      Если напряжение отсутствует, возможно, в ЭБУ или цепи имеется неисправность. Неисправность в ЭБУ или цепи может быть обнаружена в ходе следующих операций.


      1. A01NJBKE11
        Обозначения на рисунке
        *1

        Вид спереди разъема со стороны жгута проводов:

        (к разъему распределительного блока)

        Отсоедините разъем F93 распределительного блока.

      2. Измерьте напряжение в соответствии со значениями, приведенными в таблице.

        Номинальное напряжение
        Подключение диагностического прибора Условие Заданные условия
        F93-37 - масса Питание включено (IG) 4,5-14 В
        F93-27 - масса Питание включено (IG) 4,5-14 В
        F93-47 - масса Питание включено (IG) 4,5-14 В
        F93-77 - масса Питание включено (IG) 4,5-14 В
        Результат
        Результат Следующий шаг
        Напряжение отсутствует в одной цепи. А
        Напряжение присутствует во всех цепях. B

    B
    А
  7. ПРОВЕРКА СИСТЕМЫ


    1. Выберите цепь, в которой отсутствовало напряжение на шаге 6.

      Результат
      Подключение диагностического прибора Система, использующая цепь Следующий шаг
      F93-37 - масса Система посадки и запуска А
      F93-27 - масса Раздельная усилительная система B
      F93-47 - масса Аудиовизуальная система*1 или система навигации*2 C
      F93-77 - масса Система автоматического стеклоочистителя*3 D

      • *1: для моделей без системы навигации

      • *2: для моделей с системой навигации

      • *3: для моделей с автоматическими стеклоочистителями


    B
    C
    D
    А
  8. ПРОВЕРЬТЕ ЖГУТ ПРОВОДОВ И РАЗЪЕМ (ЦЕПЬ ЭБУ РАСПРЕДЕЛЕНИЯ ПИТАНИЯ)


    1. Отсоедините разъем F97 ЭБУ распределения питания.

    2. Измерьте сопротивление в соответствии со значениями, приведенными в таблице ниже.

      Номинальное сопротивление
      Подключение диагностического прибора Условие Заданные условия
      F97-14 (SPDI) - масса Всегда 10 кОм или более
      Результат
      Результат Следующий шаг
      OK (для моделей с левосторонним рулевым управлением) А
      OK (для моделей с правосторонним рулевым управлением) B
      NG C

    B
    C
    А
  9. ПРОВЕРЬТЕ ЖГУТ ПРОВОДОВ И РАЗЪЕМ (ЦЕПЬ КОМПОНЕНТНОГО СТЕРЕОУСИЛИТЕЛЯ)


    1. Отсоедините разъем O42*1 или O33*2 компонентного стереоусилителя в сборе.

    2. Измерьте сопротивление в соответствии со значениями, приведенными в таблице ниже.

      Номинальное сопротивление
      Подключение диагностического прибора Условие Заданные условия
      O42-17 (SPD)*1 - Масса Всегда 10 кОм или более
      O33-11 (SPD)*2 - масса Всегда 10 кОм или более

      • *1: для моделей с системой навигации

      • *2: для моделей без системы навигации


    NG
    OK
  10. ПРОВЕРЬТЕ ЖГУТ ПРОВОДОВ И РАЗЪЕМ (ЦЕПЬ РАДИОПРИЕМНИКА, ЦЕПЬ ПРИЕМНИКА МУЛЬТИМЕДИЙНОГО МОДУЛЯ)


    1. Отсоедините разъем G35 приемника мультимедийной системы в сборе*1.

    2. Отсоедините разъем G37*2 или G9*3 радиоприемника.

    3. Измерьте сопротивление в соответствии со значениями, приведенными в таблице ниже.

      Номинальное сопротивление
      Подключение диагностического прибора Условие Заданные условия
      G35-56 (SPD)*1 - масса Всегда 10 кОм или более
      G37-17 (SPD)*2 - масса Всегда 10 кОм или более
      G9-3 (SPD)*3 - Масса Всегда 10 кОм или более

      • *1: для моделей с системой навигации

      • *2: для моделей с радиоприемником с дисплеем

      • *3: Для моделей с радиоприемником

      Результат
      Результат Перейти К
      OK (для моделей с системой навигации) А
      OK (для моделей с радиоприемником с дисплеем или с радиоприемником) B
      NG C

    B
    C
    А
  11. ПРОВЕРЬТЕ ЖГУТ ПРОВОДОВ И РАЗЪЕМ (ЦЕПЬ ВЫКЛЮЧАТЕЛЯ СТЕКЛООЧИСТИТЕЛЯ ВЕТРОВОГО СТЕКЛА)


    1. Отсоедините разъем F42*1 или F81*2 выключателя стеклоочистителя ветрового стекла в сборе.

    2. Измерьте сопротивление в соответствии со значениями, приведенными в таблице ниже.

      Номинальное сопротивление
      Контакты для подключения диагностического прибора Условие Заданные условия
      F42-6 (SPD)*1 - масса Всегда 10 кОм или более
      F81-4 (SPD)*2 - Масса Всегда 10 кОм или более

      • *1: для моделей с левосторонним рулевым управлением и правосторонним рулевым управлением с переключателем освещения с левой стороны

      • *2: Для моделей с правосторонним рулевым управлением с переключателем освещения с правой стороны


    NG
    OK