СИСТЕМА ДИСТАНЦИОННОЙ БЛОКИРОВКИ ДВЕРЕЙ Отсутствует обратная связь

ОПИСАНИЕ

В некоторых случаях система дистанционной блокировки дверей функционирует нормально, но функция обратной связи контрольных ламп аварийного состояния и/или зуммера системы дистанционной блокировки дверей не работает. В подобных случаях возможны сбои в передаче сигналов контрольных ламп аварийного состояния и зуммера системы дистанционной блокировки дверей, поступающих от ЭБУ кузова (бортовой ЭБУ сети мультиплексной связи).

СХЕМА СОЕДИНЕНИЙ

A01NLS5E06

ПОСЛЕДОВАТЕЛЬНОСТЬ ПРОВЕРКИ

Note

Поиск неисправностей следует начинать после подтверждения установки настроек функции обратной связи.

ПОРЯДОК ВЫПОЛНЕНИЯ


  1. СНИМИТЕ ПОКАЗАНИЯ ПОРТАТИВНОГО ДИАГНОСТИЧЕСКОГО ПРИБОРА (В РЕЖИМЕ ОБРАТНОЙ СВЯЗИ)


    1. Подсоедините портативный диагностический прибор к DLC3.

    2. Включите зажигание (IG).

    3. Включите портативный диагностический прибор.

    4. Войдите в следующие меню: Body / Main Body / Utility / Customize /

    5. Проверьте состояние в соответствии с таблицей ниже.

      Система дистанционной блокировки дверей
      Параметр, выводимый на дисплей Значение по умолчанию Назначение Установка
      Hazard Answer Back ON (ВКЛ)

      Если заблокировать двери при помощи пульта дистанционного управления, фонари аварийной сигнализации мигнут однократно.

      Если разблокировать двери при помощи пульта дистанционного управления, фонари аварийной сигнализации мигнут дважды.

      ON (ВКЛ) или OFF (ВЫКЛ)
      Wireless Buzzer Resp* ON (ВКЛ) Ответ зуммера системы дистанционной блокировки дверей / ON (ВКЛ) или OFF (ВЫКЛ) ON (ВКЛ) или OFF (ВЫКЛ)

      • *: для моделей с функцией дистанционной обратной связи зуммера

      Результат
      Результат Следующий шаг
      Оба параметра активны. А
      Один из параметров пассивен. B

    B
    А
  2. ПРОВЕРКА ФУНКЦИЙ СИСТЕМЫ ДИСТАНЦИОННОЙ БЛОКИРОВКИ ДВЕРЕЙ


    1. Проверьте работу функции дистанционной блокировки дверей при помощи передатчика электронного ключа.

      Результат
      Результат Следующий шаг
      Дистанционная блокировка/разблокировка дверей работает нормально. А
      Функция блокировки/разблокировки системы дистанционного управления замками дверей не работает должным образом. B

    B
    А
  3. СНИМИТЕ ПОКАЗАНИЯ ПОРТАТИВНОГО ДИАГНОСТИЧЕСКОГО ПРИБОРА (ПОЗИЦИОННЫЙ ПЕРЕКЛЮЧАТЕЛЬ ДВЕРНОГО ЗАМКА)


    1. Подсоедините портативный диагностический прибор к DLC3.

    2. Включите зажигание (IG).

    3. Включите портативный диагностический прибор.

    4. Войдите в следующие меню: Body / Main Body / Data List.

    5. В соответствии с указаниями на дисплее портативного диагностического прибора считайте данные в режиме Data List.

      Main Body (главный ЭБУ кузова (бортовой ЭБУ сети мультиплексной связи))
      Информация на дисплее прибора Измеряемая величина / диапазон измерения Нормальное состояние Замечание по диагностике
      FR Door Lock Pos Сигнал датчика положения замка правой передней двери / LOCK (БЛОКИРОВКА) или UNLOCK (РАЗБЛОКИРОВКА)

      LOCK: Правая передняя дверь заблокирована

      UNLOCK: Правая передняя дверь разблокирована

      -
      FL Door Lock Pos Сигнал датчика положения замка левой передней двери / LOCK (БЛОКИРОВКА) или UNLOCK(РАЗБЛОКИРОВКА)

      LOCK: Левая передняя дверь заблокирована

      UNLOCK: Левая передняя дверь разблокирована

      -
      RR-Door Lock Pos SW Сигнал переключателя положения замка задней правой двери / ON (ВКЛ) или OFF (ВЫКЛ)

      ON (ВКЛ): Правая задняя дверь разблокирована

      OFF (ВЫКЛ): Правая задняя дверь заблокирована

      -
      RL-Door Lock Pos SW Сигнал переключателя положения замка задней левой двери / ON (ВКЛ) или OFF (ВЫКЛ)

      ON (ВКЛ): Левая задняя дверь разблокирована

      OFF (ВЫКЛ): Левая задняя дверь заблокирована

      -
      OK
      Данные на экране портативного диагностического прибора должны изменяться в зависимости от операции блокировки дверей в соответствии со следующей таблицей.
      Результат
      Результат Следующий шаг
      OK А
      NG (для правой передней стороны) B
      NG (для левой передней стороны) C
      NG (для правой задней двери) D
      NG (для левой задней двери) E

    B
    C
    D
    E
    А
  4. ПРОВЕРЬТЕ ФУНКЦИЮ ДИСТАНЦИОННОГО УПРАВЛЕНИЯ В РЕЖИМЕ ОБРАТНОЙ СВЯЗИ


    1. Проверьте работу дистанционного управления в режиме обратной связи с помощью функции дистанционной блокировки дверей.

      Результат
      Результат Следующий шаг
      Отсутствует только сигнал обратной связи от контрольных ламп аварийного состояния. А
      Отсутствует только сигнал обратной связи от зуммера системы дистанционного управления замками дверей. B

    B
    А
  5. ПРОВЕРЬТЕ РАБОТУ КОНТРОЛЬНЫХ ЛАМП АВАРИЙНОГО СОСТОЯНИЯ


    1. Убедитесь, что контрольные лампы аварийного состояния непрерывно мигают при нажатии выключателя контрольных ламп аварийного состояния.

      OK
      Лампы аварийной сигнализации непрерывно мигают.

    NG
    OK
  6. ВЫПОЛНИТЕ ДИАГНОСТИКУ В РЕЖИМЕ ACTIVE TEST С ПОМОЩЬЮ ПОРТАТИВНОГО ДИАГНОСТИЧЕСКОГО ПРИБОРА


    1. Подсоедините портативный диагностический прибор к DLC3.

    2. Включите зажигание (IG).

    3. Включите портативный диагностический прибор.

    4. Войдите в следующие меню: Body / Main Body / Active Test.

    5. В соответствии с указаниями на дисплее портативного диагностического прибора выполните диагностику в режиме Active Test.

      Main Body (главный ЭБУ кузова (бортовой ЭБУ сети мультиплексной связи))
      Информация на дисплее прибора Испытываемое устройство Диапазон регулирования Замечание по диагностике
      Hazard Реле выключателя проблескового режима указателя поворота ON (ВКЛ) / OFF (ВЫКЛ) Контролируйте правильность действия фар и задних блоков фонарей.
      Результат
      Результат Следующий шаг
      Реле проблескового режима указателя поворота не срабатывает. А
      Реле проблескового режима указателей поворота срабатывает. B

    B
    А
  7. ПРОВЕРЬТЕ ЖГУТ ПРОВОДОВ И РАЗЪЕМ (РЕЛЕ ПРОБЛЕСКОВОГО РЕЖИМА УКАЗАТЕЛЯ ПОВОРОТА – ГЛАВНЫЙ ЭБУ КУЗОВА)


    1. Отсоедините разъем F44 реле проблескового режима указателей поворота и разъем F13 главного ЭБУ кузова.

    2. A01NMNUE07
      Обозначения на рисунке
      *1

      Вид спереди разъема со стороны жгута проводов:

      (к выключателю проблескового режима указателя поворота в сборе)

      *2

      Вид спереди разъема со стороны жгута проводов:

      (к главному ЭБУ кузова (бортовому ЭБУ сети мультиплексной связи))

      Измерьте сопротивление в соответствии со значениями, приведенными в таблице ниже.

      Номинальное сопротивление
      Контакты для подключения диагностического прибора Состояние Заданные условия
      F44-8 (HAZ) - F13-3 (HAZ) Всегда Менее 1 Ом
      F44-8 (HAZ) - масса Всегда 10 кОм или более

    NG
    OK
  8. ВЫПОЛНИТЕ ПРОВЕРКУ В РЕЖИМЕ ACTIVE TEST С ПОМОЩЬЮ ПОРТАТИВНОГО ДИАГНОСТИЧЕСКОГО ПРИБОРА (ЗУММЕРА СИСТЕМЫ ДИСТАНЦИОННОЙ БЛОКИРОВКИ ДВЕРЕЙ)


    1. Подсоедините портативный диагностический прибор к DLC3.

    2. Включите зажигание (IG).

    3. Включите портативный диагностический прибор.

    4. Войдите в следующие меню: Body / Main Body / Active Test.

    5. В соответствии с указаниями на дисплее портативного диагностического прибора выполните диагностику в режиме Active Test.

      Main Body (главный ЭБУ кузова (бортовой ЭБУ сети мультиплексной связи))
      Информация на дисплее прибора Испытываемое устройство Диапазон регулирования Замечание по диагностике
      Wireless Buzzer Включение зуммера системы дистанционной блокировки дверей ON (ВКЛ) / OFF (ВЫКЛ) -
      Результат
      Результат Следующий шаг
      Зуммер системы дистанционной блокировки дверей не срабатывает. А
      Зуммер системы дистанционного управления замками дверей срабатывает. B

    B
    А
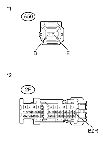
  9. ПРОВЕРЬТЕ ЖГУТ ПРОВОДОВ И РАЗЪЕМ (ЗУММЕР СИСТЕМЫ ДИСТАНЦИОННОГО УПРАВЛЕНИЯ - РАСПРЕДЕЛИТЕЛЬНЫЙ БЛОК ПАНЕЛИ ПРИБОРОВ)


    1. Отсоедините разъем А50 зуммера системы дистанционного управления и разъем 2F распределительного блока панели приборов.

    2. A01NJ8SE03
      Обозначения на рисунке
      *1

      Вид спереди разъема со стороны жгута проводов:

      (к зуммеру системы дистанционного управления замками дверей)

      *2

      Вид спереди разъема со стороны жгута проводов:

      (к распределительному блоку панели приборов в сборе)

      Измерьте сопротивление в соответствии со значениями, приведенными в таблице ниже.

      Номинальное сопротивление
      Контакты для подключения диагностического прибора Состояние Заданные условия
      A50-1 (B) - 2F-25 (BZR) Всегда Менее 1 Ом
      A50-2 (E) - масса Всегда Менее 1 Ом
      A50-1 (B) - масса Всегда 10 кОм или более

    NG
    OK
  10. ПРОВЕРЬТЕ РАСПРЕДЕЛИТЕЛЬНЫЙ БЛОК ПАНЕЛИ ПРИБОРОВ В СБОРЕ


    1. Снимите распределительный блок панели приборов в сборе (см. стр. Click here).

      A01NIULE08
      Обозначения на рисунке
      *1

      Устройство с неподсоединенным жгутом проводов

      (Распределительный блок панели приборов в сборе)

    2. Измерьте сопротивление в соответствии со значениями, приведенными в таблице ниже.

      Номинальное сопротивление
      Контакты для подключения диагностического прибора Состояние Заданные условия
      2F-25 (BZR) - 7A-21 (BZR) Всегда Менее 1 Ом

    NG
    OK
  11. ЗАМЕНИТЕ ЗУММЕР СИСТЕМЫ ДИСТАНЦИОННОГО УПРАВЛЕНИЯ ЗАМКАМИ ДВЕРЕЙ


    1. Временно замените зуммер системы дистанционной блокировки дверей новым (см. стр. Click here).


    ДАЛЕЕ
  12. ПРОВЕРЬТЕ РАБОТУ ЗУММЕРА СИСТЕМЫ ДИСТАНЦИОННОГО УПРАВЛЕНИЯ ЗАМКАМИ ДВЕРЕЙ


    1. Проверьте работу функции дистанционной обратной связи.

      OK
      Функция дистанционной обратной связи работает нормально.

    NG
    OK
  13. ЗАМЕНИТЕ ГЛАВНЫЙ ЭБУ КУЗОВА (БОРТОВОЙ ЭБУ СЕТИ МУЛЬТИПЛЕКСНОЙ СВЯЗИ)


    1. Временно замените главный ЭБУ кузова (бортовой ЭБУ сети мультиплексной связи) на новый (см. стр. Click here).


    ДАЛЕЕ
  14. ПРОВЕРЬТЕ РАБОТУ ЗУММЕРА СИСТЕМЫ ДИСТАНЦИОННОГО УПРАВЛЕНИЯ ЗАМКАМИ ДВЕРЕЙ


    1. Проверьте работу функции дистанционного управления.

      OK
      Функция дистанционного управления работает нормально.

    NG
    OK