СИСТЕМА ПЕРЕДАЧИ ДАННЫХ CAN Проверьте шину CAN на короткое замыкание на GND (для моделей с правосторонним рулевым управлением)

ОПИСАНИЕ

Между главной шиной CAN и GND может быть короткое замыкание, если между контактами 6 (CANH) и 4 (CG) или контактами 14 (CANL) и 4 (CG) разъема DLC3 нет сопротивления.

Признак Неисправный участок
Между контактами 6 (CANH) и 4 (CG) или контактами 14 (CANL) и 4 (CG) разъема DLC3 нет сопротивления.
  • Короткое замыкание на GND в главной шине CAN

  • Короткое замыкание на GND во вспомогательной шине CAN

  • ECM

  • ЭБУ сертификации (ЭБУ электронного ключа зажигания)

  • Щиток приборов

  • ЭБУ рулевого управления с усилителем

  • Центральный датчик системы SRS в сборе

  • ЭБУ системы противоскольжения

  • Датчик угла поворота рулевого колеса

  • Датчик рысканья

  • Главный ЭБУ кузова (бортовой ЭБУ сети мультиплексной связи)

  • ЭБУ распределения питания

  • Приемник мультимедийного модуля в сборе

  • Разъем распределительного блока шины CAN № 1

  • Разъем распределительного блока шины CAN № 2

*1: для моделей с системой навигации

СХЕМА ЭЛЕКТРИЧЕСКИХ СОЕДИНЕНИЙ

A01NI38E02
A01NKMDE02

ПОСЛЕДОВАТЕЛЬНОСТЬ ПРОВЕРКИ

Note


  • Выключите питание перед измерением сопротивления между главными и вспомогательными шинами CAN.

  • Выключите питание перед проверкой короткого замыкания шины CAN на массу.

  • После выключения питания убедитесь, что система оповещения о ключе, оставленном в замке зажигания, и система оповещения о невыключенном освещении не активированы.

  • Перед измерением сопротивления оставьте автомобиль на 1 минуту "как он есть", не трогая выключатель питания, другие переключатели и двери. Если необходимо открыть какую-либо дверь для проверки разъемов, откройте двери и не закрывайте их.

Tech Tips


  • Управление выключателем питания, какими-либо выключателями или дверями приводит к обмену данными между ЭБУ и датчиками по шине CAN. При осуществлении обмена данными сопротивление изменяется.

  • Если DTC регистрируется при непродолжительном движении на автомобиле даже после удаления кодов DTC, неисправность может возникать вследствие вибрации автомобиля. В подобных случаях необходимо пошевелить разъемы ЭБУ или жгутов проводов во время проверки, чтобы установить причину неисправности.

ПОРЯДОК ВЫПОЛНЕНИЯ


  1. ПРОВЕРЬТЕ ШИНУ CAN НА КОРОТКОЕ ЗАМЫКАНИЕ НА GND (РАЗЪЕМ РАСПРЕДЕЛИТЕЛЬНОГО БЛОКА ШИНЫ CAN № 1 - РАЗЪЕМ РАСПРЕДЕЛИТЕЛЬНОГО БЛОКА ШИНЫ CAN № 2)


    1. Выключите питание.

    2. A01NIZEE62

      Отсоедините разъем распределительного блока шины CAN № 1.

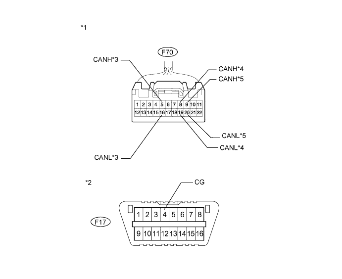
    3. A01NLIJE02
      Обозначения на рисунке
      *1

      Вид спереди разъема со стороны жгута проводов:

      (к разъему распределительного блока шины CAN № 1)

      *2 К разъему распределительного блока шины CAN № 2
      *3 DLC3

      Измерьте сопротивление в соответствии со значениями, приведенными в таблице ниже.

      Номинальное сопротивление
      Подключение диагностического прибора Положение переключателя Заданные условия
      F17-6 (CANH) - F17-4 (CG) Питание выключено 200 Ом или более
      F17-14 (CANL) - F17-4 (CG) Питание выключено 200 Ом или более

    NG
    OK
  2. ПРОВЕРЬТЕ ШИНУ CAN НА КОРОТКОЕ ЗАМЫКАНИЕ НА GND (РАЗЪЕМ РАСПРЕДЕЛИТЕЛЬНОГО БЛОКА ШИНЫ CAN № 1)


    1. Измерьте сопротивление в соответствии со значениями, приведенными в таблице ниже.

      A01NNEGE78
      Номинальное сопротивление
      Подключение диагностического прибора Условия Номинальное сопротивление Куда подсоединить
      F70-5 (CANH) - F17-4 (CG) Питание выключено 200 Ом или более Главный ЭБУ кузова
      F70-16 (CANL) - F17-4 (CG) Питание выключено 200 Ом или более
      F70-8 (CANH) - F17-4 (CG) Питание выключено 200 Ом или более Приемник мультимедийного модуля*1
      F70-19 (CANL) - F17-4 (CG) Питание выключено 200 Ом или более
      F70-9 (CANH) - F17-4 (CG) Питание выключено 200 Ом или более ЭБУ распределения питания
      F70-20 (CANL) - F17-4 (CG) Питание выключено 200 Ом или более

      *1: для моделей с системой навигации

      Обозначения на рисунке
      *1

      Вид спереди разъема со стороны жгута проводов:

      (к разъему распределительного блока шины CAN № 1)

      *2 DLC3
      *3 К главному ЭБУ кузова *4 к приемнику мультимедийного модуля в сборе*1
      *5 к ЭБУ распределения питания - -

      *1: для моделей с системой навигации

      Результат
      Результат Перейти к
      OK А
      NG (вспомогательная шина CAN со стороны главного ЭБУ кузова) B
      NG (вспомогательная шина приемника мультимедийного модуля)*1 C
      NG (главная шина ЭБУ распределения питания) D

      *1: для моделей с системой навигации


    B
    C
    D
    А
  3. ПРОВЕРЬТЕ ШИНУ CAN НА КОРОТКОЕ ЗАМЫКАНИЕ НА GND (РАЗЪЕМ РАСПРЕДЕЛИТЕЛЬНОГО БЛОКА ШИНЫ CAN № 1)


    1. Измерьте сопротивление в соответствии со значениями, приведенными в таблице ниже.

      A01NNEGE79
      Номинальное сопротивление
      Подключение диагностического прибора Условия Номинальное сопротивление Куда подсоединить
      F70-10 (CANH) - F17-4 (CG) Питание выключено 200 Ом или более Центральный блок управления системы SRS
      F70-21 (CANL) - F17-4 (CG) Питание выключено 200 Ом или более
      F70-11 (CANH) - F17-4 (CG) Питание выключено 200 Ом или более Датчик рысканья
      F70-22 (CANL) - F17-4 (CG) Питание выключено 200 Ом или более
      Обозначения на рисунке
      *1

      Вид спереди разъема со стороны жгута проводов:

      (к разъему распределительного блока шины CAN № 1)

      *2 DLC3
      *3 К центральному блоку управления системы SRS *4 К датчику рысканья
      Результат
      Результат Перейти к
      OK А
      NG (вспомогательная шина центрального блока управления системы SRS) B
      NG (вспомогательная шина датчика рысканья) C

    B
    C
    А
  4. ПРОВЕРЬТЕ ШИНУ CAN НА КОРОТКОЕ ЗАМЫКАНИЕ НА GND (РАЗЪЕМ РАСПРЕДЕЛИТЕЛЬНОГО БЛОКА ШИНЫ CAN № 2 – РАЗЪЕМ РАСПРЕДЕЛИТЕЛЬНОГО БЛОКА ШИНЫ CAN № 1)


    1. A01NIZEE74

      Отсоедините разъем распределительного блока шины CAN № 2.

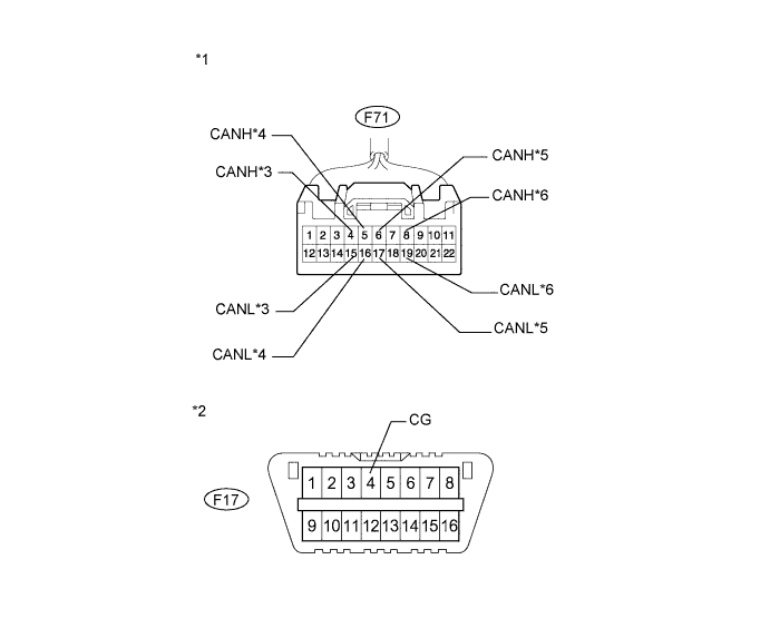
    2. A01NLIJE02
      Обозначения на рисунке
      *1

      Вид спереди разъема со стороны жгута проводов:

      (к разъему распределительного блока шины CAN № 2)

      *2 К разъему распределительного блока шины CAN № 1
      *3 DLC3

      Измерьте сопротивление в соответствии со значениями, приведенными в таблице ниже.

      Номинальное сопротивление
      Подключение диагностического прибора Положение переключателя Заданные условия
      F17-6 (CANH) - F17-4 (CG) Питание выключено 200 Ом или более
      F17-14 (CANL) - F17-4 (CG) Питание выключено 200 Ом или более

    NG
    OK
  5. ПРОВЕРЬТЕ ШИНУ CAN НА КОРОТКОЕ ЗАМЫКАНИЕ НА GND (РАЗЪЕМ РАСПРЕДЕЛИТЕЛЬНОГО БЛОКА ШИНЫ CAN № 2)


    1. Измерьте сопротивление в соответствии со значениями, приведенными в таблице ниже.

      A01NNEGE99
      Номинальное сопротивление
      Подключение диагностического прибора Условия Номинальное сопротивление Куда подсоединить
      F71-1 (CANH) - F17-4 (CG) Питание выключено 200 Ом или более ЭБУ системы противоскольжения
      F71-12 (CANL) - F17-4 (CG) Питание выключено 200 Ом или более
      F71-2 (CANH) - F17-4 (CG) Питание выключено 200 Ом или более ЭБУ сертификации
      F71-13 (CANL) - F17-4 (CG) Питание выключено 200 Ом или более
      F71-3 (CANH) - F17-4 (CG) Питание выключено 200 Ом или более DLC3
      F71-14 (CANL) - F17-4 (CG) Питание выключено 200 Ом или более
      Обозначения на рисунке
      *1

      Вид спереди разъема со стороны жгута проводов:

      (к разъему распределительного блока шины CAN № 2)

      *2 DLC3
      *3 К ЭБУ системы противоскольжения *4 К ЭБУ сертификации
      *5 К DLC3 - -
      Результат
      Результат Перейти к
      OK А
      NG (вспомогательная шина ЭБУ системы противоскольжения) B
      NG (вспомогательная шина ЭБУ сертификации) C
      NG (вспомогательная шина DLC3) D

    B
    C
    D
    А
  6. ПРОВЕРЬТЕ ШИНУ CAN НА КОРОТКОЕ ЗАМЫКАНИЕ НА GND (РАЗЪЕМ РАСПРЕДЕЛИТЕЛЬНОГО БЛОКА ШИНЫ CAN № 2)


    1. Измерьте сопротивление в соответствии со значениями, приведенными в таблице ниже.

      A01NNEGE80
      Номинальное сопротивление
      Подключение диагностического прибора Условия Номинальное сопротивление Куда подсоединить
      F71-4 (CANH) - F17-4 (CG) Питание выключено 200 Ом или более Щиток приборов
      F71-15 (CANL) - F17-4 (CG) Питание выключено 200 Ом или более
      F71-5 (CANH) - F17-4 (CG) Питание выключено 200 Ом или более Датчик угла поворота рулевого колеса
      F71-16 (CANL) - F17-4 (CG) Питание выключено 200 Ом или более
      F71-6 (CANH) - F17-4 (CG) Питание выключено 200 Ом или более ЭБУ рулевого управления с усилителем
      F71-17 (CANL) - F17-4 (CG) Питание выключено 200 Ом или более
      F71-8 (CANH) - F17-4 (CG) Питание выключено 200 Ом или более ECM
      F71-19 (CANL) - F17-4 (CG) Питание выключено 200 Ом или более
      Обозначения на рисунке
      *1

      Вид спереди разъема со стороны жгута проводов:

      (к разъему распределительного блока шины CAN № 2)

      *2 DLC3
      *3 К щитку приборов *4 К датчику угла поворота рулевого колеса
      *5 К ЭБУ рулевого управления с усилителем *6 К ECM
      Результат
      Результат Перейти к
      OK А
      NG (вспомогательная шина щитка приборов) B
      NG (вспомогательная шина датчика угла поворота рулевого колеса) C
      NG (вспомогательная шина ЭБУ рулевого управления с усилителем) D
      NG (главная шина ECM) E

    B
    C
    D
    E
    А
  7. ПРОВЕРЬТЕ ШИНУ CAN НА КОРОТКОЕ ЗАМЫКАНИЕ НА GND (РАЗЪЕМ РАСПРЕДЕЛИТЕЛЬНОГО БЛОКА ШИНЫ CAN № 1 - ГЛАВНЫЙ ЭБУ КУЗОВА)


    1. A01NNCIE01

      Отсоедините разъем главного ЭБУ кузова.

    2. A01NLRJE70
      Обозначения на рисунке
      *1

      Вид спереди разъема со стороны жгута проводов:

      (к главному ЭБУ кузова)

      *2

      Вид спереди разъема со стороны жгута проводов:

      (к разъему распределительного блока шины CAN № 1)

      *3 DLC3
      *4 К главному ЭБУ кузова

      Измерьте сопротивление в соответствии со значениями, приведенными в таблице ниже.

      Номинальное сопротивление
      Подключение диагностического прибора Положение переключателя Заданные условия
      F70-5 (CANH) - F17-4 (CG) Питание выключено 200 Ом или более
      F70-16 (CANL) - F17-4 (CG) Питание выключено 200 Ом или более

    NG
    OK
  8. ПРОВЕРЬТЕ ШИНУ CAN НА КОРОТКОЕ ЗАМЫКАНИЕ НА GND (РАЗЪЕМ РАСПРЕДЕЛИТЕЛЬНОГО БЛОКА ШИНЫ CAN № 1 - ЭБУ РАСПРЕДЕЛЕНИЯ ПИТАНИЯ)


    1. A01NKJHE01

      Отсоедините разъем ЭБУ распределения питания.

    2. A01NLRJE72
      Обозначения на рисунке
      *1

      Вид сзади разъема со стороны жгута проводов

      (к ЭБУ распределения питания)

      *2

      Вид спереди разъема со стороны жгута проводов:

      (к разъему распределительного блока шины CAN № 1)

      *3 DLC3
      *4 К ЭБУ распределения питания

      Измерьте сопротивление в соответствии со значениями, приведенными в таблице ниже.

      Номинальное сопротивление
      Подключение диагностического прибора Положение переключателя Заданные условия
      F70-9 (CANH) - F17-4 (CG) Питание выключено 200 Ом или более
      F70-20 (CANL) - F17-4 (CG) Питание выключено 200 Ом или более

    NG
    OK
  9. ПРОВЕРЬТЕ ШИНУ CAN НА КОРОТКОЕ ЗАМЫКАНИЕ НА GND (РАЗЪЕМ РАСПРЕДЕЛИТЕЛЬНОГО БЛОКА ШИНЫ CAN № 1 – ПРИЕМНИК МУЛЬТИМЕДИЙНОГО МОДУЛЯ В СБОРЕ)


    1. A01NI8YE16

      Отсоедините разъем приемника мультимедийного модуля в сборе.

    2. A01NLRJE94
      Обозначения на рисунке
      *1

      Вид спереди разъема со стороны жгута проводов:

      (к приемнику мультимедийного модуля в сборе)

      *2

      Вид спереди разъема со стороны жгута проводов:

      (к разъему распределительного блока шины CAN № 1)

      *3 DLC3
      *4 К приемнику мультимедийного модуля в сборе

      Измерьте сопротивление в соответствии со значениями, приведенными в таблице ниже.

      Номинальное сопротивление
      Подключение диагностического прибора Положение переключателя Заданные условия
      F70-8 (CANH) - F17-4 (CG) Питание выключено 200 Ом или более
      F70-19 (CANL) - F17-4 (CG) Питание выключено 200 Ом или более

    NG
    OK
  10. ПРОВЕРЬТЕ ШИНУ CAN НА КОРОТКОЕ ЗАМЫКАНИЕ НА GND (РАЗЪЕМ РАСПРЕДЕЛИТЕЛЬНОГО БЛОКА ШИНЫ CAN № 1 - ЦЕНТРАЛЬНЫЙ БЛОК УПРАВЛЕНИЯ СИСТЕМЫ SRS)


    1. A01NJEQE11

      Отсоедините разъем центрального блока управления системы SRS.

    2. A01NLRJE73
      Обозначения на рисунке
      *1

      Вид спереди разъема со стороны жгута проводов:

      (к центральному блоку управления системы SRS)

      *2

      Вид спереди разъема со стороны жгута проводов:

      (к разъему распределительного блока шины CAN № 1)

      *3 DLC3
      *4 К центральному блоку управления системы SRS

      Измерьте сопротивление в соответствии со значениями, приведенными в таблице ниже.

      Номинальное сопротивление
      Подключение диагностического прибора Положение переключателя Заданные условия
      F70-10 (CANH) - F17-4 (CG) Питание выключено 200 Ом или более
      F70-21 (CANL) - F17-4 (CG) Питание выключено 200 Ом или более

    NG
    OK
  11. ПРОВЕРЬТЕ ШИНУ CAN НА КОРОТКОЕ ЗАМЫКАНИЕ НА GND (РАЗЪЕМ РАСПРЕДЕЛИТЕЛЬНОГО БЛОКА ШИНЫ CAN № 1 - ДАТЧИК РЫСКАНЬЯ)


    1. A01NKYUE11

      Отсоедините разъем датчика рысканья.

    2. A01NLRJE74
      Обозначения на рисунке
      *1

      Вид спереди разъема со стороны жгута проводов:

      (к датчику рысканья)

      *2

      Вид спереди разъема со стороны жгута проводов:

      (к разъему распределительного блока шины CAN № 1)

      *3 DLC3
      *4 К датчику рысканья

      Измерьте сопротивление в соответствии со значениями, приведенными в таблице ниже.

      Номинальное сопротивление
      Подключение диагностического прибора Положение переключателя Заданные условия
      F70-11 (CANH) - F17-4 (CG) Питание выключено 200 Ом или более
      F70-22 (CANL) - F17-4 (CG) Питание выключено 200 Ом или более

    NG
    OK
  12. ПРОВЕРЬТЕ ШИНУ CAN НА КОРОТКОЕ ЗАМЫКАНИЕ НА GND (РАЗЪЕМ РАСПРЕДЕЛИТЕЛЬНОГО БЛОКА ШИНЫ CAN № 2 - ЭБУ СИСТЕМЫ ПРОТИВОСКОЛЬЖЕНИЯ)


    1. A01NJECE09

      Отсоедините разъем ЭБУ системы противоскольжения.

    2. A01NLRJE75
      Обозначения на рисунке
      *1

      Вид спереди разъема со стороны жгута проводов:

      (к ЭБУ системы противоскольжения)

      *2

      Вид спереди разъема со стороны жгута проводов:

      (к разъему распределительного блока шины CAN № 2)

      *3 DLC3
      *4 К ЭБУ системы противоскольжения

      Измерьте сопротивление в соответствии со значениями, приведенными в таблице ниже.

      Номинальное сопротивление
      Подключение диагностического прибора Положение переключателя Заданные условия
      F71-1 (CANH) - F17-4 (CG) Питание выключено 200 Ом или более
      F71-12 (CANL) - F17-4 (CG) Питание выключено 200 Ом или более

    NG
    OK
  13. ПРОВЕРЬТЕ ШИНУ CAN НА КОРОТКОЕ ЗАМЫКАНИЕ НА GND (РАЗЪЕМ РАСПРЕДЕЛИТЕЛЬНОГО БЛОКА ШИНЫ CAN № 2 - ЭБУ СЕРТИФИКАЦИИ)


    1. A01NJPAE06

      Отсоедините разъем ЭБУ сертификации.

    2. A01NLRJE76
      Обозначения на рисунке
      *1

      Вид спереди разъема со стороны жгута проводов:

      (к ЭБУ сертификации)

      *2

      Вид спереди разъема со стороны жгута проводов:

      (к разъему распределительного блока шины CAN № 2)

      *3 DLC3
      *4 К ЭБУ сертификации

      Измерьте сопротивление в соответствии со значениями, приведенными в таблице ниже.

      Номинальное сопротивление
      Подключение диагностического прибора Положение переключателя Заданные условия
      F71-2 (CANH) - F17-4 (CG) Питание выключено 200 Ом или более
      F71-13 (CANL) - F17-4 (CG) Питание выключено 200 Ом или более

    NG
    OK
  14. ПРОВЕРЬТЕ ШИНЫ CAN НА КОРОТКОЕ ЗАМЫКАНИЕ НА GND (РАЗЪЕМ РАСПРЕДЕЛИТЕЛЬНОГО БЛОКА ШИНЫ CAN № 2 - ЩИТОК ПРИБОРОВ)


    1. A01NISRE03

      Отсоедините разъем щитка приборов.

    2. A01NLRJE95
      Обозначения на рисунке
      *1

      Вид спереди разъема со стороны жгута проводов:

      (к щитку приборов)

      *2

      Вид спереди разъема со стороны жгута проводов:

      (к разъему распределительного блока шины CAN № 2)

      *3 DLC3
      *4 К щитку приборов

      Измерьте сопротивление в соответствии со значениями, приведенными в таблице ниже.

      Номинальное сопротивление
      Подключение диагностического прибора Положение переключателя Заданные условия
      F71-4 (CANH) - F17-4 (CG) Питание выключено 200 Ом или более
      F71-15 (CANL) - F17-4 (CG) Питание выключено 200 Ом или более

    NG
    OK
  15. ПРОВЕРЬТЕ ШИНУ CAN НА КОРОТКОЕ ЗАМЫКАНИЕ НА GND (РАЗЪЕМ РАСПРЕДЕЛИТЕЛЬНОГО БЛОКА ШИНЫ CAN № 2 - ДАТЧИК УГЛА ПОВОРОТА РУЛЕВОГО КОЛЕСА)


    1. A01NJLYE27

      Отсоедините разъем датчика угла поворота рулевого колеса.

    2. A01NLRJE96
      Обозначения на рисунке
      *1

      Вид спереди разъема со стороны жгута проводов:

      (к датчику угла поворота рулевого колеса)

      *2

      Вид спереди разъема со стороны жгута проводов:

      (к разъему распределительного блока шины CAN № 2)

      *3 DLC3
      *4 К датчику угла поворота рулевого колеса

      Измерьте сопротивление в соответствии со значениями, приведенными в таблице ниже.

      Номинальное сопротивление
      Подключение диагностического прибора Положение переключателя Заданные условия
      F71-5 (CANH) - F17-4 (CG) Питание выключено 200 Ом или более
      F71-16 (CANL) - F17-4 (CG) Питание выключено 200 Ом или более

    NG
    OK
  16. ПРОВЕРЬТЕ ШИНУ CAN НА КОРОТКОЕ ЗАМЫКАНИЕ НА GND (РАЗЪЕМ РАСПРЕДЕЛИТЕЛЬНОГО БЛОКА ШИНЫ CAN № 2 - ЭБУ РУЛЕВОГО УПРАВЛЕНИЯ С УСИЛИТЕЛЕМ)


    1. A01NMPDE15

      Отсоедините разъем ЭБУ рулевого управления с усилителем.

    2. A01NLRJE97
      Обозначения на рисунке
      *1

      Вид спереди разъема со стороны жгута проводов:

      (к ЭБУ рулевого управления с усилителем)

      *2

      Вид спереди разъема со стороны жгута проводов:

      (к разъему распределительного блока шины CAN № 2)

      *3 DLC3
      *4 К ЭБУ рулевого управления с усилителем

      Измерьте сопротивление в соответствии со значениями, приведенными в таблице ниже.

      Номинальное сопротивление
      Подключение диагностического прибора Положение переключателя Заданные условия
      F71-6 (CANH) - F17-4 (CG) Питание выключено 200 Ом или более
      F71-17 (CANL) - F17-4 (CG) Питание выключено 200 Ом или более

    NG
    OK
  17. ПРОВЕРЬТЕ ШИНУ CAN НА КОРОТКОЕ ЗАМЫКАНИЕ НА GND (РАЗЪЕМ РАСПРЕДЕЛИТЕЛЬНОГО БЛОКА ШИНЫ CAN № 2 - ECM)


    1. A01NM3YE07

      Отсоедините разъем ЭБУ.

    2. A01NJAKE01
      Обозначения на рисунке
      *1

      Вид спереди разъема со стороны жгута проводов:

      (к ECM)

      *2

      Вид спереди разъема со стороны жгута проводов:

      (к разъему распределительного блока шины CAN № 2)

      *3 DLC3
      *4 К ECM

      Измерьте сопротивление в соответствии со значениями, приведенными в таблице ниже.

      Номинальное сопротивление
      Подключение диагностического прибора Положение переключателя Заданные условия
      F71-8 (CANH) - F17-4 (CG) Питание выключено 200 Ом или более
      F71-19 (CANL) - F17-4 (CG) Питание выключено 200 Ом или более

    NG
    OK