СИСТЕМА ПЕРЕДАЧИ ДАННЫХ CAN, Diagnostic DTC:U0209

Код DTC Наименование DTC
U0209 Нарушение связи с блоком управления сиденья "В"

ОПИСАНИЕ

№ DTC Условие обнаружения DTC Неисправный участок
U0209
  • Нарушение связи с переключателем электропривода правого переднего сиденья продолжается (для моделей с левосторонним рулевым управлением).

  • Нарушение связи с переключателем электропривода левого переднего сиденья продолжается (для моделей с правосторонним рулевым управлением).


  • Вспомогательная шина или разъем переключателя электропривода правого переднего сиденья (для моделей с левосторонним рулевым управлением)

  • Цепь питания переключателя электропривода правого переднего сиденья (для моделей с левосторонним рулевым управлением)

  • Переключатель электропривода правого переднего сиденья (для моделей с левосторонним рулевым управлением)

  • Вспомогательная шина или разъем переключателя электропривода левого переднего сиденья (для моделей с правосторонним рулевым управлением)

  • Цепь питания переключателя электропривода левого переднего сиденья (для моделей с правосторонним рулевым управлением)

  • Переключатель электропривода левого переднего сиденья (для моделей с правосторонним рулевым управлением)

СХЕМА СОЕДИНЕНИЙ

A01NN88E03
A01NN8YE03

ПОСЛЕДОВАТЕЛЬНОСТЬ ПРОВЕРКИ

Note


  • Выключите зажигание перед измерением сопротивления между главными и вспомогательными шинами CAN.

  • Выключите зажигание перед проверкой короткого замыкания шины CAN на массу.

  • После выключения зажигания убедитесь, что система оповещения о ключе, оставленном в замке зажигания, и система оповещения о невыключенном освещении не активированы.

  • Перед измерением сопротивления оставьте автомобиль на 1 минуту "как он есть", не трогая выключатель зажигания, другие переключатели и двери. Если необходимо открыть какую-либо дверь для проверки разъемов, откройте двери и не закрывайте их.

Tech Tips


  • Управление выключателем зажигания, какими-либо выключателями или дверями приводит к обмену данными между ЭБУ и датчиками по шине CAN. При осуществлении обмена данными сопротивление изменяется.

  • Если DTC регистрируется при непродолжительном движении на автомобиле даже после удаления кодов DTC, неисправность может возникать вследствие вибрации автомобиля. В подобных случаях необходимо пошевелить разъемы ЭБУ или жгутов проводов во время проверки, чтобы установить причину неисправности.

ПОРЯДОК ВЫПОЛНЕНИЯ


  1. СНОВА ПРОВЕРЬТЕ ВЫВОДИМЫЕ DTC


    1. Снова проверьте диагностические коды неисправности DTC.

      Tech Tips

      Если главный ЭБУ кузова выводит диагностический код неисправности DTC U1002 шины CAN MS (см. дисплей портативного диагностического прибора/Main Body), устраните неисправность U1002 и проверьте, нет ли неисправности в цепи главной шины CAN MS.

      Результат
      Результат Следующий шаг

      Главный ЭБУ кузова не выводит код U1002 (см. дисплей портативного диагностического прибора/Main Body)

      (для моделей с левосторонним рулевым управлением)

      А

      Главный ЭБУ кузова не выводит код U1002 (см. дисплей портативного диагностического прибора/Main Body)

      (для моделей с правосторонним рулевым управлением)

      B
      Главный ЭБУ кузова выводит код U1002 (см. дисплей портативного диагностического прибора/Main Body) C

    B
    C
    А
  2. ПРОВЕРЬТЕ ШИНУ CAN НА ОБРЫВ (ВСПОМОГАТЕЛЬНАЯ ШИНА ПЕРЕКЛЮЧАТЕЛЯ ЭЛЕКТРОПРИВОДА ПРАВОГО ПЕРЕДНЕГО СИДЕНЬЯ)


    1. Выключите зажигание.

    2. A01NMPDE11
      Обозначения на рисунке
      *1

      Вид спереди разъема со стороны жгута проводов:

      (к переключателю электропривода правого переднего сиденья)

      Отсоедините разъем Z25 переключателя электропривода правого переднего сиденья.

    3. Измерьте сопротивление в соответствии со значениями, приведенными в таблице ниже.

      Номинальное сопротивление
      Контакты для подключения диагностического прибора Положение выключателя Заданные условия
      Z25-8 (CANP) - Z25-7 (CANN) Зажигание выключено 54 - 69 Ом

    NG
    OK
  3. ПРОВЕРЬТЕ ЖГУТ ПРОВОДОВ И РАЗЪЕМ (КОНТАКТ ИСТОЧНИКА ПИТАНИЯ)


    1. A01NN25E08
      Обозначения на рисунке
      *1

      Вид спереди разъема со стороны жгута проводов:

      (к переключателю электропривода правого переднего сиденья)

      Отсоедините разъем Z26 переключателя электропривода правого переднего сиденья.

    2. Измерьте напряжение в соответствии со значениями, приведенными в таблице.

      Номинальное напряжение
      Контакты для подключения диагностического прибора Условие Заданные условия
      Z26-6 (+B) - масса Всегда 11-14 В

    NG
    OK
  4. ПРОВЕРЬТЕ ЖГУТ ПРОВОДОВ И РАЗЪЕМ (КОНТАКТ МАССЫ)


    1. A01NN25E09
      Обозначения на рисунке
      *1

      Вид спереди разъема со стороны жгута проводов:

      (к переключателю электропривода правого переднего сиденья)

      Измерьте сопротивление в соответствии со значениями, приведенными в таблице ниже.

      Номинальное сопротивление
      Контакты для подключения диагностического прибора Условие Заданные условия
      Z26-1 (GND) - масса Всегда Менее 1 Ом

    NG
    OK
  5. ПРОВЕРЬТЕ ШИНУ CAN НА ОБРЫВ (ВСПОМОГАТЕЛЬНАЯ ШИНА ПЕРЕКЛЮЧАТЕЛЯ ЭЛЕКТРОПРИВОДА ЛЕВОГО ПЕРЕДНЕГО СИДЕНЬЯ)


    1. Выключите зажигание.

    2. A01NMPDE08
      Обозначения на рисунке
      *1

      Вид спереди разъема со стороны жгута проводов:

      (к переключателю электропривода левого переднего сиденья)

      Отсоедините разъем a8 переключателя электропривода левого переднего сиденья.

    3. Измерьте сопротивление в соответствии со значениями, приведенными в таблице ниже.

      Номинальное сопротивление
      Контакты для подключения диагностического прибора Положение выключателя Заданные условия
      a8-8 (CANP) - a8-7 (CANN) Зажигание выключено 54 - 69 Ом

    NG
    OK
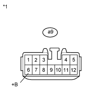
  6. ПРОВЕРЬТЕ ЖГУТ ПРОВОДОВ И РАЗЪЕМ (КОНТАКТ ИСТОЧНИКА ПИТАНИЯ)


    1. A01NN25E05
      Обозначения на рисунке
      *1

      Вид спереди разъема со стороны жгута проводов:

      (к переключателю электропривода левого переднего сиденья)

      Отсоедините разъем a9 переключателя электропривода левого переднего сиденья.

    2. Измерьте напряжение в соответствии со значениями, приведенными в таблице.

      Номинальное напряжение
      Контакты для подключения диагностического прибора Условие Заданные условия
      a9-6 (+B) - масса Всегда 11-14 В

    NG
    OK
  7. ПРОВЕРЬТЕ ЖГУТ ПРОВОДОВ И РАЗЪЕМ (КОНТАКТ МАССЫ)


    1. A01NN25E06
      Обозначения на рисунке
      *1

      Вид спереди разъема со стороны жгута проводов:

      (к переключателю электропривода левого переднего сиденья)

      Измерьте сопротивление в соответствии со значениями, приведенными в таблице ниже.

      Номинальное сопротивление
      Контакты для подключения диагностического прибора Условие Заданные условия
      a9-1 (GND) - масса Всегда Менее 1 Ом

    NG
    OK