СИСТЕМА ПЕРЕДАЧИ ДАННЫХ CAN Режим прекращения обмена данными с приемником аудиосистемы в сборе

ОПИСАНИЕ

Неисправность Признак Неисправный участок
Режим прекращения обмена данными с приемником аудиосистемы в сборе
  • На экране "CAN Bus Check" (проверка шины CAN) портативного диагностического прибора не отображается "AVN".

  • Относится к "Режиму прекращения обмена данными с приемником аудиосистемы в сборе" в "Таблице комбинаций кодов DTC".


  • Вспомогательная шина или разъем радиоприемника

  • Цепь питания радиоприемника

  • Радиоприемник в сборе

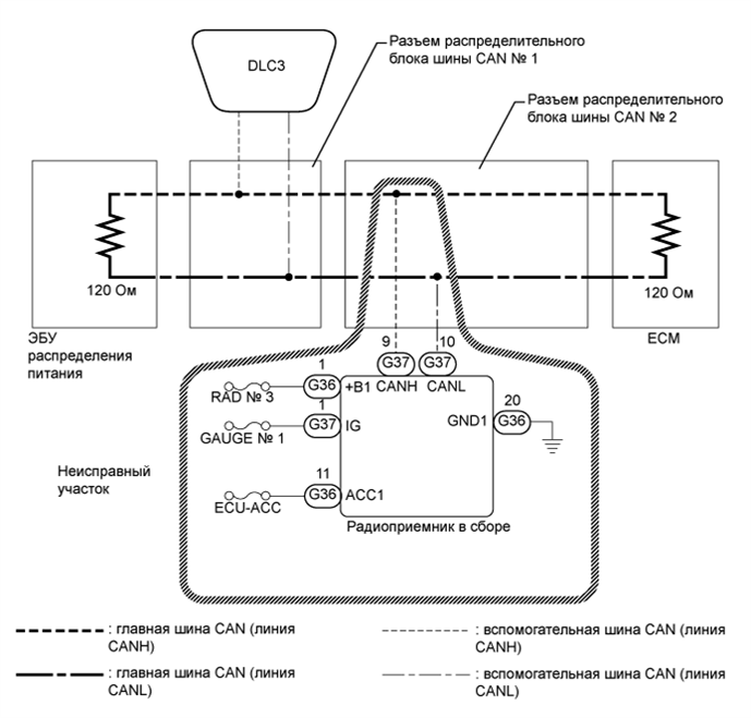
СХЕМА ЭЛЕКТРИЧЕСКИХ СОЕДИНЕНИЙ

A01NLZPE05

ПОСЛЕДОВАТЕЛЬНОСТЬ ПРОВЕРКИ

Note


  • Выключите питание перед измерением сопротивления между главными и вспомогательными шинами CAN.

  • Выключите питание перед проверкой короткого замыкания шины CAN на массу.

  • После выключения питания убедитесь, что система оповещения о ключе, оставленном в замке зажигания, и система оповещения о невыключенном освещении не активированы.

  • Перед измерением сопротивления оставьте автомобиль на 1 минуту "как он есть", не трогая выключатель питания, другие переключатели и двери. Если необходимо открыть какую-либо дверь для проверки разъемов, откройте двери и не закрывайте их.

Tech Tips


  • Управление выключателем питания, какими-либо выключателями или дверями приводит к обмену данными между ЭБУ и датчиками по шине CAN. При осуществлении обмена данными сопротивление изменяется.

  • Если DTC регистрируется при непродолжительном движении на автомобиле даже после удаления кодов DTC, неисправность может возникать вследствие вибрации автомобиля. В подобных случаях необходимо пошевелить разъемы ЭБУ или жгутов проводов во время проверки, чтобы установить причину неисправности.

ПОРЯДОК ВЫПОЛНЕНИЯ


  1. ПРОВЕРЬТЕ ШИНУ CAN НА ОБРЫВ (ВСПОМОГАТЕЛЬНАЯ ШИНА ЭБУ СИСТЕМЫ НАВИГАЦИИ)


    1. Выключите питание.

    2. A01NI7OE02
      Обозначения на рисунке
      *1

      Вид спереди разъема со стороны жгута проводов:

      (к радиоприемнику в сборе)

      Отсоедините разъемы радиоприемника в сборе.

    3. Измерьте сопротивление в соответствии со значениями, приведенными в таблице ниже.

      Номинальное сопротивление
      Подключение диагностического прибора Условие Заданные условия
      G37-9 (CANH) - G37-10 (CANL) Питание выключено 54 - 69 Ом

    NG
    OK
  2. ПРОВЕРЬТЕ ЖГУТ ПРОВОДОВ И РАЗЪЕМ (КОНТАКТ ИСТОЧНИКА ПИТАНИЯ)


    1. A01NK4CE03
      Обозначения на рисунке
      *1

      Вид спереди разъема со стороны жгута проводов:

      (к радиоприемнику в сборе)

      Измерьте напряжение в соответствии со значениями, приведенными в таблице.

      Номинальное напряжение
      Подключение диагностического прибора Положение переключателя Заданные условия
      G36-1 (+B1) - масса Питание выключено 11 - 14 В
      G36-11 (ACC1) - масса Питание включено (ACC) 11 - 14 В
      G37-1 (IG) - масса Питание включено (IG) 11 - 14 В

    NG
    OK
  3. ПРОВЕРЬТЕ ЖГУТ ПРОВОДОВ И РАЗЪЕМ (КОНТАКТ МАССЫ)


    1. A01NJ29E02
      Обозначения на рисунке
      *1

      Вид спереди разъема со стороны жгута проводов:

      (к радиоприемнику в сборе)

      Измерьте сопротивление в соответствии со значениями, приведенными в таблице ниже.

      Номинальное сопротивление
      Подключение диагностического прибора Условие Заданные условия
      G36-20 (GND1) - масса Питание выключено Менее 1 Ом

    NG
    OK