СИСТЕМА ПЕРЕДАЧИ ДАННЫХ LIN, Diagnostic DTC:B2322

Код DTC Наименование DTC
B2322 Прекращение обмена данными с ЭБУ двери переднего пассажира

ОПИСАНИЕ

Данный DTC регистрируется, когда более чем на 10 с прекращается обмен данными по шине LIN между электродвигателем стеклоподъемника правой передней двери и главным ЭБУ кузова (бортовым ЭБУ сети мультиплексной связи).

№ DTC Условие обнаружения DTC Неисправный участок
B2322 Прекращение обмена данными между электродвигателем стеклоподъемника правой передней двери и главным ЭБУ кузова (бортовым ЭБУ сети мультиплексной связи) более чем на 10 с.
  • Электродвигатель стеклоподъемника правой передней двери в сборе

  • Главный ЭБУ кузова (бортовой ЭБУ сети мультиплексной связи)

  • Распределительный блок панели приборов в сборе

  • Жгут проводов или разъем

  • Предохранитель FR DOOR*1

  • Предохранитель FL DOOR*2


СХЕМА СОЕДИНЕНИЙ

A01NJ8OE22

ПОСЛЕДОВАТЕЛЬНОСТЬ ПРОВЕРКИ

Note


  • После замены или снятия и установки электродвигателя стеклоподъемника левой или правой передней двери необходимо выполнить инициализацию (см. стр. Click here).

  • При использовании портативного диагностического прибора для диагностики с выключенным зажиганием:

    Подключите портативный диагностический прибор к разъему DLC3 и с интервалом 1,5 с включайте и выключайте освещение дверных проемов до тех пор, пока не установится связь между портативным диагностическим прибором и автомобилем.

ПОРЯДОК ВЫПОЛНЕНИЯ


  1. ПРОВЕРЬТЕ РАСПРЕДЕЛИТЕЛЬНЫЙ БЛОК ПАНЕЛИ ПРИБОРОВ В СБОРЕ


    1. Снимите распределительный блок панели приборов в сборе (см. стр. Click here).

      A01NJTSE03
    2. Снимите главный ЭБУ кузова (бортовой ЭБУ сети мультиплексной связи) с распределительного блока панели приборов в сборе.

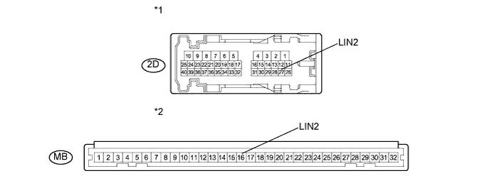
    3. Измерьте сопротивление в соответствии со значениями, приведенными в таблице ниже.

      Tech Tips

      Данная операция предназначена для проверки шины LIN в распределительном блоке панели приборов в сборе, соединяющей жгут проводов и встроенный главный ЭБУ кузова (бортовой ЭБУ сети мультиплексной связи).

      Номинальное сопротивление
      Контакты для подключения диагностического прибора Условие Заданные условия
      2D-27 (LIN2)- MB-16 (LIN2) Всегда Менее 1 Ом
      2D-27 (LIN2) - масса Всегда 10 кОм или более
      Обозначения на рисунке
      *1

      Устройство с неподсоединенным жгутом проводов

      (распределительный блок панели приборов в сборе)

      *2

      Устройство с неподсоединенным жгутом проводов

      (Распределительный блок панели приборов в сборе)


    NG
    OK
  2. ПРОВЕРЬТЕ ЖГУТ ПРОВОДОВ И РАЗЪЕМ


    1. A01NMMBE05
      Обозначения на рисунке
      *1

      Вид спереди разъема со стороны жгута проводов:

      (к распределительному блоку панели приборов в сборе)

      *2

      Вид спереди разъема со стороны жгута проводов:

      (к электродвигателю стеклоподъемника передней двери в сборе)

      *3 Для моделей с левосторонним рулевым управлением
      *4 Для моделей с правосторонним рулевым управлением

      Отсоедините разъем I2 электродвигателя стеклоподъемника правой передней двери в сборе*1.

    2. Отсоедините разъем J1 электродвигателя стеклоподъемника левой передней двери в сборе*2.

    3. Измерьте сопротивление в соответствии со значениями, приведенными в таблице ниже.

      Номинальное сопротивление
      Контакты для подключения диагностического прибора Условие Заданные условия

      2D-27 (LIN2) - I2-9 (LIN)*1

      2D-27 (LIN2) - J1-9 (LIN)*2

      Всегда Менее 1 Ом
      2D-27 (LIN2) - масса Всегда 10 кОм или более

      • *1: Для моделей с левосторонним рулевым управлением

      • *2: Для моделей с правосторонним рулевым управлением


    NG
    OK
  3. ПРОВЕРЬТЕ ЖГУТ ПРОВОДОВ И РАЗЪЕМ


    1. A01NJ6QE23
      Обозначения на рисунке
      *1

      Вид спереди разъема со стороны жгута проводов:

      (к электродвигателю стеклоподъемника передней двери в сборе)

      *2 Для моделей с левосторонним рулевым управлением
      *3 Для моделей с правосторонним рулевым управлением

      Измерьте напряжение в соответствии со значениями, приведенными в таблице.

      Номинальное напряжение
      Контакты для подключения диагностического прибора Условие Заданные условия

      I2-2 (B) - масса*1

      J1-2 (B) - масса*2

      Всегда 11-14 В
    2. Измерьте сопротивление в соответствии со значениями, приведенными в таблице ниже.

      Номинальное сопротивление
      Контакты для подключения диагностического прибора Условие Заданные условия

      I2-1 (E) - масса*1

      J1-1 (E) - масса*2

      Всегда Менее 1 Ом

    NG
    OK
  4. ЗАМЕНИТЕ ЭЛЕКТРОДВИГАТЕЛЬ СТЕКЛОПОДЪЕМНИКА ПЕРЕДНЕЙ ДВЕРИ В СБОРЕ (СО СТОРОНЫ ПЕРЕДНЕГО ПАССАЖИРА)


    1. Замените электродвигатель стеклоподъемника правой передней двери в сборе (см. стр. Click here).


    ДАЛЕЕ
  5. ПРОВЕРЬТЕ, ВЫВОДЯТСЯ ЛИ DTC


    1. Сбросьте DTC (см. стр. Click here).

    2. Проверьте наличие кодов DTC.

      OK
      DTC B2322 не выводится.

    NG
    OK