СИСТЕМА ПЕРЕДАЧИ ДАННЫХ CAN Прекращение обмена данными с центральным блоком управления системы SRS

ОПИСАНИЕ

Неисправность Признак Неисправный участок
Прекращение обмена данными с центральным блоком управления системы SRS
  • На экране "Communication Bus Check" (проверка шин передачи данных) портативного диагностического прибора не отображается "SRS Airbag" (подушка безопасности SRS).

  • Относится к "Режиму прекращения обмена данными с центральным блоком управления системы SRS" в "Таблице комбинаций кодов DTC".


  • Вспомогательная шина или разъем центрального блока управления системы SRS

  • Цепь питания центрального блока управления системы SRS

  • Центральный блок управления системы SRS

СХЕМА СОЕДИНЕНИЙ

A019K83E14
A019MMGE01

ПОСЛЕДОВАТЕЛЬНОСТЬ ПРОВЕРКИ

Note


  • Выключите зажигание перед измерением сопротивления между главными и вспомогательными шинами CAN.

  • Выключите зажигание перед проверкой короткого замыкания шины CAN на массу.

  • После выключения зажигания убедитесь, что система оповещения о ключе, оставленном в замке зажигания, и система оповещения о невыключенном освещении не активированы.

  • Перед измерением сопротивления оставьте автомобиль на 1 минуту "как он есть", не трогая выключатель зажигания, другие переключатели и двери. Если необходимо открыть какую-либо дверь для проверки разъемов, откройте двери и не закрывайте их.

Tech Tips


  • Управление выключателем зажигания, какими-либо выключателями или дверями приводит к обмену данными между ЭБУ и датчиками по шине CAN. При осуществлении обмена данными сопротивление изменяется.

  • Если DTC регистрируется при непродолжительном движении на автомобиле даже после удаления кодов DTC, неисправность может возникать вследствие вибрации автомобиля. В подобных случаях необходимо пошевелить разъемы ЭБУ или жгутов проводов во время проверки, чтобы установить причину неисправности.

ПОРЯДОК ВЫПОЛНЕНИЯ


  1. ПРОВЕРЬТЕ ШИНУ CAN НА ОБРЫВ (ВСПОМОГАТЕЛЬНАЯ ШИНА ЦЕНТРАЛЬНОГО БЛОКА УПРАВЛЕНИЯ СИСТЕМЫ SRS)


    1. Выключите зажигание.

    2. A019O0VE11
      Обозначения на рисунке
      *1

      Вид спереди разъема со стороны жгута проводов:

      (к центральному блоку управления системы SRS)

      Отсоедините разъем центрального блока управления системы SRS.

    3. Измерьте сопротивление в соответствии со значениями, приведенными в таблице ниже.

      Номинальное сопротивление
      Контакты для подключения диагностического прибора Положение выключателя Заданные условия
      F29-13 (CANH) - F29-22 (CANL) Зажигание выключено 54-69 Ом

    NG
    OK
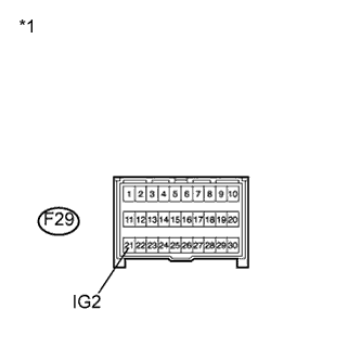
  2. ПРОВЕРЬТЕ ЖГУТ ПРОВОДОВ И РАЗЪЕМ (КОНТАКТ ИСТОЧНИКА ПИТАНИЯ)


    1. A019O0VE12
      Обозначения на рисунке
      *1

      Вид спереди разъема со стороны жгута проводов:

      (к центральному блоку управления системы SRS)

      Измерьте напряжение в соответствии со значениями, приведенными в таблице.

      Номинальное напряжение
      Контакты для подключения диагностического прибора Положение переключателя Заданные условия
      F29-21 (IG2) - масса Зажигание включено (IG) 11–14 В

    NG
    OK
  3. ПРОВЕРЬТЕ ЖГУТ ПРОВОДОВ И РАЗЪЕМ (КОНТАКТ МАССЫ)


    1. A019O0VE13
      Обозначения на рисунке
      *1

      Вид спереди разъема со стороны жгута проводов:

      (к центральному блоку управления системы SRS)

      Измерьте сопротивление в соответствии со значениями, приведенными в таблице ниже.

      Номинальное сопротивление
      Контакты для подключения диагностического прибора Условие Заданные условия
      F29-25 (Е1) - масса Всегда Менее 1 Ом
      F29-26 (E2) - масса Всегда Менее 1 Ом

    NG
    OK