СИСТЕМА ПЕРЕДАЧИ ДАННЫХ CAN, Diagnostic DTC:U0209

Код DTC Наименование DTC
U0209 Нарушение связи с блоком управления сиденья "В"

ОПИСАНИЕ

№ DTC Условие обнаружения DTC Неисправный участок
U0208 Нарушение связи с левым ЭБУ управления положением.
  • Вспомогательная шина или разъем левого ЭБУ управления положением

  • Цепь питания левого ЭБУ управления положением

  • ЭБУ управления положением левого сиденья

СХЕМА СОЕДИНЕНИЙ

A019N20E03

ПОСЛЕДОВАТЕЛЬНОСТЬ ПРОВЕРКИ

Note


  • Выключите зажигание перед измерением сопротивления между главными и вспомогательными шинами CAN.

  • Выключите зажигание перед проверкой короткого замыкания шины CAN на массу.

  • После выключения зажигания убедитесь, что система оповещения о ключе, оставленном в замке зажигания, и система оповещения о невыключенном освещении не активированы.

  • Перед измерением сопротивления оставьте автомобиль на 1 минуту "как он есть", не трогая выключатель зажигания, другие переключатели и двери. Если необходимо открыть какую-либо дверь для проверки разъемов, откройте двери и не закрывайте их.

Tech Tips


  • Управление выключателем зажигания, какими-либо выключателями или дверями приводит к обмену данными между ЭБУ и датчиками по шине CAN. При осуществлении обмена данными сопротивление изменяется.

  • Если DTC регистрируется при непродолжительном движении на автомобиле даже после удаления кодов DTC, неисправность может возникать вследствие вибрации автомобиля. В подобных случаях необходимо пошевелить разъемы ЭБУ или жгутов проводов во время проверки, чтобы установить причину неисправности.

ПОРЯДОК ВЫПОЛНЕНИЯ


  1. СНОВА ПРОВЕРЬТЕ ВЫВОДИМЫЕ DTC


    1. Снова проверьте диагностические коды неисправности DTC.

      Tech Tips

      Если главный ЭБУ кузова выводит диагностический код неисправности DTC U1002 шины CAN MS (см. дисплей портативного диагностического прибора/Main Body), устраните неисправность U1002 и проверьте, нет ли неисправности в цепи главной шины CAN MS.

      Результат
      Результат Следующий шаг
      Главный ЭБУ кузова не выводит код U1002 (см. дисплей портативного диагностического прибора/Main Body) А
      Главный ЭБУ кузова выводит код U1002 (см. дисплей портативного диагностического прибора/Main Body) B

    B
    А
  2. ПРОВЕРЬТЕ ШИНУ CAN НА ОБРЫВ (ВСПОМОГАТЕЛЬНАЯ ШИНА ЛЕВОГО ЭБУ УПРАВЛЕНИЯ ПОЛОЖЕНИЕМ)


    1. Выключите зажигание.

    2. A019OZNE08
      Обозначения на рисунке
      *1

      Вид спереди разъема со стороны жгута проводов:

      (к ЭБУ управления положением левого сиденья)

      Отсоедините разъем левого ЭБУ управления положением.

    3. Измерьте сопротивление в соответствии со значениями, приведенными в таблице ниже.

      Номинальное сопротивление
      Контакты для подключения диагностического прибора Положение переключателя Заданные условия
      a8-8 (CANP) - a8-7 (CANN) Зажигание выключено 54-69 Ом

    NG
    OK
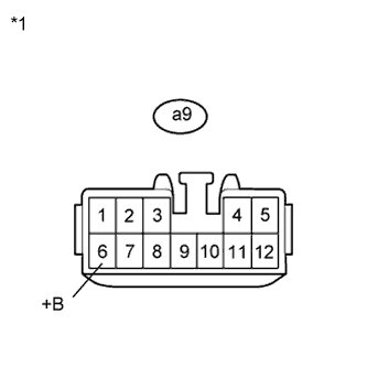
  3. ПРОВЕРЬТЕ ЖГУТ ПРОВОДОВ И РАЗЪЕМ (КОНТАКТ ИСТОЧНИКА ПИТАНИЯ)


    1. A019ME9E05
      Обозначения на рисунке
      *1

      Вид спереди разъема со стороны жгута проводов:

      (к ЭБУ управления положением левого сиденья)

      Отсоедините разъем левого ЭБУ управления положением.

    2. Измерьте напряжение в соответствии со значениями, приведенными в таблице.

      Номинальное напряжение
      Контакты для подключения диагностического прибора Условие Заданные условия
      a9-6 (+B) - масса Всегда 11-14 В

    NG
    OK
  4. ПРОВЕРЬТЕ ЖГУТ ПРОВОДОВ И РАЗЪЕМ (КОНТАКТ МАССЫ)


    1. A019ME9E06
      Обозначения на рисунке
      *1

      Вид спереди разъема со стороны жгута проводов:

      (к ЭБУ управления положением левого сиденья)

      Измерьте сопротивление в соответствии со значениями, приведенными в таблице ниже.

      Номинальное сопротивление
      Контакты для подключения диагностического прибора Условие Заданные условия
      a9-1 (GND) - масса Всегда Менее 1 Ом

    NG
    OK