СИСТЕМА ПЕРЕДАЧИ ДАННЫХ LIN, Diagnostic DTC:B2323

Код DTC Наименование DTC
B2323 Прекращение обмена данными с ЭБУ правой задней двери

ОПИСАНИЕ

Данный DTC регистрируется, когда более чем на 10 с прекращается обмен данными по шине LIN между электродвигателем стеклоподъемника правой задней двери и главным ЭБУ кузова (бортовым ЭБУ сети мультиплексной связи).

№ DTC Условие обнаружения DTC Неисправный участок
B2323 Прекращение обмена данными между электродвигателем стеклоподъемника правой задней двери и главным ЭБУ кузова (бортовым ЭБУ сети мультиплексной связи) более чем на 10 с.
  • Электродвигатель стеклоподъемника правой задней двери в сборе

  • Главный ЭБУ кузова (бортовой ЭБУ сети мультиплексной связи)

  • Распределительный блок панели приборов в сборе

  • Жгут проводов или разъем

  • Предохранитель RR DOOR

СХЕМА СОЕДИНЕНИЙ

A019L5XE14

ПОСЛЕДОВАТЕЛЬНОСТЬ ПРОВЕРКИ

Note


  • После замены или снятия/установки электродвигателя стеклоподъемника правой задней двери в сборе необходимо выполнить инициализацию (см. стр. Click here).

  • При использовании портативного диагностического прибора для диагностики с выключенным зажиганием:

    Подключите портативный диагностический прибор к разъему DLC3 и с интервалом 1,5 с включайте и выключайте освещение дверных проемов до тех пор, пока не установится связь между портативным диагностическим прибором и автомобилем.

ПОРЯДОК ВЫПОЛНЕНИЯ


  1. ПРОВЕРЬТЕ РАСПРЕДЕЛИТЕЛЬНЫЙ БЛОК ПАНЕЛИ ПРИБОРОВ В СБОРЕ


    1. Снимите распределительный блок панели приборов в сборе (см. стр. Click here).

      A019PLUE04
    2. Снимите главный ЭБУ кузова (бортовой ЭБУ сети мультиплексной связи) с распределительного блока панели приборов в сборе.

    3. Измерьте сопротивление в соответствии со значениями, приведенными в таблице ниже.

      Tech Tips

      Данная операция предназначена для проверки шины LIN в распределительном блоке панели приборов в сборе, соединяющей жгут проводов и встроенный главный ЭБУ кузова (бортовой ЭБУ сети мультиплексной связи).

      Номинальное сопротивление
      Контакты для подключения диагностического прибора Условие Заданные условия
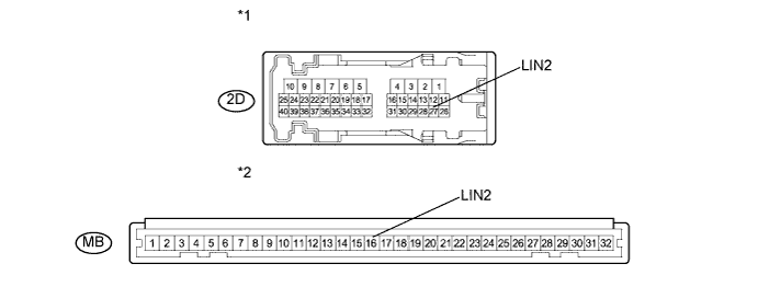
      2D-27 (LIN2)- MB-16 (LIN2) Всегда Менее 1 Ом
      2D-27 (LIN2) - масса Всегда 10 кОм или более
      Обозначения на рисунке
      *1

      Устройство с неподсоединенным жгутом проводов

      (Распределительный блок панели приборов в сборе)

      *2

      Устройство с неподсоединенным жгутом проводов

      (Распределительный блок панели приборов в сборе)


    NG
    OK
  2. ПРОВЕРЬТЕ ЖГУТ ПРОВОДОВ И РАЗЪЕМ


    1. A019P60E04
      Обозначения на рисунке
      *1

      Вид спереди разъема со стороны жгута проводов:

      (к распределительному блоку панели приборов в сборе)

      *2

      Вид спереди разъема со стороны жгута проводов:

      (к электродвигателю стеклоподъемника правой задней двери в сборе)

      Отсоедините разъем K2 электродвигателя стеклоподъемника правой задней двери в сборе.

    2. Измерьте сопротивление в соответствии со значениями, приведенными в таблице ниже.

      Номинальное сопротивление
      Контакты для подключения диагностического прибора Условие Заданные условия
      2D-27 (LIN2) - K2-9 (LIN) Всегда Менее 1 Ом
      2D-27 (LIN2) - масса Всегда 10 кОм или более

    NG
    OK
  3. ПРОВЕРЬТЕ ЖГУТ ПРОВОДОВ И РАЗЪЕМ


    1. A019KSZE16
      Обозначения на рисунке
      *1

      Вид спереди разъема со стороны жгута проводов:

      (к электродвигателю стеклоподъемника правой задней двери в сборе)

      Измерьте напряжение в соответствии со значениями, приведенными в таблице.

      Номинальное напряжение
      Контакты для подключения диагностического прибора Условие Заданные условия
      K2-2 (B) - масса Всегда 11-14 В
    2. Измерьте сопротивление в соответствии со значениями, приведенными в таблице ниже.

      Номинальное сопротивление
      Контакты для подключения диагностического прибора Условие Заданные условия
      K2-1 (E) - масса Всегда Менее 1 Ом

    NG
    OK
  4. ЗАМЕНИТЕ ЭЛЕКТРОДВИГАТЕЛЬ СТЕКЛОПОДЪЕМНИКА ПРАВОЙ ЗАДНЕЙ ДВЕРИ


    1. Замените электродвигатель стеклоподъемника правой задней двери в сборе (см. стр. Click here).


    ДАЛЕЕ
  5. ПРОВЕРЬТЕ, ВЫВОДЯТСЯ ЛИ DTC


    1. Сбросьте DTC (см. стр. Click here).

    2. Проверьте наличие кодов DTC.

      OK
      DTC B2323 не выводится.

    NG
    OK