ГЛАВНЫЙ ЭБУ КУЗОВА УСТАНОВКА


  1. УСТАНОВИТЕ ГЛАВНЫЙ ЭБУ КУЗОВА (БОРТОВОЙ ЭБУ СЕТИ МУЛЬТИПЛЕКСНОЙ СВЯЗИ) (для моделей с левосторонним рулевым управлением)

    Note


    • На поверхностях соединения не должно быть посторонних предметов.

    • Не прикасайтесь к разъему ЭБУ.


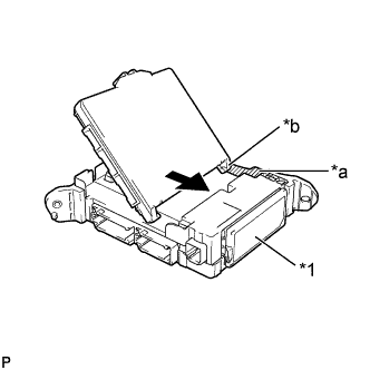
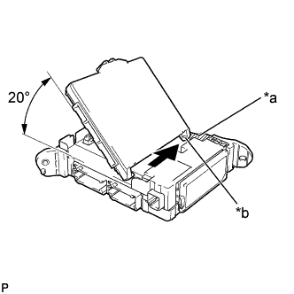
    1. A019NKAE01
      Обозначения на рисунке
      *a Боковая стенка корпуса
      *b Направляющий элемент

      Вставьте главный ЭБУ кузова (бортовой ЭБУ сети мультиплексной связи) вверх до положения, в котором он соприкасается с боковой стенкой корпуса направляющего элемента, как показано на рисунке.

      Tech Tips

      Удерживайте ЭБУ под углом не менее 20°, как показано на рисунке.

    2. A019NRVE01
      Обозначения на рисунке
      *1 Плавкие предохранители распределительного блока
      *a Боковая стенка корпуса
      *b Направляющий элемент

      Сдвиньте направляющую главного ЭБУ кузова (бортового ЭБУ сети мультиплексной связи) вдоль боковой стенки корпуса по направлению к плавким предохранителям распределительного блока, как показано на рисунке.

    3. A019N9HE01
      Обозначения на рисунке
      *a Сторона A

      Сдвиньте главный ЭБУ кузова (бортовой ЭБУ сети мультиплексной связи) таким образом, чтобы он соприкоснулся со стороной A, как показано на рисунке.

      Note

      Не прикладывайте чрезмерных усилий к главному ЭБУ кузова (бортовому ЭБУ сети мультиплексной связи).

    4. A019JZHE01
      Обозначения на рисунке
      *a Точка касания стороны A

      Когда главный ЭБУ кузова (бортовой ЭБУ сети мультиплексной связи) соприкоснется со стороной A распределительного блока (точкой вращения), поверните его вниз, как показано на рисунке.

    5. A019KLWE01
      Обозначения на рисунке
      *a Область нажатия

      Чтобы установить главный ЭБУ кузова (бортовой ЭБУ сети мультиплексной связи), надавите на область нажатия и введите захват в зацепление.

      Note


      • Надавливайте только на область нажатия.

      • Проверьте зацепление главного ЭБУ кузова (бортового ЭБУ сети мультиплексной связи) и распределительного блока, проконтролировав звук защелкивания.

      Tech Tips

      Если звук защелкивания не слышен, визуально проверьте зацепление защелки. Зацепление можно также проверить, убедившись, что главный ЭБУ кузова (бортовой ЭБУ сети мультиплексной связи) и распределительный блок находятся заподлицо.

  2. УСТАНОВИТЕ ГЛАВНЫЙ ЭБУ КУЗОВА (БОРТОВОЙ ЭБУ СЕТИ МУЛЬТИПЛЕКСНОЙ СВЯЗИ) (для моделей с правосторонним рулевым управлением)

    Note


    • На поверхностях соединения не должно быть посторонних предметов.

    • Не прикасайтесь к разъему ЭБУ.


    1. A019MA5E08
      Обозначения на рисунке
      *a Боковая стенка корпуса
      *b Направляющий элемент

      Вставьте главный ЭБУ кузова (бортовой ЭБУ сети мультиплексной связи) вверх до положения, в котором он соприкасается с боковой стенкой корпуса направляющего элемента, как показано на рисунке.

      Tech Tips

      Удерживайте ЭБУ под углом не менее 20°, как показано на рисунке.

    2. A019MWLE06
      Обозначения на рисунке
      *1 Плавкие предохранители распределительного блока
      *a Боковая стенка корпуса
      *b Направляющий элемент

      Сдвиньте направляющую главного ЭБУ кузова (бортового ЭБУ сети мультиплексной связи) вдоль боковой стенки корпуса по направлению к плавким предохранителям распределительного блока, как показано на рисунке.

    3. A019NC3E07
      Обозначения на рисунке
      *a Сторона A

      Сдвиньте главный ЭБУ кузова (бортовой ЭБУ сети мультиплексной связи) таким образом, чтобы он соприкоснулся со стороной A, как показано на рисунке.

      Note

      Не прикладывайте чрезмерных усилий к главному ЭБУ кузова (бортовому ЭБУ сети мультиплексной связи).

    4. A019KAOE03
      Обозначения на рисунке
      *a Точка касания стороны A

      Когда главный ЭБУ кузова (бортовой ЭБУ сети мультиплексной связи) соприкоснется со стороной A распределительного блока (точкой вращения), поверните его вниз, как показано на рисунке.

    5. A019MS4E02
      Обозначения на рисунке
      *a Область нажатия

      Чтобы установить главный ЭБУ кузова (бортовой ЭБУ сети мультиплексной связи), надавите на область нажатия и введите захват в зацепление.

      Note


      • Надавливайте только на область нажатия.

      • Проверьте зацепление главного ЭБУ кузова (бортового ЭБУ сети мультиплексной связи) и распределительного блока, проконтролировав звук защелкивания.

      Tech Tips

      Если звук защелкивания не слышен, визуально проверьте зацепление защелки. Зацепление можно также проверить, убедившись, что главный ЭБУ кузова (бортовой ЭБУ сети мультиплексной связи) и распределительный блок находятся заподлицо.

  3. УСТАНОВИТЕ КРОНШТЕЙН ЗАЖИМА ЖГУТА ПРОВОДОВ (для моделей с левосторонним рулевым управлением)


    1. Установите кронштейн зажима жгута проводов на распределительный блок панели приборов в сборе и закрепите его болтом.

      Torque:
      13 Н*м  { 127 кгс*см, 9 фунт-сила-футов }
  4. УСТАНОВИТЕ ЭБУ РАСПРЕДЕЛЕНИЯ ПИТАНИЯ (для моделей с левосторонним рулевым управлением)


    1. Установите ЭБУ распределения питания и закрепите его 2 гайками.

      Torque:
      9,5 Н*м  { 97 кгс*см, 84 фунт-сила-дюйма }
  5. УСТАНОВИТЕ РАСПРЕДЕЛИТЕЛЬНЫЙ БЛОК ПАНЕЛИ ПРИБОРОВ В СБОРЕ (для моделей с левосторонним рулевым управлением)


    1. A019NDA

      Введите в зацепление захват, чтобы подсоединить разъем, как показано на рисунке.

    2. A019O4R

      Введите в зацепление 2 захвата, чтобы зафиксировать защелку разъема, как показано на рисунке.

    3. A019NAD

      Введите в зацепление захват, чтобы подсоединить разъем, как показано на рисунке.

    4. Закрепите распределительный блок панели приборов в сборе 2 гайками.

      Torque:
      8,0 Н*м  { 82 кгс*см, 71 фунт-сила-дюйм }
    5. A019K87E01

      Подсоедините 4 разъема (A).

    6. Введите в зацепление 2 захвата, чтобы подсоединить 2 разъема (B).

    7. Подсоедините 2 разъема.

  6. УСТАНОВИТЕ РАСПРЕДЕЛИТЕЛЬНЫЙ БЛОК ПАНЕЛИ ПРИБОРОВ В СБОРЕ (для моделей с правосторонним рулевым управлением)


    1. A019NDA

      Введите в зацепление захват, чтобы подсоединить разъем, как показано на рисунке.

    2. A019O4R

      Введите в зацепление 2 захвата, чтобы зафиксировать защелку разъема, как показано на рисунке.

    3. A019MIT

      Введите в зацепление захват, чтобы подсоединить разъем, как показано на рисунке.

    4. Установите распределительный блок панели приборов в сборе и закрепите его гайкой и болтом.

      Torque:
      Болт
      13 Н*м  { 127 кгс*см, 9 фунт-сила-футов }
      Гайка
      8,0 Н*м  { 82 кгс*см, 71 фунт-сила-дюйм }
    5. A019P1IE01

      Подсоедините разъем (A).

    6. Введите в зацепление 2 захвата и подсоедините 2 разъема (B), как показано на рисунке.

    7. Подсоедините 3 разъема.

  7. УСТАНОВИТЕ ДВЕРЦУ ПЕРЧАТОЧНОГО ЯЩИКА В СБОРЕ (для моделей с правосторонним рулевым управлением)


    1. Подсоедините все разъемы.

    2. Введите в зацепление захват, 4 фиксатора и направляющую.

    3. Установите дверцу перчаточного ящика в сборе, закрепив ее 5 винтами <F>.

  8. УСТАНОВИТЕ ПОДУШКУ БЕЗОПАСНОСТИ ДЛЯ ЗАЩИТЫ КОЛЕНЕЙ ВОДИТЕЛЯ В СБОРЕ (для моделей с левосторонним рулевым управлением)

    (см. стр. Click here).

  9. УСТАНОВИТЕ ПОДУШКУ БЕЗОПАСНОСТИ ДЛЯ ЗАЩИТЫ КОЛЕНЕЙ ПЕРЕДНЕГО ПАССАЖИРА В СБОРЕ (для моделей с правосторонним рулевым управлением)

    (см. стр. Click here).