ГЕНЕРАТОР ПОВТОРНАЯ СБОРКА


  1. УСТАНОВИТЕ РОТОР ГЕНЕРАТОРА В СБОРЕ


    1. Установите раму со стороны привода на шкив муфты.

    2. A019OADE01

      Установите ротор генератора в сборе в раму со стороны привода.

    3. A019P4SE01

      Установите новую шайбу на ротор генератора.

  2. УСТАНОВИТЕ ШКИВ МУФТЫ ГЕНЕРАТОРА


    1. Временно установите шкив муфты на вал ротора.

    2. Убедитесь, что рама генератора со стороны привода прочно зажата в тисках.

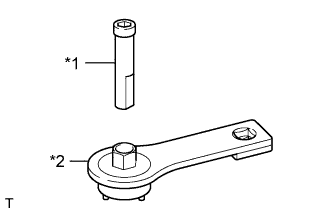
    3. A019OZBE03
      Обозначения на рисунке
      *1 SST (A)
      *2 SST (B)

      Убедитесь, что SST (A) и (B) располагаются, как показано на рисунке.

      SST
      09820-63021
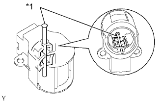
    4. A019N3CE02
      Обозначения на рисунке
      *1 Вал ротора
      *2 SST (A)

      Вставьте конец вала ротора в SST (А).

    5. A019K36E02
      Обозначения на рисунке
      *1 Шкив муфты
      *2 SST (B)
      *3 SST (A)

      Вставьте SST (В) в шкив муфты.

    6. A019LLBE03
      Обозначения на рисунке
      *1 SST (B)
      *2 SST (A)
      *3 Длина рычага: 318 мм

      Затяните шкив, повернув SST (В) в направлении, показанном на рисунке.

      Torque:
      без использования SST
      111 Н*м  { 1132 кгс*см, 82 фунт-сила-фута }
      при использовании SST
      89 Н*м  { 908 кгс*см, 66 фунт-сила-футов }

      Note


      • Используйте динамометрический ключ с длиной рычага 318 мм (1,043 фута).

      • Данное значение момента затяжки действительно в случае, если SST установлен параллельно динамометрическому ключу.

      • Убедитесь, что рама со стороны привода надежно закреплена в тисках.

      • Надежно удерживайте SST (A) во время работы.

    7. Снимите генератор в сборе с SST.

    8. Убедитесь, что шкив муфты вращается плавно.

    9. Установите новую крышку шкива генератора на шкив муфты.

  3. УСТАНОВИТЕ КАТУШКУ ГЕНЕРАТОРА В СБОРЕ


    1. A019N5YE05
      Обозначения на рисунке
      *1 Удлиненная торцевая головка (21 мм)

      С помощью удлиненной торцевой головки (21 мм) и пресса медленно запрессуйте катушку генератора в сборе.

    2. A019JXW

      Вверните 4 болта.

      Torque:
      5,8 Н*м  { 59 кгс*см, 51 фунт-сила-дюйм }
  4. УСТАНОВИТЕ ЩЕТКОДЕРЖАТЕЛЬ ГЕНЕРАТОРА В СБОРЕ


    1. A019OKKE18
      Обозначения на рисунке
      *1 Штифт

      При установке 2 щеток в щеткодержатель генератора вставьте в щеткодержатель штырь диаметром 1,0 мм (0,0394 дюйма).

    2. A019K86E05
      Обозначения на рисунке
      *1 Штифт

      Установите щеткодержатель в сборе в катушку генератора и закрепите его 2 винтами.

      Torque:
      1,8 Н*м  { 18 кгс*см, 16 фунт-сила-дюймов }
    3. Извлеките штырь из щеткодержателя генератора.

  5. УСТАНОВИТЕ ИЗОЛЯТОР КОНТАКТА ГЕНЕРАТОРА


    1. A019NLRE01

      Установите изолятор контакта на катушку генератора.

      Note

      Обратите внимание на направление установки изолятора контакта.

  6. УСТАНОВИТЕ ЗАДНЮЮ ТОРЦЕВУЮ КРЫШКУ ГЕНЕРАТОРА


    1. A019O19

      Установите заднюю торцевую крышку генератора на генератор и закрепите ее 3 гайками.

      Torque:
      4,6 Н*м  { 47 кгс*см, 41 фунт-сила-дюйм }