ГЕНЕРАТОР ЗАМЕНА


  1. ЗАМЕНИТЕ ПОДШИПНИК РАМЫ ГЕНЕРАТОРА СО СТОРОНЫ ПРИВОДА


    1. A019K6K

      Выверните 4 винта и снимите сепаратор подшипника с рамы со стороны привода.

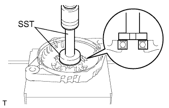
    2. A019OWGE01

      С помощью SST и молотка выбейте подшипник рамы со стороны привода из рамы.

      SST
      09950-60010   ( 09951-00250 )
      09950-70010   ( 09951-07100 )
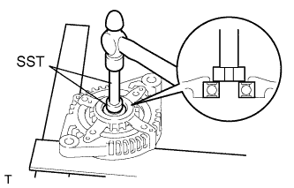
    3. A019KMHE01

      С помощью SST и пресса запрессуйте новый подшипник рамы генератора со стороны привода.

      SST
      09950-60010   ( 09951-00470 )
      09950-70010   ( 09951-07100 )
    4. A019O76E02
      Обозначения на рисунке
      *1 Выступ
      *2 Вырез

      Установите сепаратор подшипника, вставив выступы сепаратора подшипника в вырезы рамы со стороны привода.

    5. Заверните 4 винта.

      Torque:
      2,3 Н*м  { 23 кгс*см, 20 фунт-сила-дюймов }