СИСТЕМА ЗАРЯДКИ АККУМУЛЯТОРНОЙ БАТАРЕИ, Diagnostic DTC:P0516, P0517

Код DTC Наименование DTC
P0516 Низкий уровень сигнала в цепи датчика температуры аккумуляторной батареи
P0517 Высокий уровень сигнала в цепи датчика температуры аккумуляторной батареи

ОПИСАНИЕ

A019ON3E02

Датчик температуры аккумуляторной батареи, установленный на датчике тока аккумуляторной батареи, определяет ее температуру.

В датчик температуры аккумуляторной батареи встроен термистор, который изменяет сопротивление датчика в соответствии с изменениями температуры аккумуляторной батареи.

По мере возрастания температуры аккумуляторной батареи сопротивление термистора в датчике температуры аккумуляторной батареи понижается. По мере уменьшения температуры сопротивление повышается.

Датчик температуры аккумуляторной батареи подключен к ЭБУ распределения питания. ECM подает напяржение 5 В с контакта THB на датчик температуры аккумуляторной батареи через резистор R.

Датчик температуры аккумуляторной батареи и резистор R включены последовательно. Это приводит к колебанию напряжения, подающегося с контакта THB, если сопротивление изменяется в соответствии с температурой аккумуляторной батареи.

ЭБУ распределения питания, определяет температуру аккумуляторной батареи на основании колебаний напряжения. Если значение температуры аккумуляторной батареи высоко, во избежание ее повреждения ЭБУ распределения питания понижает ток, подаваемый от генератора.

№ DTC Условие обнаружения DTC Неисправный участок
P0516

Выходное напряжение датчика температуры аккумуляторной батареи составляет не более 0,2 В в течение 0,5 с или более при включенном зажигании (IG)

(логика диагностирования за 1 поездку)


  • Датчик тока аккумуляторной батареи в сборе (датчик температуры аккумуляторной батареи)

  • Короткое замыкание в цепи датчика температуры аккумуляторной батареи

  • ЭБУ распределения питания

P0517

Выходное напряжение датчика температуры аккумуляторной батареи составляет не менее 4,8 В в течение 0,5 с или более при включенном зажигании (IG)

(логика диагностирования за 1 поездку)


  • Датчик тока аккумуляторной батареи в сборе (датчик температуры аккумуляторной батареи)

  • Обрыв в цепи датчика температуры аккумуляторной батареи

  • ЭБУ распределения питания

СХЕМА ЭЛЕКТРИЧЕСКИХ СОЕДИНЕНИЙ

См. DTC P1550 (стр. Click here).

ПОСЛЕДОВАТЕЛЬНОСТЬ ПРОВЕРКИ

ПОРЯДОК ВЫПОЛНЕНИЯ


  1. ПРОВЕРЬТЕ ДАТЧИК ТОКА АККУМУЛЯТОРНОЙ БАТАРЕИ В СБОРЕ


    1. A019PFHE01
      Обозначения на рисунке
      *1

      Устройство с неподсоединенным жгутом проводов

      (датчик тока аккумуляторной батареи в сборе)

      Отсоедините провод от отрицательного (-) вывода аккумуляторной батареи.

    2. Отсоедините разъем датчика тока аккумуляторной батареи в сборе.

    3. Измерьте сопротивление в соответствии со значениями, приведенными в таблице ниже.

      Номинальное сопротивление
      Подключение диагностического прибора Условие Заданные условия
      1 (THB) - 4 (E2) 20–30°C (68–86°F) 1,5 – 2,5 кОм
      2 (VC5) - 4 (E2) Всегда 0,1 - 10 кОм
    4. Вновь подсоедините провод к отрицательному (-) выводу аккумуляторной батареи.


    NG
    OK
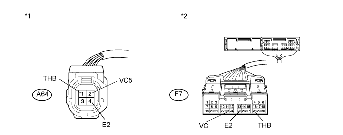
  2. ПРОВЕРЬТЕ ЖГУТ ПРОВОДОВ И РАЗЪЕМ (ДАТЧИК ТОКА АККУМУЛЯТОРНОЙ БАТАРЕИ - ЭБУ РАСПРЕДЕЛЕНИЯ ПИТАНИЯ)


    1. Отсоедините разъем ЭБУ распределения питания.

      A019O44E01
    2. Измерьте сопротивление в соответствии со значениями, приведенными в таблице ниже.

      Номинальное сопротивление (при проверке на обрыв)
      Подключение диагностического прибора Условие Заданные условия
      A64-1 (THB) - F7-28 (THB) Всегда Менее 1 Ом
      A64-2 (VC5) - F7-23 (VC) Всегда Менее 1 Ом
      A64-4 (E2) - F7-25 (E2) Всегда Менее 1 Ом
      Номинальное сопротивление (при проверке на короткое замыкание)
      Подключение диагностического прибора Условие Заданные условия
      A64-1 (THB) или F7-28 (THB) - масса Всегда 10 кОм или более
      A64-2 (VC5) или F7-23 (VC) - масса Всегда 10 кОм или более
      A64-4 (E2) или F7-25 (E2) - масса Всегда 10 кОм или более
      Обозначения на рисунке
      *1

      Вид спереди разъема со стороны жгута проводов:

      (к датчику тока аккумуляторной батареи в сборе)

      *2

      Вид спереди разъема со стороны жгута проводов:

      (к ЭБУ распределения питания)

    3. Подсоедините разъем ЭБУ распределения питания.

    4. Подсоедините разъем датчика тока аккумуляторной батареи в сборе.


    NG
    OK