СИСТЕМА БЛОКИРОВКИ РУЛЕВОГО УПРАВЛЕНИЯ, Diagnostic DTC:B2782

Код DTC Наименование DTC
B2782 Неисправность ЭБУ распределения питания

ОПИСАНИЕ


Поскольку ЭБУ блокировки рулевого управления (привод блокировки рулевого управления в сборе) не подключен к мультиплексной шине CAN, данные диагностики ЭБУ блокировки рулевого управления (приводом блокировки рулевого управления в сборе) передаются в портативный диагностический прибор через ЭБУ сертификации (ЭБУ электронного ключа зажигания в сборе).

№ DTC Условие обнаружения DTC Неисправный участок
B2782

Цепь управления электродвигателя блокировки рулевого управления неисправна.

Неисправность цепи питания IGE


  • ЭБУ блокировки рулевого управления (привод блокировки рулевого управления в сборе)

  • ЭБУ распределения питания

  • Жгут или разъем

СХЕМА СОЕДИНЕНИЙ

A019LYFE03

ПОСЛЕДОВАТЕЛЬНОСТЬ ПРОВЕРКИ

Note


  • Если ЭБУ блокировки рулевого управления (привод блокировки рулевого управления в сборе) заменен, откройте и закройте дверь водителя при выключенном зажигании и рычаге переключения передач в положении P, чтобы сохранить текущее положение замка рулевой колонки в ЭБУ блокировки рулевого управления (приводе блокировки рулевого управления в сборе). Если эта операция не выполнена, двигатель может не запуститься.

  • После замены ЭБУ блокировки рулевого управления (привода блокировки рулевого управления в сборе) необходимо выполнить регистрацию в соответствии с порядком регистрации, описанным в бюллетене технического обслуживания.

Tech Tips

После выключения зажигания главный ЭБУ кузова может перейти в неактивное состояние, называемое также режимом ожидания. Поэтому перед проверкой необходимо вывести ЭБУ из режима ожидания следующим образом:

При выключенном зажигании откройте дверь водителя. Затем (пока зажигание все еще выключено) несколько раз откройте и закройте какую-либо дверь с интервалом 1,5 с.

ПОРЯДОК ВЫПОЛНЕНИЯ


  1. ПРОВЕРЬТЕ ЭБУ БЛОКИРОВКИ РУЛЕВОГО УПРАВЛЕНИЯ (ПРИВОД БЛОКИРОВКИ РУЛЕВОГО УПРАВЛЕНИЯ В СБОРЕ)


    1. A019K7ME04
      Обозначения на рисунке
      *1

      Вид спереди разъема со стороны жгута проводов:

      (к ЭБУ блокировки рулевого управления)

      Отсоедините разъем F37 ЭБУ блокировки рулевого управления.

    2. Измерьте сопротивление в соответствии со значениями, приведенными в таблице ниже.

      Номинальное сопротивление
      Контакты для подключения диагностического прибора Условие Заданные условия
      F37-1 (GND) - масса Всегда Менее 1 Ом
    3. A019MEUE06
      Обозначения на рисунке
      *1

      Устройство с подсоединенным жгутом проводов

      (ЭБУ блокировки рулевого управления)

      Подсоедините разъем F37 ЭБУ блокировки рулевого управления.

    4. Измерьте напряжение в соответствии со значениями, приведенными в таблице.

      Номинальное напряжение
      Контакты для подключения диагностического прибора Условие Заданные условия
      F37-3 (IGE) - F37-1 (GND)

      Заданные условия проверяются после выполнения следующих действий:


      1. Выключите зажигание.

      2. Зажигание включено (ACC или IG).


      • Электродвигатель вращается: Менее 1 В

      • Электродвигатель не вращается: 10 - 12 В

      F37-3 (IGE) - F37-1 (GND)

      Заданные условия проверяются после выполнения следующих действий:


      1. Установите рычаг переключения передач в положение P

      2. Выключите зажигание.

      3. Откройте дверь водителя


      • Электродвигатель вращается: Менее 1 В

      • Электродвигатель не вращается: 10-14 В

      Tech Tips

      Когда механизм блокировки рулевого управления приводится в действие, и зажигание включено (IG), электродвигатель блокировки рулевого управления начинает вращаться, разблокируя рулевое управление. Двигатель работает в течение 2-15 секунд.


    NG
    OK
  2. УДАЛИТЕ DTC


    1. Сбросьте DTC (см. стр. Click here).

    2. Отсоедините и подсоедините провод отрицательного (-) вывода аккумуляторной батареи, чтобы удалить данные о неисправностях (Power Supply Open).


    ДАЛЕЕ
  3. СНИМИТЕ ПОКАЗАНИЯ ПОРТАТИВНОГО ДИАГНОСТИЧЕСКОГО ПРИБОРА (POWER SUPPLY OPEN)


    1. Проверьте коды DTC (см. стр. Click here).

    2. Используя режим Data List, убедитесь, что управление блокировкой рулевого управления осуществляется надлежащим образом.

      Entry & Start (посадка и запуск)
      Информация на дисплее прибора Измеряемая величина / диапазон измерения Нормальное состояние Замечание по диагностике
      Power Supply Open

      Регистрация обрыва в ЭБУ /

      NG (предыдущий) или OK

      NG (Past): обрыв в ЭБУ

      ОК: неисправность отсутствует

      -
      Результат
      Результат Следующий шаг

      • Код B2782 не выводится.

      • На экране портативного диагностического прибора отображается значение "OK".

      А

      • B2782 выводится.

      • На экране портативного диагностического прибора отображается значение "NG (Past)".

      B

    B
    А
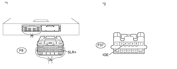
  4. ПРОВЕРЬТЕ ЖГУТ ПРОВОДОВ И РАЗЪЕМ (ЭБУ БЛОКИРОВКИ РУЛЕВОГО УПРАВЛЕНИЯ – ЭБУ РАСПРЕДЕЛЕНИЯ ПИТАНИЯ И МАССА)


    1. Отсоедините разъем F8 ЭБУ распределения питания.

      A019KJPE05
    2. Отсоедините разъем F37 ЭБУ блокировки рулевого управления.

    3. Измерьте сопротивление в соответствии со значениями, приведенными в таблице ниже.

      Номинальное сопротивление
      Контакты для подключения диагностического прибора Условие Заданные условия
      F37-3 (IGE) - F8-8 (SLR+) Всегда Менее 1 Ом
      F37-3 (IGE) или F8-8 (SLR+) - масса Всегда 10 кОм или более
      Обозначения на рисунке
      *1

      Вид сзади разъема со стороны жгута проводов

      (к ЭБУ распределения питания)

      *2

      Вид спереди разъема со стороны жгута проводов:

      (к ЭБУ блокировки рулевого управления)

      Результат
      Результат Следующий шаг
      NG А
      OK (для моделей с левосторонним рулевым управлением) B
      OK (для моделей с правосторонним рулевым управлением) C

    B
    C
    А