ПЕДАЛЬ ТОРМОЗА (для моделей с правосторонним рулевым управлением) РЕГУЛИРОВКА


  1. ПРОВЕРЬТЕ И ОТРЕГУЛИРУЙТЕ ВЫСОТУ ПЕДАЛИ ТОРМОЗА


    1. Проверьте высоту педали тормоза.


      1. Отогните коврик.

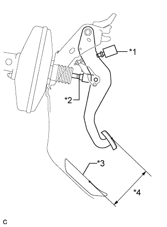
      2. A019OGQE01
        Обозначения на рисунке
        *1 Выключатель стоп-сигналов в сборе
        *2 Контргайка вилки штока
        *3 Изолятор переднего щитка № 2
        *4 Высота педали

        Измерьте минимальное расстояние между поверхностью педали тормоза и изолятором панели приборов № 2.

        Высота педали от изолятора панели приборов № 2
        Педаль тормоза Технические характеристики
        для моделей без педали с алюминиевой накладкой 156,1 - 166,1 мм (6,15 - 6,54 дюйма)
        для моделей с алюминиевой накладкой педали 158,0–168,0 мм (6,22–6,61 дюйм.)
    2. Отрегулируйте высоту педали тормоза.


      1. Снимите нижнюю крышку панели приборов № 1 (см. стр. Click here).

      2. Снимите выключатель стоп-сигналов в сборе (см. стр. Click here).

      3. Ослабьте контргайку вилки штока.

      4. Отрегулируйте высоту педали тормоза, поворачивая шток.

        Высота педали от изолятора панели приборов № 2
        Педаль тормоза Технические характеристики
        для моделей без педали с алюминиевой накладкой 156,1 - 166,1 мм (6,15 - 6,54 дюйма)
        для моделей с алюминиевой накладкой педали 158,0–168,0 мм (6,22–6,61 дюйм.)
      5. Затяните контргайку вилки штока.

        Torque:
        26 Н*м  { 265 кгс*см, 19 фунт-сила-футов }
      6. Установите и отрегулируйте выключатель стоп-сигналов в сборе (см. стр. Click here).

        Note

        Не нажимайте педаль тормоза.

      7. Установите нижнюю крышку панели приборов № 1 (см. стр. Click here).

  2. ПРОВЕРЬТЕ СВОБОДНЫЙ ХОД ПЕДАЛИ ТОРМОЗА


    1. A019NO9E01

      Выключите двигатель. Несколько раз нажав на педаль тормоза, добейтесь, чтобы в усилителе тормозной системы не осталось разрежения. Отпустите педаль тормоза.

    2. Нажимайте на педаль до тех пор, пока не почувствуете небольшое сопротивление. Замерьте расстояние, как показано на рисунке.

      Свободный ход педали тормоза
      1,0 - 6,0 мм (0,0394 - 0,236 дюйма)

      Если свободный ход педали не соответствует заданному, проверьте зазор выключателя стоп-сигналов (см. стр. Click here). Если свободный ход педали соответствует заданному, перейдите к процедуре "Проверьте остаточный ход педали тормоза".

  3. ПРОВЕРЬТЕ ОСТАТОЧНЫЙ ХОД ПЕДАЛИ ТОРМОЗА

    Tech Tips

    Измерьте расстояние в той же точке, которая использовалась для проверки высоты педали тормоза.


    1. Отпустите педаль стояночного тормоза.

    2. Нажмите на педаль тормоза при работающем двигателе и измерьте остаточный ход педали.

      Остаточный ход педали от изолятора панели приборов № 2 при 500 Н (51 кгс, 112 фунт-силы)
      Педаль тормоза Технические характеристики
      для моделей без педали с алюминиевой накладкой Более 89,2 мм (3,51 дюйм.)
      для моделей с алюминиевой накладкой педали Более 90,7 мм (3,57 дюйм.)

      Если расстояние не соответствует указанному, выполните поиск и устранение неисправностей тормозной системы (см. стр. Click here).